TOP
|
特許
|
意匠
|
商標
特許ウォッチ
Twitter
他の特許を見る
10個以上の画像は省略されています。
公開番号
2025114115
公報種別
公開特許公報(A)
公開日
2025-08-05
出願番号
2024008590
出願日
2024-01-24
発明の名称
トレイシール機及びトレイパックの製造方法
出願人
CKD株式会社
代理人
個人
主分類
B65B
57/04 20060101AFI20250729BHJP(運搬;包装;貯蔵;薄板状または線条材料の取扱い)
要約
【課題】トレイパックに基づき、該トレイパックが配置されていたシールポジションを遡って特定することができるトレイシール機などを提供する。
【解決手段】複数のシールポジションP1~P4に配置された複数のトレイ3にカバーフィルムを取着するシールシステム13に対し、通常、1単位供給長さのカバーフィルム材料51が供給される。カバーフィルム材料51には、シールポジションP1~P4を示すポジション情報が設けられる。カバーフィルム材料51において印刷部の不良や継ぎ目部分が検出された場合、不良の印刷部などを含む1単位供給長さのカバーフィルム材料51を飛ばして、次の1単位供給長さL1のカバーフィルム材料51がシールシステム51に供給される。これにより、カバーフィルム材料51に係るシールポジションP1~P4と、シールシステム13に係るシールポジションP1~P4とをより確実に一致させる。
【選択図】 図4
特許請求の範囲
【請求項1】
内容物が収容されたトレイに対しカバーフィルムを取着してなるトレイパックを製造するためのトレイシール機であって、
帯状のカバーフィルム材料を切断して前記カバーフィルムを得るとともに、前記カバーフィルム材料の搬送方向に沿って並ぶ複数のシールポジションに配置された複数の前記トレイのそれぞれに対し該カバーフィルムを取着するシール手段と、
前記シール手段に対し前記カバーフィルム材料を供給する材料供給手段と、
前記カバーフィルム材料の搬送経路に沿って前記シール手段よりも上流に配設され、前記カバーフィルム材料に対し印刷処理を行うことで、前記カバーフィルム材料に印刷部を設ける印刷手段と、
前記カバーフィルム材料の搬送経路に沿って前記印刷手段よりも下流かつ前記シール手段よりも上流に配設され、前記印刷部に係る良否判定を行う印刷検査手段とを備え、
前記カバーフィルム材料における前記カバーフィルムとなる部位には、前記シールポジションを示す情報であるポジション情報が設けられ、
前記材料供給手段は、
常には、前記カバーフィルム材料に設けられた前記ポジション情報が示す前記シールポジションと、前記シール手段に係る前記シールポジションとが一致するようにして、前記シールポジションの数と同数の前記トレイに対応する長さである1単位供給長さの前記カバーフィルム材料を前記シール手段に対し間欠的に供給する一方、
前記印刷検査手段により前記印刷部の不良判定がなされた場合には、不良判定の対象となった前記印刷部を含む前記1単位供給長さの前記カバーフィルム材料を飛ばし、次の前記1単位供給長さの前記カバーフィルム材料に付与された前記ポジション情報が示す前記シールポジションと、前記シール手段に係る前記シールポジションとが一致するようにして、次の前記1単位供給長さの前記カバーフィルム材料を前記シール手段に対し供給するように構成されていることを特徴とするトレイシール機。
続きを表示(約 3,000 文字)
【請求項2】
前記印刷手段は、前記カバーフィルム材料に対し前記ポジション情報を印刷する機能を有し、
前記カバーフィルム材料の搬送経路に沿って前記印刷手段よりも上流に配設され、前記1単位供給長さに関係する間隔で前記カバーフィルム材料に予め付されたマークを検出するマーク検出手段と、
前記マーク検出手段による検出結果に基づき、前記印刷手段により印刷される前記印刷部の位置を制御する印刷制御手段とを備えることを特徴とする請求項1に記載のトレイシール機。
【請求項3】
前記カバーフィルム材料の搬送経路に沿って前記印刷検査手段よりも下流かつ前記シール手段よりも上流に配設され、前記マークを検出する第二マーク検出手段を備え、
前記材料供給手段は、前記第二マーク検出手段による検出結果を利用して、前記シール手段に対する前記カバーフィルム材料の供給を行うように構成されていることを特徴とする請求項2に記載のトレイシール機。
【請求項4】
前記印刷手段は、前記印刷検査手段により前記印刷部の不良判定がなされた場合、不良判定の対象となった不良部分を含む前記1単位供給長さの前記カバーフィルム材料に対する以降の印刷処理を中止可能に構成されていることを特徴とする請求項1に記載のトレイシール機。
【請求項5】
内容物が収容されたトレイに対しカバーフィルムを取着してなるトレイパックを製造するためのトレイシール機であって、
帯状のカバーフィルム材料を切断して前記カバーフィルムを得るとともに、前記カバーフィルム材料の搬送方向に沿って並ぶ複数のシールポジションに配置された複数の前記トレイのそれぞれに対し該カバーフィルムを取着するシール手段と、
前記シール手段に対し前記カバーフィルム材料を供給する材料供給手段と、
前記カバーフィルム材料の搬送経路に沿って前記シール手段よりも上流に配設され、搬送中の前記カバーフィルム材料の終端部と、次に搬送される前記カバーフィルム材料の始端部との継ぎ目部分を検出する継ぎ目検出手段とを備え、
前記カバーフィルム材料における前記カバーフィルムとなる部位には、前記シールポジションを示す情報であるポジション情報が設けられ、
前記材料供給手段は、
常には、前記カバーフィルム材料に付与された前記ポジション情報が示す前記シールポジションと、前記シール手段に係る前記シールポジションとが一致するようにして、前記シールポジションの数と同数の前記トレイに対応する長さである1単位供給長さの前記カバーフィルム材料を前記シール手段に対し間欠的に供給する一方、
前記継ぎ目検出手段により前記継ぎ目部分が検出された場合には、前記継ぎ目部分を含む前記1単位供給長さの前記カバーフィルム材料を飛ばし、次の前記1単位供給長さの前記カバーフィルム材料に付与された前記ポジション情報が示す前記シールポジションと、前記シール手段に係る前記シールポジションとが一致するようにして、次の前記1単位供給長さの前記カバーフィルム材料を前記シール手段に対し供給するように構成されていることを特徴とするトレイシール機。
【請求項6】
内容物が収容されたトレイに対しカバーフィルムを取着してなるトレイパックを製造するためのトレイパックの製造方法であって、
所定のシール手段によって、帯状のカバーフィルム材料を切断して前記カバーフィルムを得るとともに、前記カバーフィルム材料の搬送方向に沿って並ぶ複数のシールポジションに配置された複数の前記トレイのそれぞれに対し該カバーフィルムを取着するシール工程と、
前記シール手段に対し前記カバーフィルム材料を供給する材料供給工程と、
前記カバーフィルム材料の搬送経路に沿って前記シール手段よりも上流に配設された印刷手段によって、前記カバーフィルム材料に対し印刷処理を行うことで、前記カバーフィルム材料に印刷部を設ける印刷工程と、
前記カバーフィルム材料の搬送経路に沿って前記印刷手段よりも下流かつ前記シール手段よりも上流に配設された印刷検査手段によって、前記印刷部に係る良否判定を行う印刷検査工程とを含み、
前記カバーフィルム材料における前記カバーフィルムとなる部位には、前記シールポジションを示す情報であるポジション情報が設けられ、
前記材料供給工程では、
常には、前記カバーフィルム材料に付与された前記ポジション情報が示す前記シールポジションと、前記シール手段に係る前記シールポジションとが一致するようにして、前記シールポジションの数と同数の前記トレイパックに対応する長さである1単位供給長さの前記カバーフィルム材料を前記シール手段に対し間欠的に供給する一方、
前記印刷検査工程により前記印刷部の不良判定がなされた場合には、不良判定の対象となった前記印刷部を含む前記1単位供給長さの前記カバーフィルム材料を飛ばし、次の前記1単位供給長さの前記カバーフィルム材料に付与された前記ポジション情報が示す前記シールポジションと、前記シール手段に係る前記シールポジションとが一致するようにして、次の前記1単位供給長さの前記カバーフィルム材料を前記シール手段に対し供給することを特徴とするトレイパックの製造方法。
【請求項7】
内容物が収容されたトレイに対しカバーフィルムを取着してなるトレイパックを製造するためのトレイパックの製造方法であって、
所定のシール手段によって、帯状のカバーフィルム材料を切断して前記カバーフィルムを得るとともに、前記カバーフィルム材料の搬送方向に沿って並ぶ複数のシールポジションに配置された複数の前記トレイのそれぞれに対し該カバーフィルムを取着するシール工程と、
前記シール手段に対し前記カバーフィルム材料を供給する材料供給工程と、
前記カバーフィルム材料の搬送経路に沿って前記シール手段よりも上流に配設された継ぎ目検出手段によって、搬送中の前記カバーフィルム材料の終端部と、次に搬送される前記カバーフィルム材料の始端部との継ぎ目部分を検出する継ぎ目検出工程とを含み、
前記カバーフィルム材料における前記カバーフィルムとなる部位には、前記シールポジションを示す情報であるポジション情報が設けられ、
前記材料供給工程では、
常には、前記カバーフィルム材料に付与された前記ポジション情報が示す前記シールポジションと、前記シール手段に係る前記シールポジションとが一致するようにして、前記シールポジションの数と同数の前記トレイに対応する長さである1単位供給長さの前記カバーフィルム材料を前記シール手段に対し間欠的に供給する一方、
前記継ぎ目検出工程により前記継ぎ目部分が検出された場合には、前記継ぎ目部分を含む前記1単位供給長さの前記カバーフィルム材料を飛ばし、次の前記1単位供給長さの前記カバーフィルム材料に付与された前記ポジション情報が示す前記シールポジションと、前記シール手段に係る前記シールポジションとが一致するようにして、次の前記1単位供給長さの前記カバーフィルム材料を前記シール手段に対し供給することを特徴とするトレイパックの製造方法。
発明の詳細な説明
【技術分野】
【0001】
本発明は、内容物が収容されたトレイに対しカバーフィルムが取着されてなるトレイパックを製造するためのトレイシール機、及び、トレイパックの製造方法に関する。
続きを表示(約 2,100 文字)
【背景技術】
【0002】
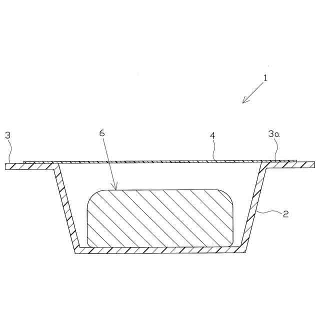
従来、各種食品などは、樹脂製の容器に入れられた上で、輪ゴム等により、この容器に樹脂製の蓋を止めた状態で販売されることが多い。一方、近年では、消費期限の延長や食品廃棄量の削減、樹脂使用量の低減などを図るべく、食品等の内容物を収容可能なトレイと、該トレイに取着されたカバーフィルムとを備え、トレイ内を密封状態としたトレイパックの採用が増えている。
【0003】
トレイパックは、トレイシール機によって製造することができる。トレイシール機は、例えば、印刷装置や材料継ぎ装置、シール装置などを備えている。印刷装置は、シール装置よりも上流にて、搬送される帯状のカバーフィルム材料に対し所定の印刷部を形成する。材料継ぎ装置は、搬送中のカバーフィルム材料の終端部と次のカバーフィルム材料の始端部とを自動的に接続し、シール装置に対するカバーフィルム材料の連続供給を可能とする。シール装置は、カバーフィルム材料を切断してカバーフィルムを得るとともに、トレイに対し該カバーフィルムを取着する機能などを有する。
【0004】
印刷装置を備えたトレイシール機としては、印刷部の不良を原因とした不良品のトレイパックの製造防止を可能としたものが知られている(例えば、特許文献1等参照)。このトレイシール機は、印刷装置によって形成された印刷部(印字)を検査するための印刷検査装置(印字検査装置)を備えており、該印刷検査装置によって印刷部の不良が検出された場合には、カバーフィルム材料における印刷不良部分がトレイに取着されないように、シール装置に対するカバーフィルム材料の供給を制御する。より詳しくは、このトレイシール機は、シール装置に対しカバーフィルム材料を通常量だけ供給してしまうと、カバーフィルム材料における印刷不良部分がシール装置に対応する位置で停止して、そのままトレイに取着されてしまうような場合、印刷不良部分がシール装置を通過してシール装置よりも下流側に搬送されるように、シール装置に対するカバーフィルム材料の供給を制御する。
【0005】
また、シール装置は、トレイに対しカバーフィルムを取着するための加熱プレートなどを備えている。シール装置としては、カバーフィルム材料の搬送方向に沿って並ぶ複数のシールポジションごとに加熱プレートを備え、これら加熱プレートを利用して、各シールポジションに配置された複数のトレイのそれぞれに対しカバーフィルムを一度に取着するものがある。
【0006】
ところで、製造されたトレイパックにおいて、シール装置に起因する不具合(例えば、シール不良やカバーフィルム材料の切断に係る外観不良など)が発生することがある。このような不具合が発生した場合には、シール装置における不具合の発生原因を特定するとともに、この発生原因を解消するための処置を行う必要がある。ここで、複数のトレイに対しカバーフィルムを一度に取着するシール装置は、通常、大型かつ複雑なものであるため、このようなシール装置において不具合の発生原因を特定することは決して容易ではない。
【0007】
そこで、不具合の発生原因を比較的容易に特定可能とするために、加熱プレートごとに異なる隆起部分を設ける技術が提案されている(例えば、特許文献2等参照)。この技術では、加熱された隆起部分がトレイに押圧されることによって、トレイパックに対し、該トレイパックの製造に用いた加熱プレートを識別するための識別子が形成される。そして、不良品のトレイパックが製造された場合には、該トレイパックに形成された識別子から、該トレイパックの製造に用いた加熱プレートを遡って特定することが可能となる。
【先行技術文献】
【特許文献】
【0008】
特開2023-78033号公報
特表2013-515654号公報
【発明の概要】
【発明が解決しようとする課題】
【0009】
しかしながら、上記技術では、隆起部分の影響により、トレイに対しカバーフィルムを適切に取着することが難しく、シール不良が生じやすくなるおそれがある。
【0010】
また、シール装置は、加熱プレートのみで成り立っているものではなく、加熱プレートを受けるための受け部や、トレイ及びカバーフィルムの挟み込み圧力を調節するための調節手段、カバーフィルム材料を切断するためのカッタなどの各種機器を備えたものである。従って、不具合の発生原因を特定するためには、加熱プレートの特定ではなく、シールポジションの特定が必要となる。この点、加熱プレートは、通常、どのシールポジションにも配置可能に構成されているから、別ポジションに配置されることを鑑みると、上記技術では、不良品のトレイパックが製造されたときに、そのトレイパックがどのシールポジションに配置されていたのかを特定することができない。
(【0011】以降は省略されています)
この特許をJ-PlatPat(特許庁公式サイト)で参照する
関連特許
CKD株式会社
把持装置
3か月前
CKD株式会社
把持装置
3日前
CKD株式会社
流体制御弁
1か月前
CKD株式会社
昇降助力装置
10日前
CKD株式会社
アーム型助力装置
26日前
CKD株式会社
パルスエア発生装置
26日前
CKD株式会社
シート情報確認システム
4日前
CKD株式会社
噴出ヘッドの流速検査装置
3日前
CKD株式会社
栽培装置、及び栽培システム
3日前
株式会社荏原製作所
温度制御システム
2か月前
CKD株式会社
シール手段異常検出システム及びブリスタ包装機
2か月前
個人
束ね具
27日前
個人
収容箱
4か月前
個人
コンベア
6か月前
個人
段ボール箱
8か月前
個人
段ボール箱
8か月前
個人
容器
10か月前
個人
ゴミ収集器
8か月前
個人
バンド
3か月前
個人
土嚢運搬器具
9か月前
個人
角筒状構造体
6か月前
個人
宅配システム
8か月前
個人
楽ちんハンド
6か月前
個人
テープ引出機
27日前
個人
包装容器
2か月前
個人
お薬の締結装置
7か月前
個人
閉塞装置
11か月前
個人
コード類収納具
9か月前
個人
棒状体収容容器
1か月前
個人
廃棄物収容容器
4か月前
個人
積み重ね用補助具
4か月前
株式会社和気
包装用箱
1か月前
個人
蓋閉止構造
5か月前
個人
蓋閉止構造
5か月前
個人
ゴミ処理機
10か月前
株式会社コロナ
梱包材
6か月前
続きを見る
他の特許を見る