TOP
|
特許
|
意匠
|
商標
特許ウォッチ
Twitter
他の特許を見る
公開番号
2025126088
公報種別
公開特許公報(A)
公開日
2025-08-28
出願番号
2024022473
出願日
2024-02-18
発明の名称
省エネ改良型油圧リバースブースター
出願人
個人
代理人
主分類
F15B
11/00 20060101AFI20250821BHJP(流体圧アクチュエータ;水力学または空気力学一般)
要約
【課題】油圧ジャッキ等を作動させるために必要な力を削減して、物の昇降等に必要なエネルギーを削減する省エネ型の油圧機器を提供する。
【解決手段】3台の油圧シリンダ1、2、3とばね4、ピストンロッドを連動させるための連結ロッド5等をユニットにして、ばね4と1台の油圧シリンダ2を2台の油圧シリンダ1、3のピストンロッドを押し戻す方向に力がかかるように組込み、切替バルブと開閉バルブを介して油圧回路を組み、油圧ポンプ7で1次側で油圧を発生させると2次側の油圧ジャッキ8等に油圧を加えたり、逆に抜いたりと既存の油圧機器の作動システムを正逆切替運転できるようにした。
【選択図】図3
特許請求の範囲
【請求項1】
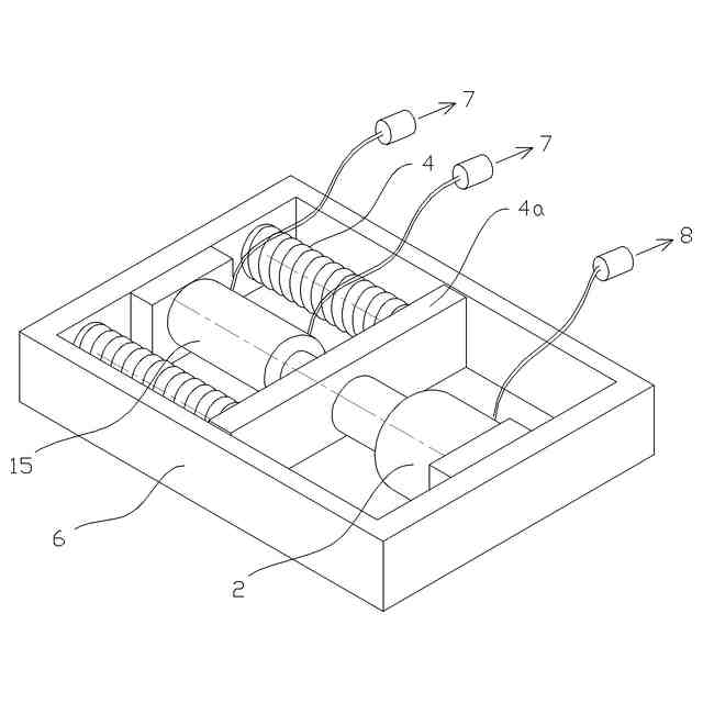
3台の油圧シリンダ(1)(2)(3)、或いは油圧シリンダ(1)と(3)を1台の復動油圧シリンダに置換えた場合は2台の油圧シリンダ(2)(15)、と圧縮ばね(4)、油圧シリンダのピストンロッド(1a)(2a)を連動させるための連結ロッド(5)にそれらを組込むためのフレーム(6)と、油圧シリンダ(1)(2)(3)を既存の油圧ポンプ(7)や油圧ジャッキ(8)等と接続するための切替バルブ(12) と開閉バルブ(13)(14)等を主な構成要素として、
圧縮ばね(4)と油圧シリンダ(3)を油圧シリンダのピストンロッド(2a)を押し戻す方向に力がかかるように組込み、油圧シリンダ(1)と(3)は切替バルブ(12)を介して油圧ポンプ(7)と接続し、油圧シリンダ(2)は開閉バルブ(14)を介して油圧ジャッキ(8)等と接続し、
開閉バルブ(13)を閉、(14)を開の状態で、切替バルブ(12)で油圧シリンダ(1)と油圧ポンプ(7)を接続した場合、油圧ポンプのリリーフバルブ(7a)を開いて油圧シリンダ(1)の油圧を下げると、圧縮ばね(4)の力で油圧シリンダ(2)から油圧を発生して油圧ジャッキ(8)等に加圧し、逆に油圧ポンプ(7)で油圧を発生させると油圧シリンダ(1)が圧縮ばね(4)を押し縮めて油圧シリンダ(2)で発生させた油圧を下げるようにして、既存の油圧機器の作動システムを逆転させ、
また、切替バルブ(12)で油圧シリンダ(3)と油圧ポンプ(7)を接続した場合、油圧ポンプ(7)で油圧を発生させると圧縮ばね(4)の力と合わさって油圧シリンダ(2)から油圧を発生して油圧ジャッキ(8)等に加圧し、リリーフバルブ(7a)を開くと油圧シリンダ(2)で発生した油圧が下がって油圧ジャッキ(8)等の油圧も下がる通常の作動システムになり、
切替バルブ(12)と開閉バルブ(13)(14)を介して、既存の油圧回路に並列に回路を追加して組込むことにより、1次側の油圧ポンプ(7)で油圧を発生させると2次側の油圧ジャッキ(8)等に油圧を加えることも抜くこともできるようになり、
既存の油圧機器の作動システムを正逆切り替えて運転できるようにした、ことを特徴とする油圧機器、機構。
続きを表示(約 390 文字)
【請求項2】
既存の油圧リフト(10)の配管に接続し、ばねの力だけで積載物を最高点まで持ち上げられるようにバランス設定して、
荷台にフロートレバー(11)を取付けて既存の油圧ポンプのリリーフバルブ(7a)とワイヤー(11a)で連動させて、作動システムを逆転の状態にしておくと、フロートレバー(11)が作動してリリーフバルブ(7a)が開くと、
或いは荷台にフロートが浮くと油圧回路が開くようにしたフロートバルブを取付けて、油圧ジャッキ(8)と油圧シリンダ(2)との間の開閉バルブ(14)を挟んでバイパス接続して、切替バルブ(12)をニュートラルの位置にし、開閉バルブ(14)を閉にしておくと、そのフロートバルブの作動によりバイパス回路を開いて、
油圧ジャッキ(8)に油圧を加えて荷台が自動的に上昇するようにした、
請求項1の油圧機器、機構。
発明の詳細な説明
【技術分野】
【0001】
本発明は、油圧機器等に油圧を与えて作動させる油圧機器、機構に関するものである。
続きを表示(約 2,000 文字)
【背景技術】
【0002】
従来の油圧システムでは油圧ジャッキや油圧シリンダ等油圧機器は、概ね1次側の油圧ポンプ等で油圧を発生させると、2次側の機器の油圧が上がって物を持ち上げる等の作動をし、リリーフバルブ等で1次側の油圧を下げると、2次側の機器の油圧も下がって持ち上げた物を降ろすような作動をする機構になっている。
【先行技術文献】
【特許文献】
【0003】
特許第7156752号広報
特許第7185373号広報
【非特許文献】
【0004】
なし
【発明の概要】
【発明が解決しようとする課題】
【0005】
従来の油圧システムで油圧ジャッキ等で物を持ち上げてその下で作業をしている時に、油圧ポンプのリリーフバルブを誤操作等で油圧を抜いてしまうと、持ち上げた物が下がってきて作業者が下敷きになったり、手足を挟まれたりする事故を起こす恐れがある。
【0006】
また物を持ち上げるために必要な油圧ジャッキ等に発生させる力は、物の全重量を持ち上げるのに必要な力を油圧ポンプで発生させなければならず、また油圧を抜いて物を下ろすとそれまで物を持ち上げるために発生させたエネルギーを失い、物を昇降させる度に毎回物の全重量を持ち上げるために必要なエネルギーを発生させる必要がある。
【0007】
上記の課題を解決するために、特許文献1の油圧リバースブースターにて、
2台の油圧シリンダとばね、油圧シリンダのピストンロッドを連動させるための連結ロッドにそれらを組込むためのフレーム等を主な構成要素として一組のユニットにして、
ばねを油圧シリンダのピストンロッドを押し戻す方向に力がかかるように組込み、片方の油圧シリンダは油圧ポンプと接続し、もう一方の油圧シリンダは油圧ジャッキ等と接続し、油圧ポンプのリリーフバルブを開くと油圧シリンダの油圧が下がり、ばねの力でもう一方の油圧シリンダから油圧を発生して油圧ジャッキ等に加圧し、逆に油圧ポンプで油圧を発生させると油圧シリンダがばねを押し縮めて、もう一方の油圧シリンダで発生させた油圧を下げるようにして、既存の油圧機器の作動システムを逆転させるようにした装置を発案したが、この装置の機構の場合、2次側の油圧ジャッキ等の油圧を上げるには1次側の油圧ポンプの油圧を抜いてばねの力のみで油圧を上げる仕組みになっていた。
【0008】
本発明は、駆動される油圧機器本体の機構を変更や改造することなく、油圧ポンプのリリーフバルブを誤操作して油圧が抜けても、持ち上げている物が下がってきて下敷きになる恐れのない下敷き事故防止と、作動させるのに必要な力を従来の油圧機器に比べ大きく削減して、積載物を昇降させたりするのに必要なエネルギーを削減する省エネ型の油圧装置である特許文献1の油圧リバースブースターに、1次側の油圧を上げると2次側の油圧も上がる従来の油圧システムの機能も追加して、正逆切り替えて運転できるようにして、さらに使い勝手がよく省エネ効果を高めることを目的とした。
【課題を解決するための手段】
【0009】
上記の課題を解決するための手段は、特許文献1の油圧リバースブースターのピストンロッドがばねを押し縮める方向に力が加わるように組込みこまれた2台の油圧シリンダに加え、逆にピストンロッドがばねを伸ばす方向に力が加わるようにもう1台油圧シリンダを組込み、切替バルブを介して油圧ポンプで1次側で油圧を発生させると2次側の油圧ジャッキ等に油圧を加えたり、逆に抜いたりと既存の油圧機器の作動システムを正逆の両方に切り替えて運転できるように機能を追加改良した。
【発明の効果】
【0010】
油圧機器の作動システムを逆転するシステムに加え、通常の作動システムも使えるように機能を追加改良したことにより、油圧リフト等昇降装置に利用する場合、ばねの力と積載物の重量とが釣り合う高さを、特許文献1の油圧リバースブースターでは揚程の最高点に設定する必要があったが、それを揚程の中間付近に設定することができるようになり、下から釣り合い高さまでは1次側の油圧を抜けばばねの力のみで持ち上がり、そこからさらに上へはばねの力と合わせてポンプで僅かな油圧を発生させて持ち上げることができ、降ろすときは逆に1次側の油圧を抜くと釣り合い高さまでは自重で下がり、そこからさらに下へはばねの力と積載物の重量とを相殺した力の分だけポンプで油圧を発生させれば降ろすことができるようになり、さらに使い勝手がよく省エネ効果を高めることが可能となる。
【図面の簡単な説明】
(【0011】以降は省略されています)
この特許をJ-PlatPat(特許庁公式サイト)で参照する
関連特許
株式会社豊田自動織機
流体圧シリンダ
3か月前
株式会社不二越
電磁切替弁
3か月前
三和テッキ株式会社
油圧アクチュエータ
2か月前
SMC株式会社
増圧装置
1か月前
個人
省エネ改良型油圧リバースブースター
3か月前
日立建機株式会社
作業機械
2か月前
日立建機株式会社
作業機械
2か月前
株式会社右川ゴム製造所
流体圧アクチュエータ
今日
CKD株式会社
パルスエア発生装置
29日前
ナブテスコ株式会社
方向切換弁装置
1か月前
株式会社WGE
増圧装置
1か月前
カヤバ株式会社
流体圧制御装置
2か月前
日立建機株式会社
油圧システム
2か月前
インペリアルテクノサービス株式会社
二段シリンダ
13日前
株式会社クボタ
作業機及び作業機の制御方法
2か月前
日立建機株式会社
分別回収システム
2か月前
ジック アーゲー
磁気又は誘導センサ
1か月前
日立建機株式会社
制御弁装置および作業機械
3か月前
三輪精機株式会社
油圧アクチュエータ駆動装置
8日前
国立大学法人東京科学大学
アクチュエータシステム
2日前
極東開発工業株式会社
コンクリートポンプ装置
3か月前
株式会社ブリヂストン
流体圧アクチュエータ
3か月前
株式会社東京精密
三位置制御装置、及び、三位置制御方法
2か月前
カヤバ株式会社
インレットブロック及びバルブ装置
2か月前
株式会社小松製作所
油圧駆動システムおよび油圧駆動方法
2か月前
キャタピラー エス エー アール エル
流体圧制御回路および作業機械
13日前
コベルコ建機株式会社
油圧駆動装置及びこれを備えた作業機械
3か月前
愛三工業株式会社
アクチュエータ、バルブ及びサーモスイッチ
1か月前
キャタピラー エス エー アール エル
建設機械の油圧回路
1か月前
川崎重工業株式会社
油圧ショベルの油圧システムおよびブーム制御弁
2か月前
日立GEベルノバニュークリアエナジー株式会社
先端伸長機構
1か月前
国立大学法人東海国立大学機構
能動体、能動体の製造方法および能動体の作動方法
6日前
ハーヴェー ハイドローリック エスイー
冷却循環路を備えた液圧システム及び工作機械
2日前
イーグル工業株式会社
流体回路
3か月前
ウィプロ エンタープライズ プライベート リミテッド
重機用アクチュエータ・アセンブリ
7日前
国立大学法人広島大学
作業機械の油圧制御装置
2か月前
続きを見る
他の特許を見る