TOP
|
特許
|
意匠
|
商標
特許ウォッチ
Twitter
他の特許を見る
公開番号
2025176696
公報種別
公開特許公報(A)
公開日
2025-12-04
出願番号
2025082389
出願日
2025-05-16
発明の名称
重機用アクチュエータ・アセンブリ
出願人
ウィプロ エンタープライズ プライベート リミテッド
代理人
弁理士法人浅村特許事務所
主分類
F15B
15/14 20060101AFI20251127BHJP(流体圧アクチュエータ;水力学または空気力学一般)
要約
【課題】制御弁における絞り損失を低減するために、掘削機などの重機用の3つのチャンバを伴うアクチュエータ・アセンブリを提供する。
【解決手段】アクチュエータ・アセンブリ1000は、主シリンダ・アセンブリ1100と、主シリンダ・アセンブリと平行に配置されているプランジャ・シリンダ・アセンブリ1200とを含む。主シリンダ・アセンブリは、複動式シリンダ・アセンブリであり、プランジャ・シリンダ・アセンブリは、単動式シリンダ・アセンブリである。アクチュエータ・アセンブリは、アクチュエータ・アセンブリの負荷要件に基づいて、高圧油圧ライン、中圧油圧ライン、及び低圧油圧ラインのうちの少なくとも1つと選択的に結合されるように適合された3つのチャンバ1102A、1102B、1202Aを含む。アクチュエータ・アセンブリは、制御弁における絞り損失を低減して、それによって重機の全体的な動力消費を低減する。
【選択図】図1A
特許請求の範囲
【請求項1】
重機用のアクチュエータ・アセンブリ(1000)であって、前記アクチュエータ・アセンブリ(1000)が、
主シリンダ(1102)及び前記主シリンダ(1102)内に摺動可能に配置されている主シリンダ・ピストン(1104)を有する、主シリンダ・アセンブリ(1100)と、
前記主シリンダ・アセンブリ(1100)と平行に配置されているプランジャ・シリンダ・アセンブリ(1200)であって、前記プランジャ・シリンダ・アセンブリ(1200)が、プランジャ・シリンダ(1202)及び前記プランジャ・シリンダ(1202)内に摺動可能に配置されているプランジャ・シリンダ・ピストン(1204)を含む、プランジャ・シリンダ・アセンブリ(1200)と、
を備え、
前記主シリンダ・アセンブリ(1100)が、複動式シリンダ・アセンブリであり、前記主シリンダ(1102)が、第1のチャンバ(1102A)及び第2のチャンバ(1102B)を画定し、前記主シリンダ・ピストン(1104)が、前記第1のチャンバ(1102A)を前記第2のチャンバ(1102B)から分離し、
前記プランジャ・シリンダ・アセンブリ(1200)が、単動式シリンダ・アセンブリであり、前記プランジャ・シリンダ(1202)が、その内部に第3のチャンバ(1202A)を画定し、
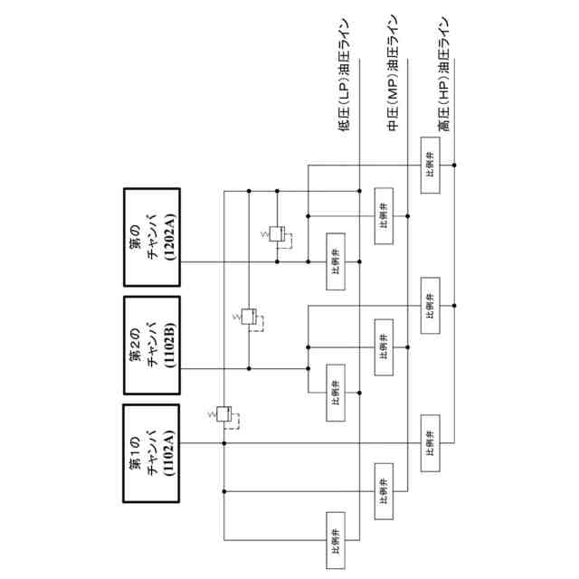
前記第1のチャンバ(1102A)、前記第2のチャンバ(1102B)、及び前記第3のチャンバ(1202A)のそれぞれが、前記アクチュエータ・アセンブリ(1000)の負荷要件に基づいて、高圧(HP)油圧ライン、中圧(MP)油圧ライン、及び低圧油圧ライン(LP)のうちの1つと流体連通して選択的に設けられている、
アクチュエータ・アセンブリ(1000)。
続きを表示(約 4,800 文字)
【請求項2】
前記主シリンダ・アセンブリ(1100)が、
前記主シリンダ(1102)の一端に連結されている主シリンダ・キャップ端カバー(1106)と、
フランジ(1111)を通して前記主シリンダ(1102)の他端に連結されている主シリンダ・ヘッド端カバー(1108)と、
主シリンダ・ロッド・アイ(1110)と、
主シリンダ・ピストン・ロッド(1112)であって、前記主シリンダ・ピストン・ロッド(1112)の一端が、前記主シリンダ・ピストン(1104)に連結されており、前記主シリンダ・ピストン・ロッド(1112)の他端が、前記主シリンダ・ロッド・アイ(1110)に連結されている、主シリンダ・ピストン・ロッド(1112)と、を含む、請求項1に記載のアクチュエータ・アセンブリ(1000)。
【請求項3】
前記プランジャ・シリンダ・アセンブリ(1200)が、
前記プランジャ・シリンダ(1202)の一端に連結されているプランジャ・シリンダ・キャップ端カバー(1206)と、
前記プランジャ・シリンダ(1202)の他端に着脱可能に連結されているプランジャ・シリンダ・ヘッド端カバー(1208)と、
プランジャ・シリンダ・ピストン・ロッド(1212)であって、前記プランジャ・シリンダ・ピストン・ロッド(1212)の一端が、前記プランジャ・シリンダ・ピストン(1204)に連結されており、前記プランジャ・シリンダ・ピストン・ロッド(1212)の他端が、前記主シリンダ・アセンブリ(1100)の前記主シリンダ・ロッド・アイ(1110)に連結されているボール・ソケット継手(1212J)を画定する、プランジャ・シリンダ・ピストン・ロッド(1212)と、を含む、請求項2に記載のアクチュエータ・アセンブリ(1000)。
【請求項4】
前記アクチュエータ・アセンブリ(1000)が、
前記プランジャ・シリンダ・キャップ端カバー(1206)を前記主シリンダ・キャップ端カバー(1106)と連結して、それによって前記主シリンダ・キャップ端カバー(1106)に対して前記プランジャ・シリンダ・アセンブリ(1200)を位置付ける(整列させる)ように適合されている位置決めピン(1216)と、
前記プランジャ・シリンダ・キャップ端カバー(1206)を前記主シリンダ・キャップ端カバー(1106)に係止して、それによって前記プランジャ・シリンダ・アセンブリ(1200)を前記主シリンダ・キャップ端カバー(1106)と係止するように適合されている少なくとも1つの第1の係止要素(1210)であって、前記第1の係止要素(1210)が少なくともボルトである、少なくとも1つの第1の係止要素(1210)と、
前記主シリンダ・キャップ端カバー(1106)に対して前記第1の係止要素(1210)を保持するように適合された第1の保持部材(1214)であって、前記第1の保持部材(1214)が少なくともスナップ・リングである、第1の保持部材(1214)と、を含む、請求項3に記載のアクチュエータ・アセンブリ(1000)。
【請求項5】
前記アクチュエータ・アセンブリ(1000)が、
前記主シリンダ・ロッド・アイ(1110)に対して前記ボール・ソケット継手(1212J)を保持するように適合された第2の保持部材(1218)と、
前記主シリンダ・ロッド・アイ(1110)に対して前記第2の保持部材(1218)を係止するように適合された複数の第2の係止要素(1220)であって、前記第2の係止要素(1220)のそれぞれが少なくともボルトである、複数の第2の係止要素(1220)と、を含む、請求項3に記載のアクチュエータ・アセンブリ(1000)。
【請求項6】
前記プランジャ・シリンダ・アセンブリ(1200)が、前記アクチュエータ・アセンブリ(1000)の位置/ストロークを検出するように適合された直線位置センサ(1222)を含み、
前記直線位置センサ(1222)が、前記プランジャ・シリンダ・ピストン・ロッド(1212)及び前記主シリンダ・ピストン・ロッド(1112)の位置を決定するために磁気ひずみ特性を利用するように構成されており、圧力レールからの要求される流量を順に推定する制御装置(制御システム)に速度フィードバックを送り、
前記プランジャ・シリンダ・キャップ端カバー(1206)が、前記プランジャ・シリンダ(1202)の前記第3のチャンバ(1202A)に対する油圧流体の流入又は流出を容易化するように適合されたプランジャ・シリンダ・キャップ端サイド・ポート(1206P)を画定し、
前記主シリンダ・キャップ端カバー(1106)が、前記主シリンダ(1102)の前記第1のチャンバ(1102A)で油圧流体の流入又は流出を容易化するように適合された主シリンダ・キャップ端サイド・ポート(1106P)を画定し、
前記主シリンダ・アセンブリ(1100)が、油圧流体送達管(1109)を含み、前記管(1109)の一端が、前記主シリンダ・ヘッド端カバー(1108)に連結されており、前記管(1109)の他端が、前記主シリンダ(1102)の前記第2のチャンバ(1102B)に対する油圧流体の流入又は流出を容易化するように適合された主シリンダ・ヘッド端サイド・ポート(1109P)を画定する、請求項3に記載のアクチュエータ・アセンブリ(1000)。
【請求項7】
前記プランジャ・シリンダ・アセンブリ(1200)が、
前記プランジャ・シリンダ・ピストン(1204)に取り付けられるように適合されたプランジャ・シリンダ・ピストン軸受(1205)であって、油圧流体が前記プランジャ・シリンダ・ピストン(1204)の一方の側から前記プランジャ・シリンダ・ピストン(1204)の他方の側へ流れることを可能にするために、前記プランジャ・シリンダ・ピストン軸受(1205)と前記プランジャ・シリンダ・ピストン(1204)との間には間隙が画定されており、前記プランジャ・シリンダ(1202)の前記第3のチャンバ(1202A)が、前記プランジャ・シリンダ・ピストン(1204)の両側からの領域を含む、プランジャ・シリンダ・ピストン軸受(1205)と、
プランジャ・シリンダ・ヘッド端カバー(1208)においてその内側に画定されたブッシュ受入溝によって受け入れられるように適合されたプランジャ・シリンダ・バイメタル・ブッシュ(1207)と、を含み、
前記プランジャ・シリンダ・ピストン軸受(1205)及び前記プランジャ・シリンダ・バイメタル・ブッシュ(1207)が、前記プランジャ・シリンダ・アセンブリ(1200)の側方負荷容量を向上させるように適合されており、
前記プランジャ・シリンダ・バイメタル・ブッシュ(1207)が、前記プランジャ・シリンダ・ピストン・ロッド(1212)の伸長及び収縮中に前記プランジャ・シリンダ・ピストン・ロッド(1212)を案内するように適合されている、請求項1に記載のアクチュエータ・アセンブリ(1000)。
【請求項8】
前記プランジャ・シリンダ・アセンブリ(1200)が、
前記プランジャ・シリンダ・ヘッド端カバー(1208)においてその外側に画定された第1の封止部受入溝によって受け入れられるように適合されており、前記プランジャ・シリンダ(1202)と係合されている少なくとも1つの第1の封止要素(1209)と、
複数の第2の封止要素(1211)であって、前記第2の封止要素(1211)のそれぞれが、前記プランジャ・シリンダ・ヘッド端カバー(1208)においてその内側に画定された第2の封止部受入溝によって受け入れられるように適合されており、前記プランジャ・シリンダ・ピストン・ロッド(1212)と係合されている複数の第2の封止要素(1211)と、を含む、請求項3に記載のアクチュエータ・アセンブリ(1000)。
【請求項9】
前記主シリンダ(1102)の前記第1のチャンバ(1102A)及び前記プランジャ・シリンダ(1202)の前記第3のチャンバ(1202A)が、それぞれ前記主シリンダ・キャップ端サイド・ポート(1106P)及び前記プランジャ・シリンダ・キャップ端サイド・ポート(1206P)を通して、前記高圧油圧ライン、前記中圧油圧ライン、及び前記低圧油圧ラインのうちのいずれか1つから油圧流体を選択的に受け入れるように構成されており、前記油圧流体が、前記主シリンダ(1102)の前記第2のチャンバ(1102B)から、前記アクチュエータ・アセンブリ(1000)の負荷要件に基づいて前記主シリンダ・ピストン・ロッド(1112)及び前記プランジャ・シリンダ・ピストン・ロッド(1212)の伸長を促進するために前記第2のチャンバ(1102B)が連結された前記対応する圧力油圧ラインへ出て、
前記主シリンダ(1102)の前記第2のチャンバ(1102B)が、前記主シリンダ・ヘッド端サイド・ポート(1109P)を通して、前記高圧油圧ライン及び前記中圧油圧ラインのうちのいずれか一方から油圧流体を選択的に受け入れるように構成されており、前記油圧流体が、前記主シリンダ(1102)の前記第1のチャンバ(1102A)及び前記プランジャ・シリンダ(1202)の前記第3のチャンバ(1202A)から、前記アクチュエータ・アセンブリ(1000)の負荷要件に基づいて前記主シリンダ・ピストン・ロッド(1112)及び前記プランジャ・シリンダ・ピストン・ロッド(1212)の収縮を促進するために前記第1のチャンバ(1102A)及び前記第3のチャンバ(1202A)が連結されたそれぞれの圧力油圧ラインへ出る、請求項1に記載のアクチュエータ・アセンブリ(1000)。
【請求項10】
前記主シリンダ(1102)の前記第1のチャンバ(1102A)及び前記プランジャ・シリンダ(1202)の前記第3のチャンバ(1202A)で生成される力の合計が前記主シリンダ(1102)の前記第2のチャンバ(1102B)で生成される力を超える場合、前記主シリンダ・ピストン・ロッド(1112)及び前記プランジャ・シリンダ・ピストン・ロッド(1212)が前記伸長位置に移動し、
前記主シリンダ(1102)の前記第2のチャンバ(1102B)で生成される力が前記主シリンダ(1102)の前記第1のチャンバ(1102A)及び前記プランジャ・シリンダ(1202)の前記第3のチャンバ(1202A)における合力を上回る場合、前記主シリンダ・ピストン・ロッド(1112)及び前記プランジャ・シリンダ・ピストン・ロッド(1212)が前記収縮位置に移動し、
前記プランジャ・シリンダ・アセンブリ(1200)のストロークが、前記主シリンダ・アセンブリ(1100)のストロークより多く、その結果、前記アクチュエータ・アセンブリ(1000)の全動作中において、前記プランジャ・シリンダ・ピストン(1204)が、プランジャ・シリンダ・キャップ端カバー(1206)及び前記プランジャ・シリンダ・ヘッド端カバー(1208)と接触しない、請求項9に記載のアクチュエータ・アセンブリ(1000)。
発明の詳細な説明
【技術分野】
【0001】
以下の明細書は、本発明、及び本発明が実施されるべき方式を具体的に説明する。
続きを表示(約 2,500 文字)
【0002】
本明細書における実施の形態は、一般に重機(heavy construction machine)に関し、より具体的には掘削機などであるがそれに限定されない重機用のアクチュエータ・アセンブリに関する。
【背景技術】
【0003】
一般に、掘削機は、建設関連活動及び土木活動で使用される重機である。例えば、掘削機は主に、採掘を目的として、且つ様々な用途における様々な持ち上げ作業及び運搬作業のために使用される。さらに、油圧ブレーカ、カッタ、シャー、グラップル、カプラなどの特殊な器具を様々なブーム及びアーム構成の端部に装着することができ、それによって掘削機がより広い範囲の活動を行うことが可能になる。典型的には、掘削機は、無限軌道(tracks)又は車輪を伴う車台の頂上にある回転式上部構造の上に、ブーム、アーム、バケット、及びキャブを含む。掘削機のアーム、ブーム、及びバケットのそれぞれは、油圧アクチュエータを利用する。油圧シリンダが、シリンダ内の油圧及びシリンダ内を移動するピストンの有効領域に基づいて物体を移動させるための力を発生させ、結果として負荷力をもたらす。典型的なシリンダでは、2つのチャンバが用いられ、各チャンバはそれぞれの有効領域を有し、そのような構成は各方向に力を生じさせる。加圧流体がシリンダの両方の領域で作用する結果として生じる正味の力は、典型的にはシリンダ負荷と称される。従来の適用例は、通常、一方のチャンバへ流入/流出する流量に作用し、他方で残りのチャンバは、システム損失を低減するために可能な限り低い圧力に保たれる。特に機械あたりの油圧アクチュエータの数が増加したことで、長年にわたって種々の油圧制御アーキテクチャが開発されてきた。通例、これらのアーキテクチャは、例えば静油圧ポンプなどの共有された油圧動力供給部及び各アクチュエータ専用の制御弁を使用する。これらのアーキテクチャに関連する課題とは、第1の課題が単一の共有された油圧動力源を伴う複数のアクチュエータの可制御性であり、第2の課題がエネルギー効率である。第1の課題に関しては種々の手法が成功を収めてきた一方で、現在利用可能な回路のほとんどは、主に制御弁における絞り損失に起因して、一度に複数のアクチュエータを駆動する際の効率が依然として低い。複数の油圧アクチュエータが同じ油圧供給部を共有する場合、供給される圧力は、システムでの最大圧力要件よりもわずかに高くなければならない。したがって、所望の負荷を実現するためにより低い圧力を要求する任意の他の油圧アクチュエータは、供給圧力を所望のレベルに減少させるために絞り制御が必要となり、このことは、総エネルギー消費の35%~72%で変動する場合がある動力損失を招く。
【0004】
したがって、前述の欠点を回避するアクチュエータ・アセンブリに対するニーズが存在する。
【発明の概要】
【発明が解決しようとする課題】
【0005】
本明細書における実施の形態の主要な目的は、制御弁における絞り損失を低減するために、重機(掘削機)用の3つのチャンバを伴うアクチュエータ・アセンブリを提供することである。
【0006】
本明細書における実施の形態の別の目的は、重機(掘削機)のエネルギー動力消費を低減することである。
【0007】
本明細書における実施の形態のこれらの目的及び他の目的は、以下の説明及び添付の図面と併せて検討される場合、より良好に評価され理解されよう。しかし、以下の説明は、実施の形態及びその多数の具体的な詳細を示す一方で、例示として与えられるものであり、限定として与えられるものではないことを理解されたい。本明細書における実施の形態の精神から逸脱することなく、本明細書における実施の形態の範囲内で多数の変更及び修正がなされてもよく、本明細書における実施の形態はそれらの修正を全て包含する。
【0008】
実施の形態が添付の図面に例示されており、添付の図面全体を通して、同一の参照符号は、様々な図において一致する部分を示す。本明細書における実施の形態は、図面を参照する以下の説明からより良好に理解されよう。
【図面の簡単な説明】
【0009】
本明細書に開示される実施の形態による、アクチュエータ・アセンブリが収縮位置にある、重機用のアクチュエータ・アセンブリの断面図である。
本明細書に開示される実施の形態による、伸長位置にあるアクチュエータ・アセンブリの断面図である。
本明細書に開示される実施の形態による、アクチュエータ・アセンブリの主シリンダ・アセンブリの斜視図である。
本明細書に開示される実施の形態による、主シリンダ・アセンブリの断面図である。
本明細書に開示される実施の形態による、アクチュエータ・アセンブリのプランジャ・シリンダ・アセンブリの斜視図である。
本明細書に開示される実施の形態による、プランジャ・シリンダ・アセンブリの断面図である。
本明細書に開示される実施の形態による、高圧油圧ライン、中圧油圧ライン、及び低圧油圧ラインに結合されたアクチュエータ・アセンブリの回路図である。
【発明を実施するための形態】
【0010】
本明細書における実施の形態並びにその様々な特徴及び有利な詳細が、添付の図面で例示され以下の説明で詳述される非限定的な実施の形態を参照して、より十分に説明される。よく知られている構成要素及び処理技法の説明は、本明細書における実施の形態を不必要に不明瞭にしないように省略される。本明細書で用いられる例は、本明細書における実施の形態が実施されることができる手法の理解を助けること、及び当業者が本明細書における実施の形態を実施することをさらに可能にすることが単に意図されている。したがって、それらの例は、本明細書における実施の形態の範囲を限定するものとして解釈されるべきではない。
(【0011】以降は省略されています)
この特許をJ-PlatPat(特許庁公式サイト)で参照する
関連特許
SMC株式会社
増圧装置
1か月前
CKD株式会社
パルスエア発生装置
27日前
ナブテスコ株式会社
方向切換弁装置
1か月前
インペリアルテクノサービス株式会社
二段シリンダ
11日前
ジック アーゲー
磁気又は誘導センサ
1か月前
三輪精機株式会社
油圧アクチュエータ駆動装置
6日前
国立大学法人東京科学大学
アクチュエータシステム
今日
キャタピラー エス エー アール エル
流体圧制御回路および作業機械
11日前
キャタピラー エス エー アール エル
建設機械の油圧回路
1か月前
愛三工業株式会社
アクチュエータ、バルブ及びサーモスイッチ
1か月前
日立GEベルノバニュークリアエナジー株式会社
先端伸長機構
1か月前
国立大学法人東海国立大学機構
能動体、能動体の製造方法および能動体の作動方法
4日前
ハーヴェー ハイドローリック エスイー
冷却循環路を備えた液圧システム及び工作機械
今日
ウィプロ エンタープライズ プライベート リミテッド
重機用アクチュエータ・アセンブリ
5日前
ザ・ボーイング・カンパニー
攪拌器セグメントを有するエンジンナセルインレット
今日
リープヘル-ヴェルク エーインゲン ゲーエムベーハー
油圧アクチュエータへの圧力供給用の油圧システム
20日前
ザイダス・ライフサイエンシーズ・リミテッド
Fcバリアント及びその調製
1か月前
学校法人兵庫医科大学
固形がんの治療剤
1か月前
エンドポイント ヘルス インコーポレイテッド
宿主反応調節不全の治療を誘導するためのバイオマーカーパネル
4日前
スタリクラ ソシエテ アノニム
ASDに対する治療
1か月前
ダイキン工業株式会社
フッ素原子含有シラン化合物
1か月前
株式会社プレッシオ
新聞取出し機構
1か月前
他の特許を見る