TOP
|
特許
|
意匠
|
商標
特許ウォッチ
Twitter
他の特許を見る
10個以上の画像は省略されています。
公開番号
2025152279
公報種別
公開特許公報(A)
公開日
2025-10-09
出願番号
2024054102
出願日
2024-03-28
発明の名称
三位置制御装置、及び、三位置制御方法
出願人
株式会社東京精密
代理人
個人
,
個人
,
個人
主分類
F15B
15/24 20060101AFI20251002BHJP(流体圧アクチュエータ;水力学または空気力学一般)
要約
【課題】制御対象物を中間位置に迅速にかつ精度良く変位させることができ、かつ、変位した制御対象物を中間位置に安定して停止状態に維持することができる三位置制御装置、及び、三位置制御方法を提供する。
【解決手段】三位置制御装置はシリンダ装置と流体制御部と変位規制装置を備える。シリンダ装置は、ピストンを後退位置、中間位置、前進位置の各位置に変位させる。シリンダ装置は後退用の第1流体室と前進用の第2流体室を有する。流体制御部はピストンの進退位置を切り換える。中間位置から前進位置に変位させるときの第2の作動圧を、後退位置から中間位置に変位させるときの第1の作動圧よりも大きく設定する。変位規制装置は荷重受け部と付勢手段を有する。付勢手段の付勢力は、第1の作動圧による推力よりも大きく、かつ、第2の作動圧による推力よりも小さくなるように設定される。
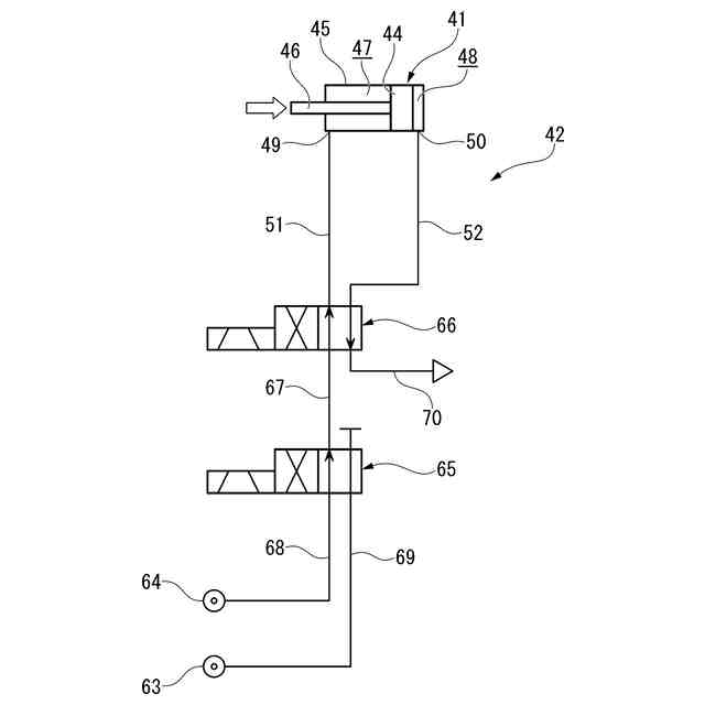
【選択図】図9
特許請求の範囲
【請求項1】
制御対象物と連動するピストンを有し、前記ピストンが作動流体の推力を受けて後退位置、中間位置、前進位置の各位置に変位可能なシリンダ装置と、
前記シリンダ装置に対する作動流体の吸排を制御する流体制御部と、
前記後退位置から前記前進位置に向かう前記ピストンの変位を前記中間位置で規制する変位規制装置と、を備え、
前記シリンダ装置は、
前記ピストンが前記後退位置に向けて押圧されるように前記作動流体が導入される第1流体室と、
前記ピストンが前記前進位置に向けて押圧されるように前記作動流体が導入される第2流体室と、を有し、
前記流体制御部は、前記第1流体室に所定の作動圧で前記作動流体を導入するとともに、前記第2流体室から前記作動流体を排出する第1流路と、前記第2流体室に第1の作動圧で前記作動流体を導入するとともに、前記第1流体室から前記作動流体を排出する第2流路と、前記第2流体室に前記第1の作動圧よりも高圧の第2の作動圧で前記作動流体を導入するとともに、前記第1流体室から前記作動流体を排出する第3流路と、に切り換え可能とされ、
前記変位規制装置は、前記ピストンが前記後退位置側から前記中間位置に変位したときに、前記前進位置に向かう前記ピストンの荷重を受け止める荷重受け部と、前記荷重受け部を前記ピストンからの荷重入力に抗する方向に付勢する付勢手段と、を有し、
前記付勢手段の付勢力は、前記第1の作動圧による前記ピストンの推力よりも大きく、かつ、前記第2の作動圧による前記ピストンの推力よりも小さくなるように設定されている三位置制御装置。
続きを表示(約 1,400 文字)
【請求項2】
前記付勢手段は、ばね部材であり、
前記ばね部材が変形を開始する初期荷重が、前記第1の作動圧による前記ピストンの推力よりも大きく、かつ、前記第2の作動圧による前記ピストンの推力よりも小さくなるように設定されている請求項1に記載の三位置制御装置。
【請求項3】
前記所定の作動圧は、前記第1の作動圧、若しくは、前記第2の作動圧と同圧に設定されている請求項1または2に記載の三位置制御装置。
【請求項4】
前記流体制御部は、
前記作動流体の供給流路及び排出流路を、前記第1流体室と前記第2流体室に選択的に接続切り換え可能な流路切換え弁と、
前記供給流路に接続される圧力源を、圧力が前記第1の作動圧である第1圧力源と、圧力が前記第2の作動圧である第2圧力源と、に選択的に切り換え可能な圧力切換え弁と、を備えている請求項3に記載の三位置制御装置。
【請求項5】
前記シリンダ装置は、
前記ピストンが進退自在に収容されるシリンダ本体と、
前記ピストンに連結されるとともに、前記シリンダ本体の軸方向の端部から外部に突出するピストンロッドと、を備え、
変位規制装置は、前記荷重受け部の変位方向が前記ピストンロッドの軸方向と平行になるように前記シリンダ本体の外部に設置され、
前記ピストンロッドには、前記ピストンから当該ピストンロッドに作用する荷重を前記荷重受け部に伝達可能な荷重伝達アームが連結されている請求項1または2に記載の三位置制御装置。
【請求項6】
制御対象物と連動するピストンを有し、前記ピストンが作動流体の推力を受けて後退位置、中間位置、前進位置の各位置に変位可能なシリンダ装置と、
前記後退位置から前記前進位置に向かう前記ピストンの変位を前記中間位置で規制する変位規制装置と、を用いる三位置制御方法において、
前記シリンダ装置には、前記ピストンが前記後退位置に向けて押圧されるように前記作動流体が導入される第1流体室と、前記ピストンが前記前進位置に向けて押圧されるように前記作動流体が導入される第2流体室と、を設け、
前記変位規制装置には、前記ピストンが前記後退位置側から前記中間位置に変位したときに、前記前進位置方向に向かう前記ピストンの荷重を受け止める荷重受け部と、前記荷重受け部を前記ピストンの荷重入力に抗する方向に付勢する付勢手段を設け、
前記付勢手段の付勢力を、前記ピストンが前記後退位置から前記中間位置に変位するときの作動流体の作動圧による推力よりも大きく、かつ、前記ピストンが前記中間位置から前記前進位置に変位するときの作動流体の作動圧による推力よりも小さくなるように設定しておき、
前記ピストンを前記後退位置に変位させるときには、前記第1流体室に所定の作動圧で前記作動流体を導入するとともに、前記第2流体室から前記作動流体を排出し、
前記ピストンを前記後退位置から前記中間位置に変位させて当該中間位置に停止させるときには、前記第2流体室に第1の作動圧で前記作動流体を導入するとともに、前記第1流体室から前記作動流体を排出し、
前記ピストンを前記中間位置から前記前進位置に変位させるときには、前記第2流体室に前記第1の作動圧よりも高圧の第2の作動圧で前記作動流体を導入するとともに、前記第1流体室から前記作動流体を排出する三位置制御方法。
発明の詳細な説明
【技術分野】
【0001】
本発明は、制御対象物を後退位置、中間位置、前進位置の三位置に停止させる三位置制御装置、及び、三位置制御方法に関するものである。
続きを表示(約 2,800 文字)
【背景技術】
【0002】
制御対象物を三位置に停止させる三位置制御装置として、エアシリンダを用いたものが知られている(例えば、特許文献1参照)。
【0003】
特許文献1に記載の三位置制御装置は、エアシリンダのシリンダ本体内にピストンが摺動自在に収容され、シリンダ本体の内部がピストンによって二つの空気室に隔成されている。ピストンには、シリンダ本体の端部壁を貫通するピストンロッドが連結され、ピストンロッドには制御対象物が連結可能とされている。また、シリンダ本体には、ピストンの進退位置を検出するための磁気センサが設けられている。
【0004】
この三位置制御装置では、制御対象物を後退位置に変位させる場合には、一方の空気室に高圧のエアを導入し、他方の空気室のエアを外部に排出する。制御対象物を前進位置に変位させる場合には、逆に、他方の空気室に高圧のエアを導入し、一方の空気室のエアを外部に排出する。
また、制御対象物を中間位置に停止させる場合には、ピストンが中間位置に変位したことを磁気センサが検出したタイミングで、ピストンの前後の二つの空気室に高圧のエアを導入する。これにより、ピストンが前後の両面から高圧のエアによって押圧され、ピストンが制御対象物とともに中間位置において停止する。
【先行技術文献】
【特許文献】
【0005】
特開平11-2203号公報
【発明の概要】
【発明が解決しようとする課題】
【0006】
しかし、特許文献1に記載の三位置制御装置は、ピストンが中間位置に変位したことを磁気センサが検出したタイミングで、ピストンの前後の空気室に高圧のエアを導入してピストンの位置を固定する。このため、ピストンが中間位置に変位してから実際に高圧のエアによってピストンが制動されるまでにタイムラグが生じ易く、ピストンを精度良く中間位置に停止させることが難しい。そして、ピストンを精度良く中間位置に停止させようとすると、ピストンの迅速な変位が難しくなる。
【0007】
また、特許文献1に記載の三位置制御装置は、ピストンの前後に作用するエア圧のバランスによってピストンを中間位置に保持する。このため、ピストンと制御対象物を中間位置に安定して停止させることが難しく、この点の改善が望まれている。
【0008】
そこで本発明は、制御対象物を中間位置に迅速にかつ精度良く変位させることができ、かつ、変位した制御対象物を中間位置に安定して停止状態に維持することができる三位置制御装置、及び、三位置制御方法を提供しようとするものである。
【課題を解決するための手段】
【0009】
本発明に係る三位置制御装置、及び、三位置制御方法は、上記課題を解決するために、以下の構成を採用した。
即ち、本発明の一態様に係る三位置制御装置は、制御対象物と連動するピストンを有し、前記ピストンが作動流体の推力を受けて後退位置、中間位置、前進位置の各位置に変位可能なシリンダ装置と、前記シリンダ装置に対する作動流体の吸排を制御する流体制御部と、前記後退位置から前記前進位置に向かう前記ピストンの変位を前記中間位置で規制する変位規制装置と、を備え、前記シリンダ装置は、前記ピストンが前記後退位置に向けて押圧されるように前記作動流体が導入される第1流体室と、前記ピストンが前記前進位置に向けて押圧されるように前記作動流体が導入される第2流体室と、を有し、前記流体制御部は、前記第1流体室に所定の作動圧で前記作動流体を導入するとともに、前記第2流体室から前記作動流体を排出する第1流路と、前記第2流体室に第1の作動圧で前記作動流体を導入するとともに、前記第1流体室から前記作動流体を排出する第2流路と、前記第2流体室に前記第1の作動圧よりも高圧の第2の作動圧で前記作動流体を導入するとともに、前記第1流体室から前記作動流体を排出する第3流路と、に切り換え可能とされ、前記変位規制装置は、前記ピストンが前記後退位置側から前記中間位置に変位したときに、前記前進位置に向かう前記ピストンの荷重を受け止める荷重受け部と、前記荷重受け部を前記ピストンからの荷重入力に抗する方向に付勢する付勢手段と、を有し、前記付勢手段の付勢力は、前記第1の作動圧による前記ピストンの推力よりも大きく、かつ、前記第2の作動圧による前記ピストンの推力よりも小さくなるように設定されている。
【0010】
本態様の三位置制御装置により、制御対象物を後退位置に変位させる場合には、流体制御部を第1流路に切り換える。これにより、第1流体室に所定の作動圧の作動流体が導入され、第2流体室内の作動流体が外部に排出される。この結果、ピストンは、制御対象物とともに後退位置に変位する。
また、制御対象物を後退位置から中間位置に変位させる場合には、流体制御部を第2流路に切り換える。これにより、第2流体室に第1の作動圧の作動流体が導入され、第1流体室内の作動流体が外部に排出される。この結果、ピストンは、制御対象物とともに中間位置まで変位する。このとき、ピストンが中間位置まで変位すると、そのピストンは、変位規制装置の荷重受け部に直接、若しくは、間接的に当接する等して変位方向の荷重を受け止められる。
この際、荷重受け部は、付勢手段によってピストンからの荷重入力に抗する方向に付勢されており、その付勢手段の付勢力は、第1の作動圧よるピストンの推力よりも大きく、かつ、第2の作動圧によるピストンの推力よりも小さくなるように設定されている。このため、第1の作動圧による推力によって前進するピストンは、変位規制装置の荷重受け部に荷重を受け止められたまま、それ以上の前方変位が規制される。この結果、ピストンと制御対象物は中間位置に安定して停止状態に維持されることになる。
制御対象物を中間位置から前進位置に変位させる場合には、流体制御部を第3流路に切り換える。これにより、第2流体室に第2の作動圧の作動流体が導入され、第1流体室内の作動流体が外部に排出される。この結果、ピストンは、変位規制装置の付勢手段の付勢力よりも大きい推力を受けて制御対象物とともに前進位置に変位する。
本構成の三位置制御装置では、変位規制装置の付勢手段の付勢力の有無等に応じた適切な作動圧(第1の作動圧、及び、第2の作動圧)によってピストンを変位させることができるため、制御対象物を所望の停止位置に迅速に変位させることができる。
(【0011】以降は省略されています)
この特許をJ-PlatPat(特許庁公式サイト)で参照する
関連特許
株式会社豊田自動織機
流体圧シリンダ
2か月前
株式会社コスメック
シリンダ装置
4か月前
株式会社不二越
電磁切替弁
3か月前
三和テッキ株式会社
油圧アクチュエータ
1か月前
個人
省エネ改良型油圧リバースブースター
3か月前
SMC株式会社
増圧装置
20日前
日立建機株式会社
作業機械
1か月前
日立建機株式会社
作業機械
1か月前
株式会社不二越
油圧駆動システム
3か月前
ナブテスコ株式会社
方向切換弁装置
21日前
CKD株式会社
パルスエア発生装置
15日前
住友建機株式会社
ショベルの制御方法
4か月前
学校法人 中央大学
人工筋アクチュエータ装置
3か月前
株式会社WGE
増圧装置
1か月前
アズビル株式会社
パイロットリレー及びポジショナ
3か月前
カヤバ株式会社
流体圧制御装置
2か月前
日立建機株式会社
油圧システム
1か月前
株式会社クボタ
作業機及び作業機の制御方法
1か月前
中本パックス株式会社
気体圧装置
4か月前
株式会社コガネイ
圧縮空気供給装置
4か月前
株式会社東和製作所
シリンダ伸縮反転用バルブユニット
3か月前
日立建機株式会社
分別回収システム
1か月前
ジック アーゲー
磁気又は誘導センサ
1か月前
日立建機株式会社
制御弁装置および作業機械
3か月前
株式会社福島製作所
グラブバケット診断装置
3か月前
極東開発工業株式会社
コンクリートポンプ装置
3か月前
株式会社ブリヂストン
流体圧アクチュエータ
2か月前
株式会社東京精密
三位置制御装置、及び、三位置制御方法
1か月前
カヤバ株式会社
インレットブロック及びバルブ装置
2か月前
古河ユニック株式会社
流体圧シリンダ、流体圧シリンダの製造方法
3か月前
株式会社小松製作所
油圧駆動システムおよび油圧駆動方法
1か月前
コベルコ建機株式会社
油圧駆動装置及びこれを備えた作業機械
2か月前
キャタピラー エス エー アール エル
建設機械の油圧回路
1か月前
愛三工業株式会社
アクチュエータ、バルブ及びサーモスイッチ
22日前
キャタピラー エス エー アール エル
作業機械における油圧制御システム
3か月前
川崎重工業株式会社
油圧ショベルの油圧システムおよびブーム制御弁
1か月前
続きを見る
他の特許を見る