TOP
|
特許
|
意匠
|
商標
特許ウォッチ
Twitter
他の特許を見る
公開番号
2025160897
公報種別
公開特許公報(A)
公開日
2025-10-23
出願番号
2025062790
出願日
2025-04-04
発明の名称
磁気又は誘導センサ
出願人
ジック アーゲー
代理人
弁理士法人京都国際特許事務所
主分類
F15B
15/28 20060101AFI20251016BHJP(流体圧アクチュエータ;水力学または空気力学一般)
要約
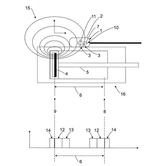
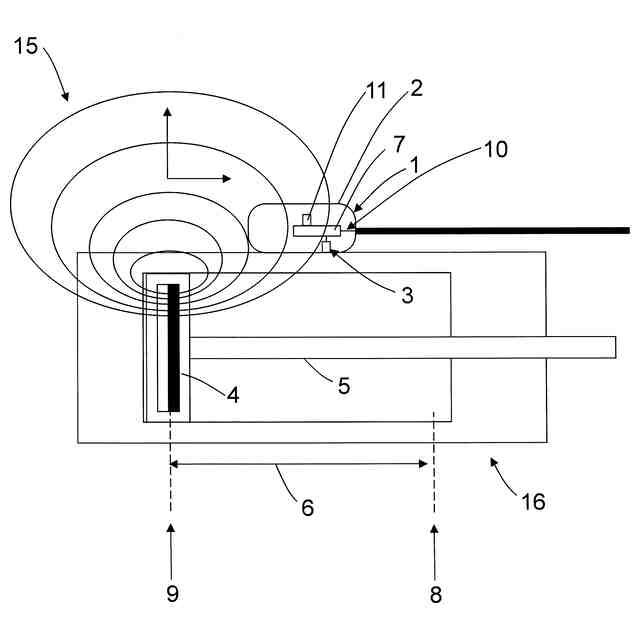
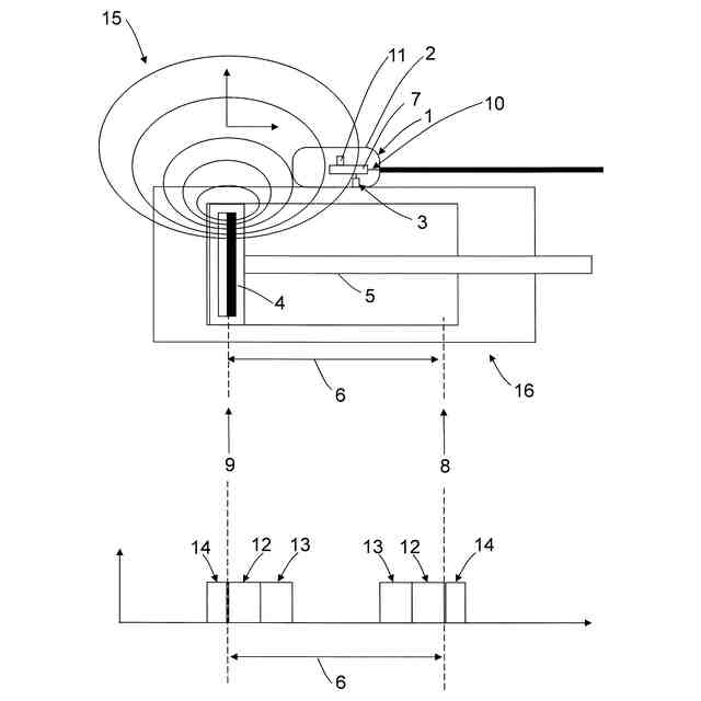
【課題】スイッチ点のより良い設定方法及びそれに相当する磁気又は誘導センサの提供。
【解決手段】磁気又は誘導センサ1を用いてピストン5の磁石4の位置を特定する方法であって、ピストン5の磁石4を捕えることでストローク長6に沿ったピストン位置を捕らえることができるセンサ素子3と、センサ素子3を評価する制御及び評価ユニット7とを備えており、その都度の最初の最大のピストン位置8と最初の最小のピストン位置9が磁気又は誘導センサ1により捕らえられ、最大のピストン位置8及び最小のピストン位置9にそれぞれスイッチ点が割り当てられ、制御及び評価ユニット7が各スイッチ点をスイッチ信号としてスイッチ出力10又はインターフェイスに出力する。
【選択図】図1
特許請求の範囲
【請求項1】
少なくとも1つのケーシング(2)と、それを用いてピストン(5)の磁石(4)を捕らえることができ、それによりストローク長(6)に沿ったピストン位置を捕らえることができる少なくとも1つのセンサ素子(3)と、前記少なくとも1つのセンサ素子(3)を評価するように構成され、該センサ素子を用いてストローク長(6)に沿ったピストン位置を特定可能である制御及び評価ユニット(7)とを備える磁気又は誘導センサ(1)において、その都度の最初の最大のピストン位置(8)と最初の最小のピストン位置(9)が前記センサ(1)により捕らえられ、該最大のピストン位置(8)及び該最小のピストン位置(9)にそれぞれスイッチ点が割り当てられ、前記制御及び評価ユニット(7)が各スイッチ点をスイッチ信号としてスイッチ出力(10)又はインターフェイスに出力するように構成されていることを特徴とする磁気又は誘導センサ(1)。
続きを表示(約 1,100 文字)
【請求項2】
前記制御及び評価ユニット(7)が前記スイッチ点のための記憶部(11)を備えていることを特徴とする請求項1に記載の磁気又は誘導センサ(1)。
【請求項3】
前記制御及び評価ユニット(7)が、前記スイッチ点に付属して少なくとも1つのスイッチ投入領域(12)を有効化するように構成されており、前記スイッチ信号が該制御及び評価ユニット(7)により該スイッチ投入領域(12)の内側でオンにされることを特徴とする請求項1に記載の磁気又は誘導センサ(1)。
【請求項4】
前記制御及び評価ユニット(7)が、前記スイッチ点に付属して少なくとも1つのヒステリシス領域(13)を有効化するように構成されており、前記スイッチ信号が該制御及び評価ユニット(7)により前記スイッチ投入領域(12)の外側且つ前記ヒステリシス領域(13)の外側でオフにされることを特徴とする請求項3に記載の磁気又は誘導センサ(1)。
【請求項5】
前記制御及び評価ユニット(7)が、前記スイッチ点に付属して少なくとも1つの許容領域(14)を有効化するように構成されており、前記スイッチ信号が該制御及び評価ユニット(7)により該許容領域(14)の外側でリセットされることを特徴とする請求項3に記載の磁気又は誘導センサ(1)。
【請求項6】
前記制御及び評価ユニット(7)が、前記スイッチ投入領域(12)、前記ヒステリシス領域(13)及び/又は前記許容領域(14)の長さを、捕らえられたストローク長(6)の長さに応じて設定するように構成されていることを特徴とする請求項5に記載の磁気又は誘導センサ(1)。
【請求項7】
前記インターフェイスがI/O-Link式インターフェイスであることを特徴とする請求項1に記載の磁気又は誘導センサ(1)。
【請求項8】
前記制御及び評価ユニット(7)が、該制御及び評価ユニット(7)により捕らえられた前記ピストン(5)の速度が終端位置の間の中間位置においてゼロになったら該中間位置にスイッチ点を割り当てるように構成されている請求項1に記載の磁気又は誘導センサ(1)。
【請求項9】
前記制御及び評価ユニット(7)がマイクロコントローラ内で実装されていることを特徴とする請求項1に記載の磁気又は誘導センサ(1)。
【請求項10】
空気圧又は油圧式シリンダにおけるピストン終端位置を特定するための、請求項1に記載の磁気又は誘導センサ(1)の使用。
(【請求項11】以降は省略されています)
発明の詳細な説明
【技術分野】
【0001】
本発明は、請求項1のプレアンブルに記載の磁気又は誘導センサ、請求項11のプレアンブルに記載の磁気又は誘導センサを用いた方法、及び請求項10に記載の磁気又は誘導センサの使用に関する。
続きを表示(約 2,200 文字)
【背景技術】
【0002】
本発明は特に、作動シリンダのケーシング上にしばしば配置される磁気又は誘導センサに関係がある。このようなセンサは、例えば作動シリンダ内の空気圧又は油圧式ピストンの位置を非接触で捕らえることにより正確な位置を特定する上で有効であることが実証されている。そのために作動シリンダのケーシングの外側表面上に案内溝が設けられ、その中に磁場センサが軸方向に位置調節可能に保持され、調整後に案内溝内でロックされる。これは例えば特許文献1及び特許文献2から知られている。こうして調整されて固定されたセンサがピストンの位置に応じてスイッチ信号を出力する。大抵はピストンの押し込まれた終端位置と引き出された終端位置が捕らえられることになる。
【0003】
このようなセンサは例えば特許文献3から知られている。該文献には例えば2つの電子的なスイッチ閾値を設定することにより2つのスイッチ点を設定できるセンサが記載されており、該センサは原理的にはピストン位置に対応する信号を出力できるように構成されている。スイッチ閾値は別の処理ステップにおいて、機械的に(例えばポテンショメータの位置によって)設定されるか又はソフトウェア的に一度に設定される。
【0004】
特許文献4はセンサ(特に磁気又は誘導センサ)のスイッチ点を設定する方法、特にピストンの終端位置の位置を特定する方法を開示している。この方法では、ピストン位置がセンサにより繰り返し捕らえられ、頻度評価が行われ、ピストンのストローク運動が予め定められた回数になった後、同じ測定値がたびたび生じるピストン位置にスイッチ点が割り当てられる。
【0005】
特許文献5は少なくとも1つのセンサ素子を用いて測定区間に沿った発信磁石の直線的な相対運動を非接触で磁気的に捕らえるためのセンサを開示している。このセンサではセンサ素子が発信磁石の磁場の少なくとも1つの成分を捕らえ、該センサ素子は測定区間より短く、制御及び評価ユニットが電子的にセンサ素子に接続されており、該制御及び評価ユニットは位置信号を生成するように構成されており、該制御及び評価ユニットは該位置信号の一次の時間導関数を求めるように構成されており、該位置信号の一次の時間導関数がゼロのときに終端位置信号が出力可能である。
【先行技術文献】
【特許文献】
【0006】
DE 196 43 413 A1
DE 196 53 222 A1
DE 10 2004 046 107 A1
DE 10 2007 029 488 A1
DE 10 2017 128 548 A1
【発明の概要】
【発明が解決しようとする課題】
【0007】
このような従来技術から出発した本発明の課題は、スイッチ点のより良い設定方法及びそれに相当するセンサを提供することである。
【課題を解決するための手段】
【0008】
この課題は請求項1に記載の磁気又は誘導センサを用いて解決される。該センサは、少なくとも1つのケーシングと、それを用いてピストンの磁石を捕らえることができ、それによりストローク長に沿ったピストン位置を捕らえることができる少なくとも1つのセンサ素子と、前記少なくとも1つのセンサ素子を評価するように構成され、該センサ素子を用いて前記ストローク長に沿ったピストン位置を特定可能である制御及び評価ユニットとを備えており、その都度の最初の最大のピストン位置と最初の最小のピストン位置が前記センサにより捕らえられ、該最大のピストン位置及び該最小のピストン位置にそれぞれスイッチ点が割り当てられ、前記制御及び評価ユニットが各スイッチ点をスイッチ信号としてスイッチ出力又はインターフェイスに出力するように構成されている。
【0009】
前記課題は更に請求項11に記載の、磁気又は誘導センサを用いてピストンの磁石の位置を特定する方法により解決される。該センサは、少なくとも1つのケーシングと、それを用いてピストンの前記磁石を捕らえることができ、それによりストローク長に沿ったピストン位置を捕らえることができる少なくとも1つのセンサ素子と、前記少なくとも1つのセンサ素子を評価する制御及び評価ユニットとを備えており、該センサ素子を用いて前記ストローク長に沿ったピストン位置が特定され、その都度の最初の最大のピストン位置と最初の最小のピストン位置が前記センサにより捕らえられ、該最大のピストン位置及び該最小のピストン位置にそれぞれスイッチ点が割り当てられ、前記制御及び評価ユニットが各スイッチ点をスイッチ信号としてスイッチ出力又はインターフェイスに出力する。
【0010】
最初の最大のピストン位置及び最初の最小のピストン位置はピストンの終端位置に対応している。最初の最小のピストン位置はピストンの第1の終端位置に対応し、最初の最大のピストン位置はピストンの第2の終端位置に対応している。つまり、各終端位置はそれぞれピストン・シリンダ装置の最大ストロークの各終端にある。
(【0011】以降は省略されています)
この特許をJ-PlatPat(特許庁公式サイト)で参照する
関連特許
ジック アーゲー
磁気又は誘導センサ
27日前
エヌチェーン ライセンシング アーゲー
ブロックチェーンコンパイラ
1か月前
ジック アーゲー
保持磁石の直線的な相対運動を非接触で磁気的に捕らえるためのセンサ及び保持磁石の直線的な相対運動を非接触で磁気的に捕らえるための方法
27日前
豊和工業株式会社
クランプ装置
6か月前
株式会社豊田自動織機
流体圧シリンダ
2か月前
三和テッキ株式会社
油圧アクチュエータ
1か月前
株式会社不二越
電磁切替弁
2か月前
株式会社コスメック
シリンダ装置
3か月前
SMC株式会社
増圧装置
12日前
個人
省エネ改良型油圧リバースブースター
2か月前
株式会社不二越
油圧システム
6か月前
コベルコ建機株式会社
建設機械
8か月前
学校法人東海大学
流れ制御装置
7か月前
日立建機株式会社
作業機械
1か月前
日立建機株式会社
作業機械
1か月前
日立建機株式会社
作業機械
7か月前
株式会社不二越
油圧駆動システム
2か月前
CKD株式会社
パルスエア発生装置
7日前
日立建機株式会社
油圧駆動装置
7か月前
ナブテスコ株式会社
方向切換弁装置
5か月前
ナブテスコ株式会社
方向切換弁装置
13日前
住友建機株式会社
ショベルの制御方法
4か月前
学校法人 中央大学
人工筋アクチュエータ装置
3か月前
株式会社WGE
増圧装置
1か月前
株式会社LIXIL
脈動流生成装置及び建築設備
6か月前
アズビル株式会社
パイロットリレー及びポジショナ
2か月前
カヤバ株式会社
流体圧制御装置
8か月前
カヤバ株式会社
流体圧制御装置
2か月前
コベルコ建機株式会社
建設機械の油圧駆動装置
7か月前
CKD株式会社
アクチュエータの動作検出装置
5か月前
日立建機株式会社
油圧システム
1か月前
カヤバ株式会社
流体圧シリンダ
8か月前
ナブテスコ株式会社
ロータリーアクチュエータ
6か月前
カヤバ株式会社
アクチュエータ
8か月前
株式会社クボタ
作業機及び作業機の制御方法
1か月前
中本パックス株式会社
気体圧装置
3か月前
続きを見る
他の特許を見る