TOP
|
特許
|
意匠
|
商標
特許ウォッチ
Twitter
他の特許を見る
公開番号
2025121521
公報種別
公開特許公報(A)
公開日
2025-08-20
出願番号
2024016956
出願日
2024-02-07
発明の名称
シリンダ伸縮反転用バルブユニット
出願人
株式会社東和製作所
代理人
個人
,
個人
主分類
F15B
11/02 20060101AFI20250813BHJP(流体圧アクチュエータ;水力学または空気力学一般)
要約
【課題】シリンダに一度の収縮、反転、及び伸長を行わせた後、方向切換弁におけるスプールの位置が初期位置である第1位置に切り換わるまでに長い時間がかかることを、簡単な構成で抑制できるようにする。
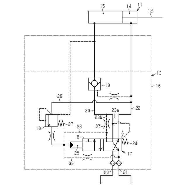
【解決手段】シリンダ伸縮反転用バルブユニットは、ユニット本体16と、方向切換弁17と、シーケンス弁と、を備える。方向切換弁17は、ユニット本体16の内部で長手方向に移動することが可能なスプール31と、スプール31を移動範囲の一方の端である第1位置に向けて付勢するばね24と、を備える。スプール31は、スプール31の第1位置に隣接するように形成された作動室25の油圧に基づき、移動範囲の第1位置とは反対の端である第2位置に向けて、ばね24の付勢力に抗して移動する。スプール31には、タンク用ポート21に繋がる排出通路33と、その排出通路33を作動室25に繋ぐ連通部36と、が形成される。
【選択図】図2
特許請求の範囲
【請求項1】
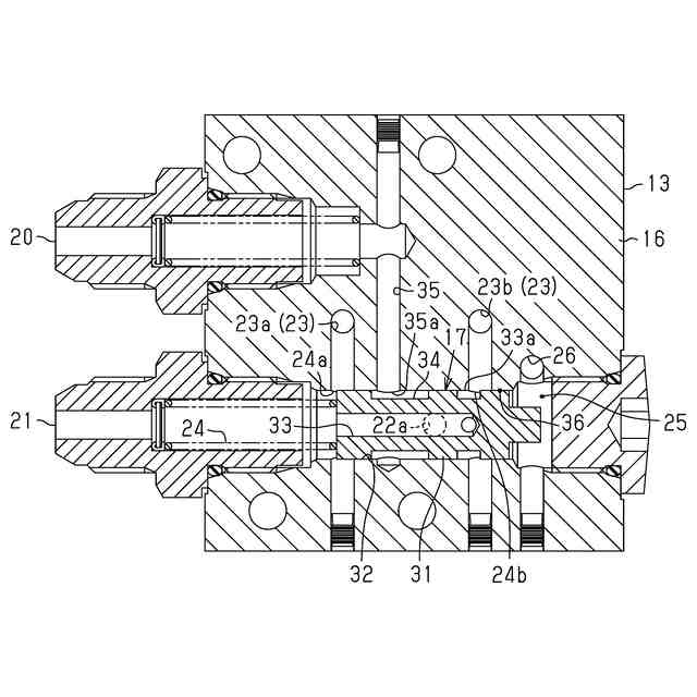
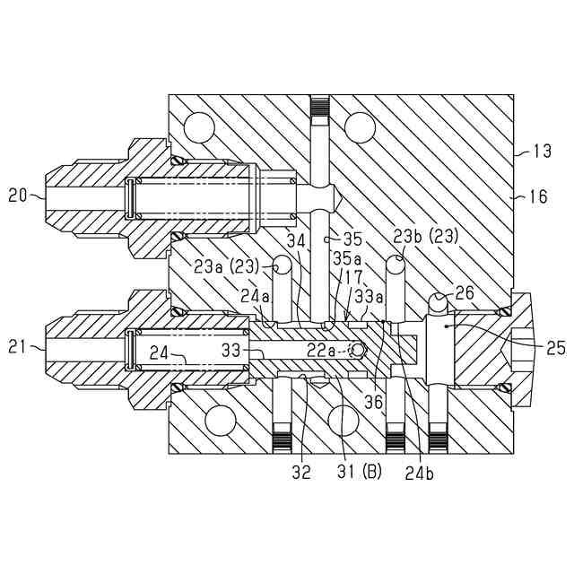
ロッドを備えるシリンダとポンプ及びタンクとの間に設けることが可能であって、前記ポンプから吐出された作動油を前記シリンダ内の縮み側圧力室と伸び側圧力室とのうちの一方に供給するとともに他方から排出される作動油をタンクに戻すことにより、前記シリンダに一度の収縮、反転、及び伸長を行わせるシリンダ伸縮反転用バルブユニットにおいて、
ユニット本体と、方向切換弁と、シーケンス弁と、を備え、
前記ユニット本体には、前記ポンプから吐出された作動油を受け入れるポンプ用ポート、前記シリンダから排出された作動油を前記タンクに戻すためのタンク用ポート、前記シリンダの前記縮み側圧力室に接続可能な縮み側通路、前記シリンダの前記伸び側圧力室に接続可能な伸び側通路が形成され、
前記方向切換弁は、前記ユニット本体の内部で長手方向に移動することが可能なスプールと、そのスプールを移動範囲の一方の端である第1位置に向けて付勢するばねと、を備え、
前記スプールは、前記ユニット本体における前記スプールの前記第1位置に隣接するように形成された作動室の油圧に基づき、前記移動範囲の前記第1位置とは反対の端である第2位置に向けて、前記方向切換弁の前記ばねの付勢力に抗して移動するものであり、
前記ユニット本体及び前記スプールは、前記スプールが前記第1位置にあるときには前記ポンプ用ポートを前記縮み側通路と前記伸び側通路とのうちの一方の通路に連通させるとともに、前記縮み側通路と前記伸び側通路とのうちの他方の通路を前記タンク用ポートに連通させるよう形成され、
前記ユニット本体及び前記スプールは、前記スプールが前記第2位置にあるときには前記ポンプ用ポートを前記他方の通路に連通させるとともに、前記一方の通路を前記タンク用ポートに連通させるよう形成され、
前記シーケンス弁は、前記一方の通路と前記作動室とを繋ぐ作動通路の途中に設けられ、前記一方の通路の油圧、前記他方の通路の油圧、及びばねに基づき開閉することにより、前記作動通路を開放もしくは遮断するものであり、
前記シーケンス弁における前記ばねの弾性力は、前記ポンプ用ポートから前記一方の通路に作動油が供給されるとともに前記他方の通路から前記タンク用ポートに作動油が排出されているときには前記シーケンス弁が閉じるように、且つ、前記他方の通路から前記タンク用ポートに作動油が排出開始された後に前記他方の通路の油圧が低下したときには前記シーケンス弁が開くように設定され、
前記作動室は、前記スプールが前記第2位置にあるとき、前記他方の通路と連通するように形成され、
前記スプールには、前記タンク用ポートに繋がる排出通路と、その排出通路を前記ユニット本体の前記作動室に繋ぐ連通部と、が形成され、
前記排出通路は、前記スプールが前記第1位置にあるときには前記他方の通路と繋がるとともに、前記スプールが前記第2位置にあるときには前記他方の通路から遮断されるように形成されているシリンダ伸縮反転用バルブユニット。
続きを表示(約 1,200 文字)
【請求項2】
前記方向切換弁の前記スプールは、前記ユニット本体に形成された孔内で、前記スプールの外周面を前記孔の内周面に接触させながら移動することにより、前記第1位置と前記第2位置との間を移動するものであり、
前記縮み側通路及び前記伸び側通路は、前記孔の内周面で開口し、
前記排出通路は、前記スプールの外周面で開口し、
前記連通部は、前記スプールの移動時に互いに接する前記スプールの外周面と前記孔の内周面との隙間のうち、前記外周面における前記排出通路の開口部と前記作動室との間に位置する箇所の隙間を他の箇所の隙間よりも大きくすることにより、前記排出通路の開口部と前記作動室との間に形成されている請求項1に記載のシリンダ伸縮反転用バルブユニット。
【請求項3】
前記スプールの移動時に互いに接する前記スプールの外周面と前記孔の内周面との隙間のうち、前記外周面における前記排出通路の開口部と前記作動室との間に位置する箇所の隙間を他の箇所の隙間よりも大きくすることは、前記スプールの外周面のうち前記排出通路の開口部と前記作動室との間に位置する部分を他の部分よりも小径とすることによって実現されている請求項2に記載のシリンダ伸縮反転用バルブユニット。
【請求項4】
前記縮み側通路と前記伸び側通路とのうちの前記他方の通路は、前記孔の内周面でそれぞれ開口するメイン通路とサブ通路とに分岐し、
前記ユニット本体及び前記スプールは、前記スプールが前記第1位置にあるときには、前記メイン通路及び前記サブ通路を前記タンク用ポートに連通させるよう形成され、
前記連通部は、前記スプールが前記第1位置にあるとき、前記スプールの外周面と前記孔の内周面との間、且つ前記サブ通路と前記作動室との間に位置するよう形成され、
前記サブ通路には、作動油の流通断面積を小さくするための絞りが形成されている請求項2又は3に記載のシリンダ伸縮反転用バルブユニット。
【請求項5】
前記ユニット本体及び前記スプールは、前記スプールが前記第1位置にあるときには前記ポンプ用ポートを前記縮み側通路に連通させるとともに前記伸び側通路を前記タンク用ポートに連通させ、前記スプールが前記第2位置にあるときには前記ポンプ用ポートを前記伸び側通路に連通させるとともに前記縮み側通路を前記タンク用ポートに連通させるよう形成され、
前記伸び側通路は、前記メイン通路及び前記サブ通路に分岐するものであり、
前記スプールの外周面における前記排出通路の開口部は、前記スプールが前記第1位置にあるときには前記サブ通路と繋がるように、且つ、前記スプールが前記第2位置にあるときには前記サブ通路から離れるように形成されている請求項4に記載のシリンダ伸縮反転用バルブユニット。
発明の詳細な説明
【技術分野】
【0001】
本発明は、シリンダ伸縮反転用バルブユニットに関する。
続きを表示(約 2,000 文字)
【背景技術】
【0002】
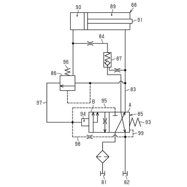
ロッドを備える油圧式のシリンダによってボトムプラウ等の農機具を駆動する際には、例えば特許文献1に示される油圧回路を用いて上記シリンダに一度の収縮、反転、及び伸長を行わせる。上記油圧回路は、図7に示すようにポンプ用ポート81、タンク用ポート82、縮み側通路83、伸び側通路84、方向切換弁85、シーケンス弁86、及びパイロットチェック弁87等を備えている。
【0003】
上記油圧回路を用いて駆動されるシリンダ88は、縮み側圧力室89と伸び側圧力室90とに対する作動油の給排を通じて、ロッド91を収縮させたり伸長させたりする。上記ポンプ用ポート81は、ポンプから吐出される作動油を受け入れる。ポンプは、タンクに溜まった作動油を吸引して吐出するものである。上記タンク用ポート82は、シリンダ88から排出された作動油をタンクに戻すためのものである。上記縮み側通路83は、シリンダ88の縮み側圧力室89と接続することが可能となっている。上記伸び側通路84は、シリンダ88の伸び側圧力室90と接続することが可能となっている。
【0004】
方向切換弁85は、ポンプ用ポート81及びタンク用ポート82と、縮み側通路83及び伸び側通路84との間に配置されている。伸び側通路84にはパイロットチェック弁87が設けられている。パイロットチェック弁87は、伸び側通路84内におけるシリンダ88の伸び側圧力室90に向かう作動油の流れを許容する一方、伸び側通路84内における方向切換弁85に向かう作動油の流れを禁止する。ただし、縮み側通路83内の油圧が定められた規定値以上であるときには、その油圧に基づき開弁することによって伸び側通路84内における方向切換弁85に向かう作動油の流れを許容する。
【0005】
上記方向切換弁85は、第1位置Aと第2位置Bとの間で位置の切り換え動作をすることが可能となっている。方向切換弁85は、ばね93によって第1位置Aとなるように付勢されている。方向切換弁85は、作動室94の油圧に基づき、ばね93の付勢力に抗して第1位置Aから第2位置Bに切り換えることが可能となっている。
【0006】
方向切換弁85の位置が第1位置Aに切り換えられているときには、ポンプから吐出された作動油がポンプ用ポート81及び縮み側通路83を介してシリンダ88の縮み側圧力室89に供給される。このときには、縮み側通路83内の油圧が規定値以上となるため、パイロットチェック弁87が開弁する。その結果、シリンダ88の伸び側圧力室90内から排出された作動油が、伸び側通路84及びタンク用ポート82を介してタンクに戻される。
【0007】
方向切換弁85の位置が第2位置Bに切り換えられているときには、ポンプから吐出された作動油がポンプ用ポート81及び伸び側通路84を介してシリンダの伸び側圧力室90に供給される。このときには、シリンダ88の縮み側圧力室89内の作動油が、縮み側通路83及びタンク用ポート82を介してタンクに戻される。また、このときにはポンプから吐出された作動油が、方向切換弁85を通過した後に作動通路95を介して作動室94にも供給される。その結果、作動室94の油圧に基づき方向切換弁85の位置が第2位置Bに保持される。
【0008】
上記シーケンス弁86は、縮み側通路83と作動室94とを繋ぐ作動通路97の途中に設けられている。シーケンス弁86は、縮み側通路83の油圧、伸び側通路84の油圧、及びばね96に基づき開閉することにより、作動通路97を開放もしくは遮断するものである。
【0009】
シーケンス弁86におけるばね96の弾性力は、ポンプ用ポート81から縮み側通路83に作動油が供給されるとともに伸び側通路84からタンク用ポート82に作動油が排出されているときにはシーケンス弁86が閉じるように設定されている。また、ばね96の弾性力は、伸び側通路84からタンク用ポート82に作動油が排出開始された後に伸び側通路84の油圧が大気圧程度まで低下したときにはシーケンス弁86が開くようにも設定されている。
【0010】
上述した油圧回路を用いてシリンダ88に一度の収縮、反転、及び伸長を行わせる際には、シリンダ88がロッド91を最も伸長させた初期状態であり、且つ、方向切換弁85が初期位置である第1位置Aに切り換えられた状態のもと、ポンプが駆動される。ポンプから吐出された作動油は、ポンプ用ポート81及び縮み側通路83を介してシリンダ88の縮み側圧力室89に供給される。一方、シリンダ88の伸び側圧力室90内の作動油が、伸び側通路84及びタンク用ポート82を介してタンクに戻される。その結果、シリンダ88がロッド91を収縮させるように動作する。
(【0011】以降は省略されています)
この特許をJ-PlatPat(特許庁公式サイト)で参照する
関連特許
豊和工業株式会社
クランプ装置
6か月前
株式会社豊田自動織機
流体圧シリンダ
2か月前
株式会社コスメック
シリンダ装置
3か月前
三和テッキ株式会社
油圧アクチュエータ
29日前
株式会社不二越
電磁切替弁
2か月前
株式会社不二越
油圧システム
5か月前
個人
省エネ改良型油圧リバースブースター
2か月前
SMC株式会社
増圧装置
今日
日立建機株式会社
作業機械
1か月前
学校法人東海大学
流れ制御装置
6か月前
日立建機株式会社
作業機械
1か月前
日立建機株式会社
作業機械
7か月前
株式会社不二越
油圧駆動システム
2か月前
ナブテスコ株式会社
方向切換弁装置
5か月前
日立建機株式会社
油圧駆動装置
7か月前
ナブテスコ株式会社
方向切換弁装置
1日前
住友建機株式会社
ショベルの制御方法
4か月前
学校法人 中央大学
人工筋アクチュエータ装置
3か月前
株式会社WGE
増圧装置
24日前
株式会社LIXIL
脈動流生成装置及び建築設備
5か月前
アズビル株式会社
パイロットリレー及びポジショナ
2か月前
カヤバ株式会社
流体圧制御装置
1か月前
CKD株式会社
アクチュエータの動作検出装置
5か月前
日立建機株式会社
油圧システム
1か月前
カヤバ株式会社
流体圧制御装置
7か月前
ナブテスコ株式会社
ロータリーアクチュエータ
5か月前
コベルコ建機株式会社
建設機械の油圧駆動装置
7か月前
中本パックス株式会社
気体圧装置
3か月前
株式会社クボタ
作業機及び作業機の制御方法
1か月前
カヤバ株式会社
インレットハウジング
5か月前
日立建機株式会社
分別回収システム
1か月前
株式会社コガネイ
圧縮空気供給装置
3か月前
株式会社東和製作所
シリンダ伸縮反転用バルブユニット
2か月前
カヤバ株式会社
流体圧シリンダユニット
5か月前
ジック アーゲー
磁気又は誘導センサ
15日前
日立建機株式会社
制御弁装置および作業機械
2か月前
続きを見る
他の特許を見る