TOP
|
特許
|
意匠
|
商標
特許ウォッチ
Twitter
他の特許を見る
10個以上の画像は省略されています。
公開番号
2025158716
公報種別
公開特許公報(A)
公開日
2025-10-17
出願番号
2024061533
出願日
2024-04-05
発明の名称
新聞取出し機構
出願人
株式会社プレッシオ
代理人
弁理士法人鈴榮特許綜合事務所
主分類
B65H
3/52 20060101AFI20251009BHJP(運搬;包装;貯蔵;薄板状または線条材料の取扱い)
要約
【課題】複数部の新聞を同じ向きに重ねた集積物から新聞を1部ずつ分離して正常な姿勢で取り出すことができる新聞取出し機構を提供すること。
【解決手段】新聞取出し機構は、複数枚重ねた新聞紙を4つ折りにした複数部の新聞を同じ向きに重ねた集積物の重ね方向の一端の取出し位置にある新聞を第1の折り目に沿った第1の方向に1部ずつ分離して取り出す。取出しローラは、取出し位置より第1の方向の下流側に離間した位置で搬送路の集積物と反対側に対向して配置され、第1の方向に回転することにより搬送路を通る新聞に搬送力を与える。分離ローラは、取出し位置と取出しローラの間の搬送路の反対側で且つ搬送路を通る新聞に取出しローラが対向する位置より第1の折り目側で新聞に対向する位置で搬送路に対向して配置され、第1の方向に回転可能である。摩擦付与部材は、搬送路を間に挟んで分離ローラに対向して配置され、取出し位置の新聞に重なる2部目以降の新聞に摩擦力を作用させて分離する。
【選択図】図12
特許請求の範囲
【請求項1】
複数枚重ねた新聞紙を第1の折り目で2つ折りにしさらに第2の折り目で2つ折りにした4つ折り状態の複数部の新聞を同じ向きに重ねた集積物の重ね方向の一端の取出し位置にある新聞を前記第1の折り目に沿った第1の方向に1部ずつ分離して取り出す新聞取出し機構であって、
前記取出し位置から前記第1の方向に延びた搬送路と、
前記取出し位置より前記第1の方向の下流側に離間した位置で前記搬送路の前記集積物と反対側に対向して配置され、前記第1の方向に回転することにより前記搬送路を通る新聞に搬送力を与える取出しローラと、
前記取出し位置と前記取出しローラの間の前記搬送路の前記反対側で且つ前記搬送路を通る新聞に前記取出しローラが対向する位置より前記第1の折り目側で当該新聞に対向する位置で前記搬送路に対向して配置され、前記第1の方向に回転可能な分離ローラと、
前記搬送路を間に挟んで前記分離ローラに対向して配置され、前記取出し位置の新聞に重なる2部目以降の新聞に摩擦力を作用させて分離する摩擦付与部材と、
前記分離ローラを前記摩擦付与部材に向けて押圧する押圧部材と、
を有する新聞取出し機構。
続きを表示(約 910 文字)
【請求項2】
前記搬送路を間に挟んで前記取出しローラに対向して配置され、前記取出しローラとの間のギャップを可変調整するギャップ調整部材を有する、
請求項1に記載の新聞取出し機構。
【請求項3】
前記取出し位置と前記取出しローラの間の前記搬送路の前記反対側で且つ前記搬送路を通る新聞に前記取出しローラが対向する位置より前記第1の折り目から離間した側で当該新聞に対向する位置で前記搬送路に対向して配置され、前記第1の方向に回転可能な補助ローラを有する、
請求項2に記載の新聞取出し機構。
【請求項4】
前記取出し位置と前記取出しローラの間の前記搬送路の前記反対側で且つ前記搬送路を通る新聞に前記分離ローラが対向する位置より前記第1の折り目側で当該新聞に対向する位置で前記搬送路に対向して配置され、当該新聞の搬送をガイドする第1のガイド部材と、
前記取出し位置と前記取出しローラの間の前記搬送路の前記反対側で且つ前記搬送路を通る新聞に前記補助ローラが対向する位置より前記第1の折り目から離間した側で当該新聞に対向する位置で前記搬送路に対向して配置され、当該新聞の搬送をガイドする第2のガイド部材と、
を有する請求項3に記載の新聞取出し機構。
【請求項5】
前記取出し位置と前記取出しローラの間の前記搬送路の前記反対側で且つ前記分離ローラと前記補助ローラの間で前記第1の方向に前記取出しローラに並ぶ位置で前記搬送路に対向して配置され、新聞の搬送をガイドする第3のガイド部材と、
請求項4に記載の新聞取出し機構。
【請求項6】
前記第3のガイド部材は、前記分離ローラと前記補助ローラと同軸に配置したガイドローラである、
請求項5に記載の新聞取出し機構。
【請求項7】
前記分離ローラ、前記補助ローラ、及び前記ガイドローラは、前記取出しローラの第1の回転軸を中心に揺動可能に設けた連結部材の回動の先端に回動可能に設けた第2の回転軸に取り付けられている、
請求項6に記載の新聞取出し機構。
発明の詳細な説明
【技術分野】
【0001】
本発明は、例えば、複数部の新聞を同じ向きに重ねた集積物から新聞を1部ずつ分離して取り出す新聞取出し機構に関する。
続きを表示(約 2,300 文字)
【背景技術】
【0002】
近年、丁合機構により丁合した折込チラシの束(丁合束)を新聞に中入れして配達順に積み重ねる新聞処理装置が普及されつつある。この種の新聞処理装置は、複数部の新聞を同じ向きに重ねた集積物から新聞を1部ずつ分離して取り出す新聞取出し機構を備える。
【先行技術文献】
【特許文献】
【0003】
特開2019-202861号公報
【発明の概要】
【発明が解決しようとする課題】
【0004】
新聞処理装置で処理する新聞は、その間に丁合束を中入れするため、複数枚重ねた新聞紙を4つ折りにした状態で取り扱われる。また、丁合機から排出された丁合束を新聞に中入れするため、新聞取出し機構に投入する複数部の新聞は同じ向きで重ねて投入する必要がある。このように4つ折りにした新聞を同じ向きに重ねた集積物は、新聞の折り目のある端縁同士が重なった部分の厚みが折り目の無い他の端縁同士が重なった部分の厚みより大きくなる。このような現象を「折太り」と呼ぶ。
【0005】
このため、新聞取出し機構において、4つ折りにした複数部の新聞を同じ向きに重ねて集積して、その集積方向の端部にある新聞を1部ずつ分離して取り出す際に、「折太り」に起因して取出し位置の新聞が傾斜したり皺が寄ったりする不具合を生じ易く、取出し不良や搬送ジャムを生じる可能性がある。
【0006】
本発明は、複数部の新聞を同じ向きに重ねた集積物から新聞を1部ずつ分離して正常な姿勢で取り出すことができる新聞取出し機構を提供することを目的とする。
【課題を解決するための手段】
【0007】
本発明の一態様に係る新聞取出し機構は、複数枚重ねた新聞紙を第1の折り目で2つ折りにしさらに第2の折り目で2つ折りにした4つ折り状態の複数部の新聞を同じ向きに重ねた集積物の重ね方向の一端の取出し位置にある新聞を第1の折り目に沿った第1の方向に1部ずつ分離して取り出す。新聞取出し機構は、搬送路と、取出しローラと、分離ローラと、摩擦付与部材と、押圧部材と、を有する。搬送路は、取出し位置から第1の方向に延びている。取出しローラは、取出し位置より第1の方向の下流側に離間した位置で搬送路の集積物と反対側に対向して配置され、第1の方向に回転することにより搬送路を通る新聞に搬送力を与える。分離ローラは、取出し位置と取出しローラの間の搬送路の反対側で且つ搬送路を通る新聞に取出しローラが対向する位置より第1の折り目側で新聞に対向する位置で搬送路に対向して配置され、第1の方向に回転可能である。摩擦付与部材は、搬送路を間に挟んで分離ローラに対向して配置され、取出し位置の新聞に重なる2部目以降の新聞に摩擦力を作用させて分離する。押圧部材は、分離ローラを摩擦付与部材に向けて押圧する。
【発明の効果】
【0008】
本発明の一態様によれば、複数部の新聞を同じ向きに重ねた集積物から新聞を1部ずつ分離して正常な姿勢で取り出すことができる新聞取出し機構を提供することができる。
【図面の簡単な説明】
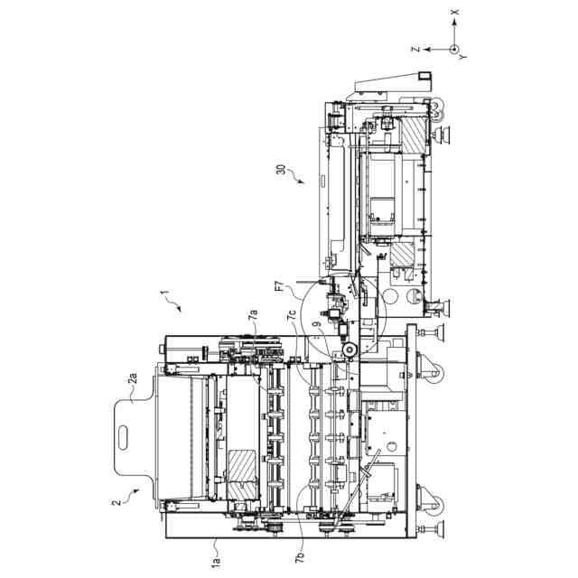
【0009】
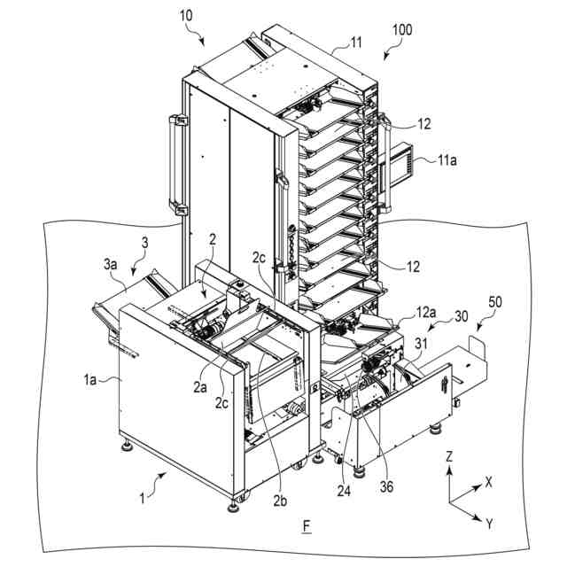
図1は、本発明の一実施形態に係る新聞処理装置を示す外観斜視図である。
図2は、図1の新聞処理装置の丁合機構を示す概略図である。
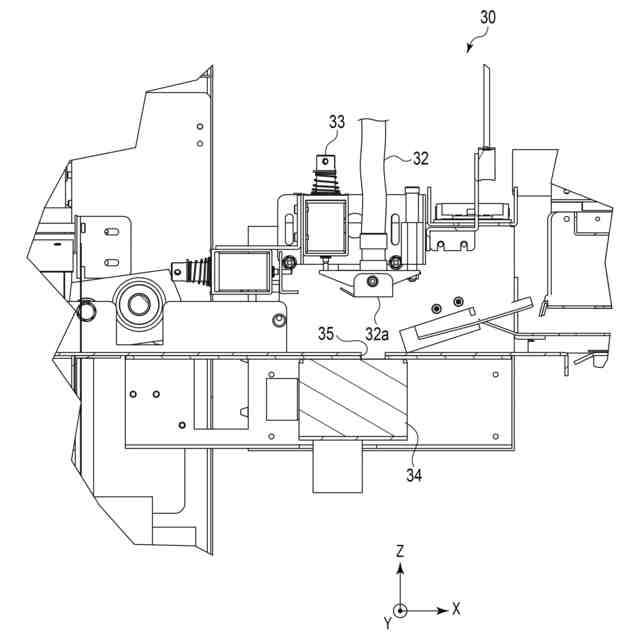
図3は、図1の新聞処理装置の新聞取出し機構を示す概略図である。
図4は、図3の新聞取出し機構へ投入する新聞の姿勢を説明するための図である。
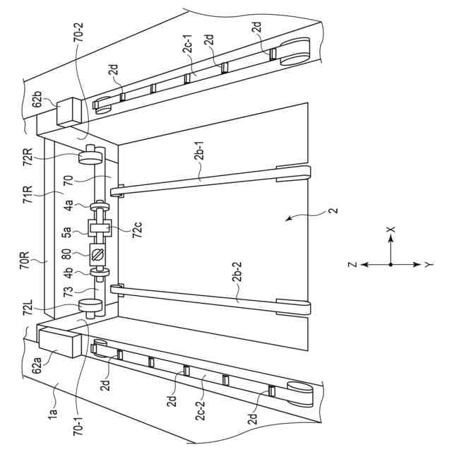
図5は、図3の新聞取出し機構を矢印F5方向から見た斜視図である。
図6は、図1の新聞処理装置の新聞取出し機構と組込機構を示す正面図である。
図7は、図6の領域F7を部分的に拡大して示す部分拡大図である。
図8は、図1の新聞処理装置の制御系を示すブロック図である。
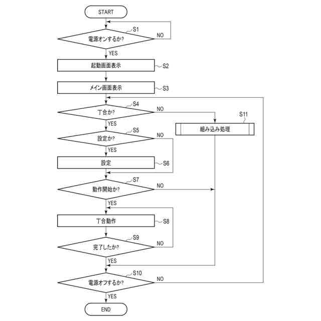
図9は、図1の新聞処理装置の動作例を説明するためのフローチャートである。
図10は、図9のフローチャートの組み込み処理を説明するためのフローチャートである。
図11は、図10のフローチャートの組み込み動作を説明するためのフローチャートである。
図12は、図3の新聞取出し機構の領域F12を部分的に拡大して示す部分拡大図である。
図13は、図12の構成を矢印F13の方向から見た平面図である。
図14は、図12の要部の構成を示す斜視図である。
図15は、図14の構成を矢印F15に沿って切断した断面図である。
図16は、図3の新聞取出し機構の制御系の構成を示すブロック図である。
【発明を実施するための形態】
【0010】
以下、本発明を実施するための形態について図面を参照して説明する。
図1に示すように、新聞処理装置100は、新聞取出し機構1、丁合機構10、組込機構30、及びリフター50を備える。新聞取出し機構1は、丁合機構10の筐体11の左側に並べて配置される。組込機構30は、丁合機構10の前方で新聞取出し機構1の右側に並べて配置される。リフター50は、組込機構30の右側に並べて配置される。新聞取出し機構1、丁合機構10、組込機構30、及びリフター50は、共通の単一の筐体に組み込んでもよい。新聞処理装置100は、水平なフロアFに設置する。
(【0011】以降は省略されています)
この特許をJ-PlatPat(特許庁公式サイト)で参照する
関連特許
個人
収容箱
4か月前
個人
束ね具
16日前
個人
コンベア
6か月前
個人
容器
10か月前
個人
段ボール箱
8か月前
個人
ゴミ収集器
8か月前
個人
段ボール箱
7か月前
個人
テープ引出機
16日前
個人
土嚢運搬器具
9か月前
個人
バンド
3か月前
個人
宅配システム
8か月前
個人
角筒状構造体
6か月前
個人
楽ちんハンド
6か月前
個人
コード類収納具
9か月前
個人
棒状体収容容器
20日前
個人
お薬の締結装置
6か月前
個人
閉塞装置
11か月前
個人
包装容器
2か月前
個人
廃棄物収容容器
3か月前
個人
積み重ね用補助具
3か月前
株式会社コロナ
梱包材
6か月前
個人
ゴミ処理機
10か月前
株式会社和気
包装用箱
10か月前
株式会社和気
包装用箱
1か月前
個人
蓋閉止構造
4か月前
個人
蓋閉止構造
4か月前
株式会社バンダイ
物品
1か月前
個人
貯蔵サイロ
8か月前
個人
把手付米袋
5か月前
個人
搬送システム
7か月前
三甲株式会社
容器
6か月前
個人
輸送積荷用動吸振器
7か月前
株式会社イシダ
搬送装置
7か月前
株式会社KY7
封止装置
4か月前
個人
介護用コップ
3か月前
株式会社新弘
容器
3か月前
続きを見る
他の特許を見る