TOP
|
特許
|
意匠
|
商標
特許ウォッチ
Twitter
他の特許を見る
10個以上の画像は省略されています。
公開番号
2025177673
公報種別
公開特許公報(A)
公開日
2025-12-05
出願番号
2024084715
出願日
2024-05-24
発明の名称
能動体、能動体の製造方法および能動体の作動方法
出願人
国立大学法人東海国立大学機構
,
株式会社TISM
代理人
個人
主分類
F15B
15/02 20060101AFI20251128BHJP(流体圧アクチュエータ;水力学または空気力学一般)
要約
【課題】新たな原理により基材を湾曲できる能動体を提供する。
【解決手段】能動体であって、該能動体は、
基材と、
膨張可能なチューブと、
糸状体と、
前記チューブが前記糸状体により前記基材上に縫い付け固定されることで形成された第1固定部と、
を含み、
前記第1固定部は、前記チューブが膨張する力を、前記基材を湾曲させる力に変換することで前記基材を湾曲させる湾曲力発生部として機能し、
前記チューブを跨ぐように前記基材上に縫い付けられた前記糸状体の方向および配置により前記基材を湾曲させる力の方向が決まる
能動体。
【選択図】図2
特許請求の範囲
【請求項1】
能動体であって、該能動体は、
基材と、
膨張可能なチューブと、
糸状体と、
前記チューブが前記糸状体により前記基材上に縫い付け固定されることで形成された第1固定部と、
を含み、
前記第1固定部は、前記チューブが膨張する力を、前記基材を湾曲させる力に変換することで前記基材を湾曲させる湾曲力発生部として機能し、
前記チューブを跨ぐように前記基材上に縫い付けられた前記糸状体の方向および配置により前記基材を湾曲させる力の方向が決まる
能動体。
続きを表示(約 3,300 文字)
【請求項2】
前記チューブの中心軸方向を軸方向と定義し、
前記第1固定部を前記軸方向に見た際に、
前記軸方向から前記基材側の方向を基材方向と定義し、
前記軸方向から前記基材側とは反対方向をチューブ方向と定義した際に、
前記基材を湾曲させる力が、
前記軸方向に見て、前記基材を右方向にひねる力、
前記軸方向に見て、前記基材を左方向にひねる力、
前記基材を基材方向に屈曲する力、および、
前記基材をチューブ方向に屈曲する力、
からなる群から選択した少なくとも一つである
請求項1に記載の能動体。
【請求項3】
前記糸状体の内、前記基材より前記チューブ側の部分を糸状体第1部分と定義し、
前記軸方向に略直交する前記基材上の仮想線を基準線と定義し、
前記第1固定部を前記チューブ側から見た際に、
前記糸状体第1部分が、前記基準線から前記軸方向に右側上に縫い付けられている時に前記基材を右方向にひねる力が発生し、
前記糸状体第1部分が、前記基準線から前記軸方向に左側上に縫い付けられている時に前記基材を左方向にひねる力が発生し、
前記糸状体第1部分が、前記チューブの左右の一方の側から他方の側にジグザグ状に縫い付けられている時に前記基材を基材方向に屈曲する力が発生し、
前記糸状体第1部分が、前記基準線から前記軸方向に右側上に縫い付けられている部分と、前記基準線から前記軸方向に左側上に縫い付けられている部分と、が交差するように縫い付けられている時に前記基材をチューブ方向に屈曲する力が発生する
請求項2に記載の能動体。
【請求項4】
湾曲力非発生部を更に含み、前記湾曲力非発生部が、
前記チューブが前記糸状体により前記基材上に縫い付け固定されることで形成され、且つ、前記チューブが膨張する力が前記基材を湾曲させる力に変換されない第2固定部、
または、
前記チューブが、前記チューブが膨張した際に前記チューブが破裂することを防止するための破裂防止部材で被覆された部分、
である
請求項1に記載の能動体。
【請求項5】
能動体の製造方法であって、該能動体は、
基材と、膨張可能なチューブと、糸状体と、前記チューブが前記糸状体により前記基材上に縫い付け固定されることで形成された第1固定部と、を含み、
前記第1固定部は、前記チューブが膨張する力を、前記基材を湾曲させる力に変換することで前記基材を湾曲させる湾曲力発生部として機能し、
製造方法は、
能動体において、前記基材を湾曲させる方向および湾曲させる部位を設計する設計工程と、
前記設計工程の設計に基づき、前記基材上に前記チューブを跨ぐように縫い付ける際の前記糸状体の縫い付け方向および配置を設計し、設計された前記糸状体の縫い付け方向および配置に基づき、前記基材上に前記チューブを前記糸状体で縫い付けて前記第1固定部を作製する第1固定部作製工程と、
を含む
製造方法。
【請求項6】
前記チューブの中心軸方向を軸方向と定義し、
前記第1固定部を前記軸方向に見た際に、
前記軸方向から前記基材側の方向を基材方向と定義し、
前記軸方向から前記基材側とは反対方向をチューブ方向と定義した際に、
前記設計工程では、前記第1固定部が、
前記軸方向に見て、前記基材を右方向にひねる力、
前記軸方向に見て、前記基材を左方向にひねる力、
前記基材を基材方向に屈曲する力、および、
前記基材をチューブ方向に屈曲する力、
からなる群から選択した少なくとも一つを含むように設計する
請求項5に記載の製造方法。
【請求項7】
前記糸状体の内、前記基材より前記チューブ側の部分を糸状体第1部分と定義し、
前記軸方向に略直交する前記基材上の仮想線を基準線と定義し、
前記第1固定部を前記チューブ側から見た際に、
前記第1固定部作製工程は、
前記基材を右方向にひねる力を発生させる場合は、前記糸状体第1部分が前記基準線から前記軸方向に右側上となるように前記糸状体を縫い付け、
前記基材を左方向にひねる力を発生させる場合は、前記糸状体第1部分が前記基準線から前記軸方向に左側上となるように前記糸状体を縫い付け、
前記基材を基材方向に屈曲する力を発生させる場合は、前記糸状体第1部分が前記チューブの左右の一方の側から他方の側にジグザグ状となるように前記糸状体を縫い付け、
前記基材をチューブ方向に屈曲する力を発生させる場合は、前記糸状体第1部分が前記基準線から前記軸方向に右側上に縫い付けられている部分と、前記基準線から前記軸方向に左側上に縫い付けられている部分と、が交差するように前記糸状体を縫い付ける
請求項6に記載の製造方法。
【請求項8】
能動体の作動方法であって、該能動体は、
基材と、膨張可能なチューブと、糸状体と、前記チューブが前記糸状体により前記基材上に縫い付け固定されることで形成された第1固定部と、前記チューブに気体を送気する送気装置と、送気装置と前記チューブを接続する送気管と、を含み、
前記第1固定部は、前記チューブが膨張する力を、前記基材を湾曲させる力に変換することで前記基材を湾曲させる湾曲力発生部として機能し、
前記基材を湾曲させる力は、前記チューブを跨ぐように前記基材上に縫い付けられる前記糸状体の方向および配置に応じて変化し、
作動方法は、
前記チューブ内に気体を送気する送気工程と、
送気工程により前記チューブが膨張する力を、前記第1固定部が前記基材を湾曲させる力に変換することで前記基材を湾曲させる基材湾曲工程と、
を含む
作動方法。
【請求項9】
前記チューブの中心軸方向を軸方向と定義し、
前記第1固定部を前記軸方向に見た際に、
前記軸方向から前記基材側の方向を基材方向と定義し、
前記軸方向から前記基材側とは反対方向をチューブ方向と定義した際に、
前記基材を湾曲させる力が、
前記軸方向に見て、前記基材を右方向にひねる力、
前記軸方向に見て、前記基材を左方向にひねる力、
前記基材を基材方向に屈曲する力、および、
前記基材をチューブ方向に屈曲する力、
からなる群から選択した少なくとも一つを含む
請求項8に記載の作動方法。
【請求項10】
前記糸状体の内、前記基材より前記チューブ側の部分を糸状体第1部分と定義し、
前記軸方向に略直交する前記基材上の仮想線を基準線と定義し、
前記第1固定部を前記チューブ側から見た際に、
前記第1固定部は、
前記基材を右方向にひねる力を発生させる場合は、前記糸状体第1部分が前記基準線から前記軸方向に右側上となるように前記糸状体が縫い付けられ、
前記基材を左方向にひねる力を発生させる場合は、前記糸状体第1部分が前記基準線から前記軸方向に左側上となるように前記糸状体が縫い付けられ、
前記基材を基材方向に屈曲する力を発生させる場合は、前記糸状体第1部分が前記チューブの左右の一方の側から他方の側にジグザグ状となるように前記糸状体が縫い付けられ、
前記基材をチューブ方向に屈曲する力を発生させる場合は、前記糸状体第1部分が前記基準線から前記軸方向に右側上に縫い付けられている部分と、前記基準線から前記軸方向に左側上に縫い付けられている部分と、が交差するように前記糸状体が縫い付けられている
請求項9に記載の作動方法。
発明の詳細な説明
【技術分野】
【0001】
本出願における開示は、能動体、能動体の製造方法および能動体の作動方法に関する。
続きを表示(約 3,700 文字)
【背景技術】
【0002】
従来から、人体に装着する能動体であって、装着した人体に対して所定の動作を誘導する能動体が知られている。例えば、特許文献1には、様々な種類の人工筋糸を、布、プラスチックまたは金属等で構成された基材に保持した能動体が開示されている。特許文献1に記載の能動体では、同一方向に平行となるように配列された複数のマッキベン人工筋糸が、保持部によって基材に保持されており、複数のマッキベン人工筋糸の収縮力により、基材を湾曲させる力が発生する。
【先行技術文献】
【特許文献】
【0003】
特開2019-98122号公報
【発明の概要】
【発明が解決しようとする課題】
【0004】
特許文献1に記載の能動体は、格子状の基材にマッキベン人工筋糸を配列させることで基材を湾曲させている。そのため、製造工程が煩雑になると共にコストアップにつながるという問題がある。したがって、格子状の基材にマッキベン人工筋糸を配列させることで基材を湾曲させることに代え、新たな原理により基材を湾曲できる能動体の開発が望まれる。
【0005】
本出願における開示は、上記課題を解決すべくなされたものであり、鋭意研究を行ったところ、(1)従来のマッキベン人工筋糸とは異なり、組み紐で被覆されていない膨張可能なチューブを用い、(2)当該チューブを基材上に糸状体を用いて縫い付け固定することで第1固定部を形成し、(3)第1固定部を形成する糸状体の縫い付け方向および配置を調整すると、(4)第1固定部が、チューブが膨張する力を基材を湾曲させる力に変換することで基材を湾曲させる湾曲力発生部として機能すること、を新たに見出した。
【0006】
本出願における開示の目的は、新たな原理により基材を湾曲できる能動体、該能動体の製造方法および該能動体の作動方法を提供することである。
【課題を解決するための手段】
【0007】
本出願における開示は、以下に示す、能動体、能動体の製造方法および能動体の作動方法に関する。
【0008】
(1)能動体であって、該能動体は、
基材と、
膨張可能なチューブと、
糸状体と、
前記チューブが前記糸状体により前記基材上に縫い付け固定されることで形成された第1固定部と、
を含み、
前記第1固定部は、前記チューブが膨張する力を、前記基材を湾曲させる力に変換することで前記基材を湾曲させる湾曲力発生部として機能し、
前記チューブを跨ぐように前記基材上に縫い付けられた前記糸状体の方向および配置により前記基材を湾曲させる力の方向が決まる
能動体。
(2)前記チューブの中心軸方向を軸方向と定義し、
前記第1固定部を前記軸方向に見た際に、
前記軸方向から前記基材側の方向を基材方向と定義し、
前記軸方向から前記基材側とは反対方向をチューブ方向と定義した際に、
前記基材を湾曲させる力が、
前記軸方向に見て、前記基材を右方向にひねる力、
前記軸方向に見て、前記基材を左方向にひねる力、
前記基材を基材方向に屈曲する力、および、
前記基材をチューブ方向に屈曲する力、
からなる群から選択した少なくとも一つである
上記(1)に記載の能動体。
(3)前記糸状体の内、前記基材より前記チューブ側の部分を糸状体第1部分と定義し、
前記軸方向に略直交する前記基材上の仮想線を基準線と定義し、
前記第1固定部を前記チューブ側から見た際に、
前記糸状体第1部分が、前記基準線から前記軸方向に右側上に縫い付けられている時に前記基材を右方向にひねる力が発生し、
前記糸状体第1部分が、前記基準線から前記軸方向に左側上に縫い付けられている時に前記基材を左方向にひねる力が発生し、
前記糸状体第1部分が、前記チューブの左右の一方の側から他方の側にジグザグ状に縫い付けられている時に前記基材を基材方向に屈曲する力が発生し、
前記糸状体第1部分が、前記基準線から前記軸方向に右側上に縫い付けられている部分と、前記基準線から前記軸方向に左側上に縫い付けられている部分と、が交差するように縫い付けられている時に前記基材をチューブ方向に屈曲する力が発生する
上記(2)に記載の能動体。
(4)湾曲力非発生部を更に含み、前記湾曲力非発生部が、
前記チューブが前記糸状体により前記基材上に縫い付け固定されることで形成され、且つ、前記チューブが膨張する力が前記基材を湾曲させる力に変換されない第2固定部、
または、
前記チューブが、前記チューブが膨張した際に前記チューブが破裂することを防止するための破裂防止部材で被覆された部分、
である
上記(1)に記載の能動体。
(5)能動体の製造方法であって、該能動体は、
基材と、膨張可能なチューブと、糸状体と、前記チューブが前記糸状体により前記基材上に縫い付け固定されることで形成された第1固定部と、を含み、
前記第1固定部は、前記チューブが膨張する力を、前記基材を湾曲させる力に変換することで前記基材を湾曲させる湾曲力発生部として機能し、
製造方法は、
能動体において、前記基材を湾曲させる方向および湾曲させる部位を設計する設計工程と、
前記設計工程の設計に基づき、前記基材上に前記チューブを跨ぐように縫い付ける際の前記糸状体の縫い付け方向および配置を設計し、設計された前記糸状体の縫い付け方向および配置に基づき、前記基材上に前記チューブを前記糸状体で縫い付けて前記第1固定部を作製する第1固定部作製工程と、
を含む
製造方法。
(6)前記チューブの中心軸方向を軸方向と定義し、
前記第1固定部を前記軸方向に見た際に、
前記軸方向から前記基材側の方向を基材方向と定義し、
前記軸方向から前記基材側とは反対方向をチューブ方向と定義した際に、
前記設計工程では、前記第1固定部が、
前記軸方向に見て、前記基材を右方向にひねる力、
前記軸方向に見て、前記基材を左方向にひねる力、
前記基材を基材方向に屈曲する力、および、
【発明の効果】
【0009】
本出願で開示する能動体は、マッキベン人工筋糸ではなく、膨張可能なチューブを直接基材に縫い付けることで第1固定部を形成し、当該第1固定部が基材を湾曲させる湾曲力発生部として機能する。したがって、新たな原理の能動体を提供できると共に、製造の利便性が向上する。
【図面の簡単な説明】
【0010】
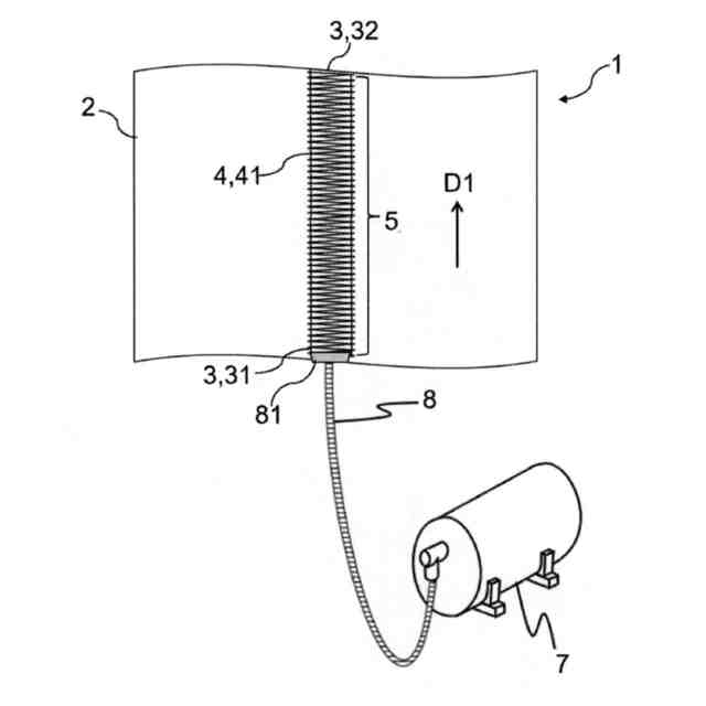
図1Aは、能動体1の概略を示す上面図である。
図1Bは、図1Aを軸方向に見た概略図である。
図2は、基材2を湾曲させる力の方向と、当該方向に湾曲する力を発生するための糸状体4の縫い付け方向および配置について説明するための概略図である。
図3は、基材2を湾曲させる力の方向と、当該方向に湾曲する力を発生するための糸状体4の縫い付け方向および配置について説明するための概略図である。
図4は、基材2を湾曲させる力の方向と、当該方向に湾曲する力を発生するための糸状体4の縫い付け方向および配置について説明するための概略図である。
図5は、基材2を湾曲させる力の方向と、当該方向に湾曲する力を発生するための糸状体4の縫い付け方向および配置について説明するための概略図である。
図6は、能動体1が採用可能な任意付加的な構成例である湾曲力非発生部について説明するための概略図である。
図7は、能動体1の製造方法のフローチャートである
図8は、能動体1の作動方法を実施する際の装置の概略を説明する図である。
図9は、能動体1の作動方法のフローチャートである。
図10は、実施例1の能動体1の第1固定部5のサイズを示す概略図、および、作動方法を実施した際の写真である。
図11は、実施例2の能動体1の第1固定部5のサイズを示す概略図、および、作動方法を実施した際の写真である。
図12は、実施例3の能動体1の第1固定部5のサイズを示す概略図、および、作動方法を実施した際の写真である。
図13は、実施例4の能動体1の第1固定部5のサイズを示す概略図、および、作動方法を実施した際の写真である。
【発明を実施するための形態】
(【0011】以降は省略されています)
この特許をJ-PlatPat(特許庁公式サイト)で参照する
関連特許
国立大学法人東海国立大学機構
予知装置
1日前
国立大学法人東海国立大学機構
気体分離装置
15日前
国立大学法人東海国立大学機構
階層的多孔質金属
7日前
国立大学法人東海国立大学機構
ポリヌクレオチド
7日前
ニチコン株式会社
給電システム
15日前
国立大学法人東海国立大学機構
流体デバイスおよび核酸分離方法
7日前
国立大学法人東海国立大学機構
健康支援装置および献立提供方法
29日前
豊田合成株式会社
硫黄架橋ゴムの脱硫方法
9日前
三菱マテリアル株式会社
表面被覆切削工具
23日前
トヨタ紡織株式会社
材料、及び材料の製造方法
今日
国立大学法人東海国立大学機構
能動体、能動体の製造方法および能動体の作動方法
今日
パナソニックインダストリー株式会社
電磁波吸収体
15日前
横浜ゴム株式会社
ゴムと金属との接着性の評価方法
7日前
株式会社SCREENホールディングス
エッチング装置
28日前
トヨタ紡織株式会社
担持粒子、混合物、及び担持粒子の製造方法
今日
国立大学法人 筑波大学
殺虫剤、殺虫活性を有する新規化合物及びその用途
28日前
公立大学法人名古屋市立大学
換気困難予測装置、換気困難予測方法、及びプログラム
1か月前
トヨタ自動車株式会社
ダイヤモンド複合金属薄膜及びダイヤモンド複合金属薄膜の製造方法
21日前
豊和工業株式会社
クランプ装置
7か月前
株式会社豊田自動織機
流体圧シリンダ
3か月前
三和テッキ株式会社
油圧アクチュエータ
1か月前
株式会社コスメック
シリンダ装置
4か月前
株式会社不二越
電磁切替弁
3か月前
株式会社不二越
油圧システム
6か月前
SMC株式会社
増圧装置
28日前
個人
省エネ改良型油圧リバースブースター
3か月前
学校法人東海大学
流れ制御装置
7か月前
日立建機株式会社
作業機械
2か月前
日立建機株式会社
作業機械
2か月前
株式会社不二越
油圧駆動システム
3か月前
ナブテスコ株式会社
方向切換弁装置
29日前
CKD株式会社
パルスエア発生装置
23日前
ナブテスコ株式会社
方向切換弁装置
6か月前
住友建機株式会社
ショベルの制御方法
4か月前
学校法人 中央大学
人工筋アクチュエータ装置
4か月前
株式会社WGE
増圧装置
1か月前
続きを見る
他の特許を見る