TOP
|
特許
|
意匠
|
商標
特許ウォッチ
Twitter
他の特許を見る
公開番号
2025176384
公報種別
公開特許公報(A)
公開日
2025-12-04
出願番号
2024082500
出願日
2024-05-21
発明の名称
予知装置
出願人
国立大学法人東海国立大学機構
代理人
個人
主分類
A61B
5/352 20210101AFI20251127BHJP(医学または獣医学;衛生学)
要約
【課題】偽陽性の検知を抑制することによって異常の予知精度を向上する技術を提供する。
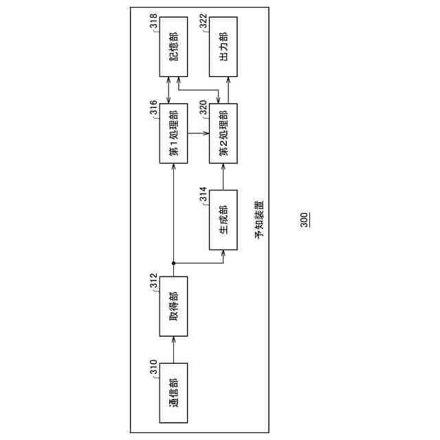
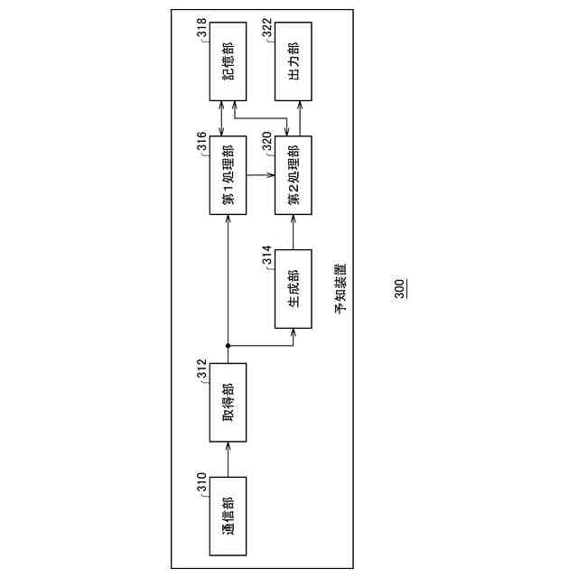
【解決手段】取得部312は、RRIデータを取得する。生成部314は、RRIデータをもとに心拍変動指標データを生成する。第1処理部316は、RRIデータをオートエンコーダに入力することによって、被検者の異常発生の可能性を検知する。第2処理部320は、第1処理部316において被検者の異常発生の可能性が検知された場合、心拍変動指標データをもとに被検者の異常発生を予知する。
【選択図】図2
特許請求の範囲
【請求項1】
被検者の心電信号におけるR波の間隔が示されたRRIデータを取得する取得部と、
前記取得部において取得したRRIデータをもとに、心拍に関する複数種類の指標のそれぞれについての指標値が含まれた心拍変動指標データを生成する生成部と、
前記取得部において取得したRRIデータを入力データとしてオートエンコーダに入力してから、前記オートエンコーダにおいて再構築された入力データを出力データとして取得するとともに、入力データと出力データとの誤差がしきい値を一定期間にわたって超えた場合に前記被検者の異常発生の可能性を検知する第1処理部と、
前記第1処理部において前記被検者の異常発生の可能性が検知された場合、前記生成部において生成した心拍変動指標データをもとに前記被検者の異常発生を予知する第2処理部と、
を備える予知装置。
続きを表示(約 170 文字)
【請求項2】
前記第1処理部における前記オートエンコーダは、正常時の心電信号から取得されたRRIデータにより学習されている請求項1に記載の予知装置。
【請求項3】
前記第2処理部は、前記第1処理部において前記被検者の異常発生の可能性が検知されていない場合、処理を実行しない請求項1または2に記載の予知装置。
発明の詳細な説明
【技術分野】
【0001】
本開示は、予知技術であり、特にRR間隔(RR Interval; RRI)データを使用する予知装置に関する。
続きを表示(約 1,900 文字)
【背景技術】
【0002】
てんかんは世界で最も一般的な神経疾患の1つであり、推定6000万人以上が罹患していると見積もられている。てんかんにおける問題は、予知不可能なてんかん発作である。てんかん発作では、意識を減損、消失したり、けいれんがおきたりする。これにより交通事故や、溺死、睡眠中の窒息による死亡につながることもある。また、てんかん発作後に心停止にいたることもあり、てんか突然死(SUDEP)と呼ばれる。
【0003】
発作を抑制するために、抗てんかん薬(AED)の開発と処方が増えている。しかし、約30%のてんかん患者は薬物治療に反応せず、重篤な副作用がおきる可能性ある。また、妊娠の可能性がある女性にはAEDは使用できないことに注意しなければならない。一方で、てんかん外科手術は必ずしも実施可能とは限らない。発作の原因を特定して外科的に取り除くことは難しく、10年後も発作がない状態を維持できる患者は47%にとどまる。
【0004】
脳波(EEG)測定は、患者の頭皮に取り付けた電極で脳波を観察することにより、長短期記憶(LSTM)モデルを含む様々な方法で、成功率100%、偽警報率0.11±0.02回/時間で発作を予知できることが示されている。しかし、広く利用可能なポータブルEEG装置は実現できないため、EEG測定は病院での検査に限定されている。
【0005】
これまで、てんかん発作は自律神経系の変化によって予知できる可能性があると報告されており、心臓関連信号の変化に対する関心が高まっている。主に、心拍変動(HRV)とR-R間隔(RRI)の変化に注目が集まっている。例えば、プロセス制御で一般的に使用される多変量統計的プロセス管理(MSPC)を用いて、HRVデータの異常から発作が予知される(例えば、非特許文献1参照)。
【先行技術文献】
【非特許文献】
【0006】
K. Fujiwara et al.、「Epileptic seizure prediction based on multivariate statistical process control of heart rate variability features」、IEEE Transactions on Biomedical Engineering、2016、vol. 63、No 6、p.1321-1332
【発明の概要】
【発明が解決しようとする課題】
【0007】
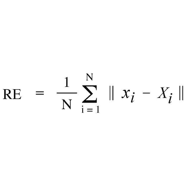
RRIデータからてんかん発作を予知するために、自己注意式オートエンコーダ(SA-AE)を使用することが可能である。このモデルでは、RRIデータを再構成し、その再構成誤差(RE)を利用して発作予知がなされる。しかしながら、SA-AEモデルは多くの偽陽性(FP)も生成し、予知システムの使用性を低下させている。そこで、感度は維持しつつFPをより抑制する必要がある。
【0008】
本開示はこうした状況に鑑みてなされており、偽陽性の検知を抑制することによって異常の予知精度を向上する技術を提供することにある。
【課題を解決するための手段】
【0009】
上記課題を解決するために、本開示のある態様の予知装置は、被検者の心電信号におけるR波の間隔が示されたRRIデータを取得する取得部と、取得部において取得したRRIデータをもとに、心拍に関する複数種類の指標のそれぞれについての指標値が含まれた心拍変動指標データを生成する生成部と、取得部において取得したRRIデータを入力データとしてオートエンコーダに入力してから、オートエンコーダにおいて再構築された入力データを出力データとして取得するとともに、入力データと出力データとの誤差がしきい値を一定期間にわたって超えた場合に被検者の異常発生の可能性を検知する第1処理部と、第1処理部において被検者の異常発生の可能性が検知された場合、生成部において生成した心拍変動指標データをもとに被検者の異常発生を予知する第2処理部と、を備える。
【0010】
なお、以上の構成要素の任意の組合せ、本開示の表現を方法、装置、システム、記録媒体、コンピュータプログラムなどの間で変換したものもまた、本開示の態様として有効である。
【発明の効果】
(【0011】以降は省略されています)
この特許をJ-PlatPat(特許庁公式サイト)で参照する
関連特許
他の特許を見る