TOP
|
特許
|
意匠
|
商標
特許ウォッチ
Twitter
他の特許を見る
10個以上の画像は省略されています。
公開番号
2025167738
公報種別
公開特許公報(A)
公開日
2025-11-07
出願番号
2024072610
出願日
2024-04-26
発明の名称
エッチング装置
出願人
株式会社SCREENホールディングス
,
国立大学法人東海国立大学機構
代理人
個人
,
個人
主分類
C03C
15/00 20060101AFI20251030BHJP(ガラス;鉱物またはスラグウール)
要約
【課題】高いスループットで絶縁基板に複数の貫通穴を形成することができるエッチング装置を提供する。
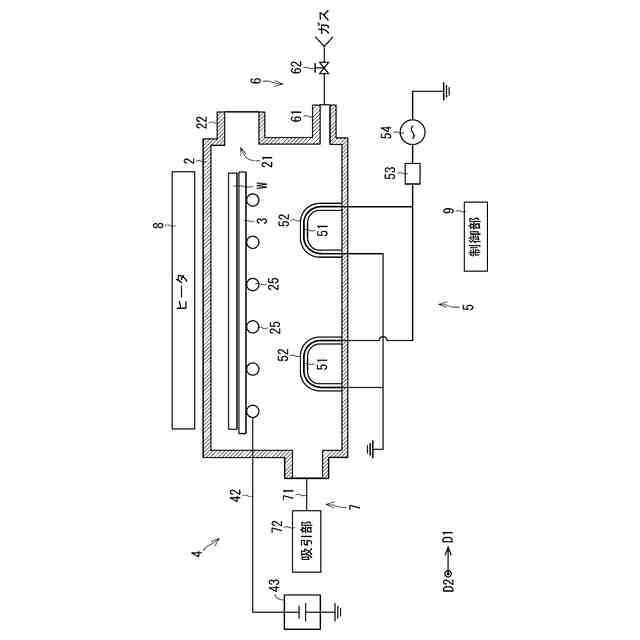
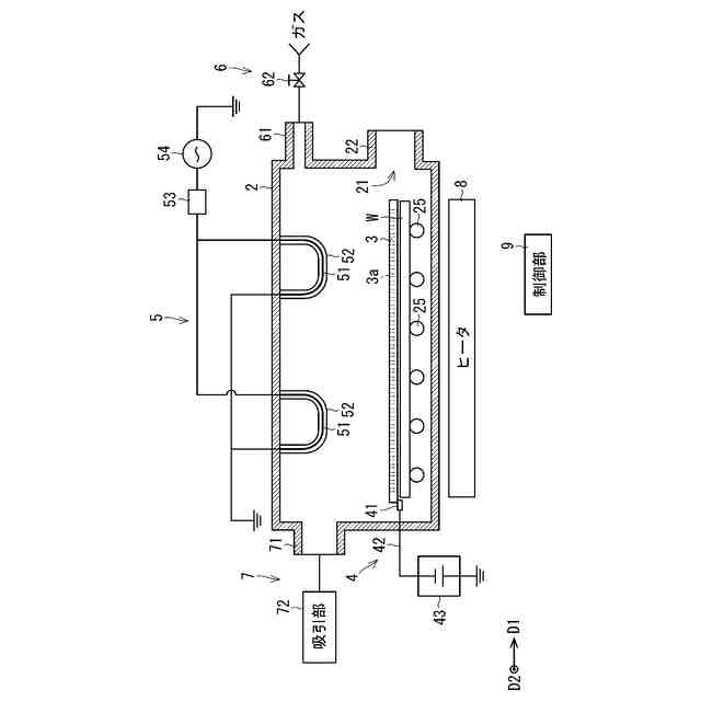
【解決手段】エッチング装置1は、絶縁基板Wに複数の貫通穴を形成するエッチング装置である。エッチング装置1は、チャンバ2と、マスク3と、バイアス印加部4と、プラズマ生成部5とを備えている。チャンバ2には絶縁基板Wが搬入される。マスク3は複数の第1開口3aを有し、絶縁基板Wと対面する。バイアス印加部4はマスク3に負電圧を印加する。プラズマ生成部5はプラズマを生成し、プラズマ中の陽イオンをマスク3の複数の第1開口31aを通じて絶縁基板Wに供給する。
【選択図】図1
特許請求の範囲
【請求項1】
絶縁基板に複数の貫通穴を形成するエッチング装置であって、
前記絶縁基板が搬入されるチャンバと、
複数の第1開口を有し、前記絶縁基板と対面するマスクと、
前記マスクに負電圧を印加するバイアス印加部と、
プラズマを生成し、前記プラズマ中の陽イオンを前記マスクの前記複数の第1開口を通じて前記絶縁基板に供給するプラズマ生成部と
を備える、エッチング装置。
続きを表示(約 1,000 文字)
【請求項2】
請求項1に記載のエッチング装置であって、
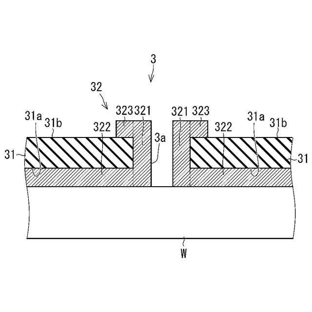
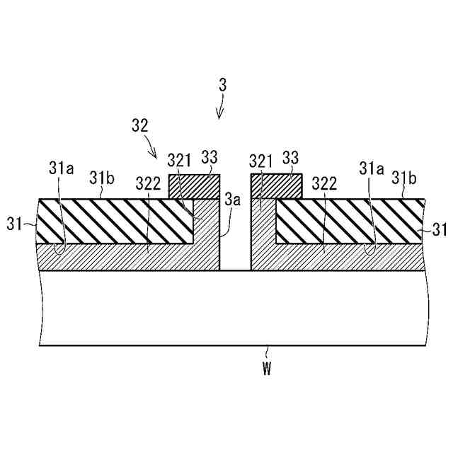
前記マスクは、
複数の第2開口が形成された絶縁板と、
導電膜と
を含み、
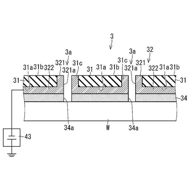
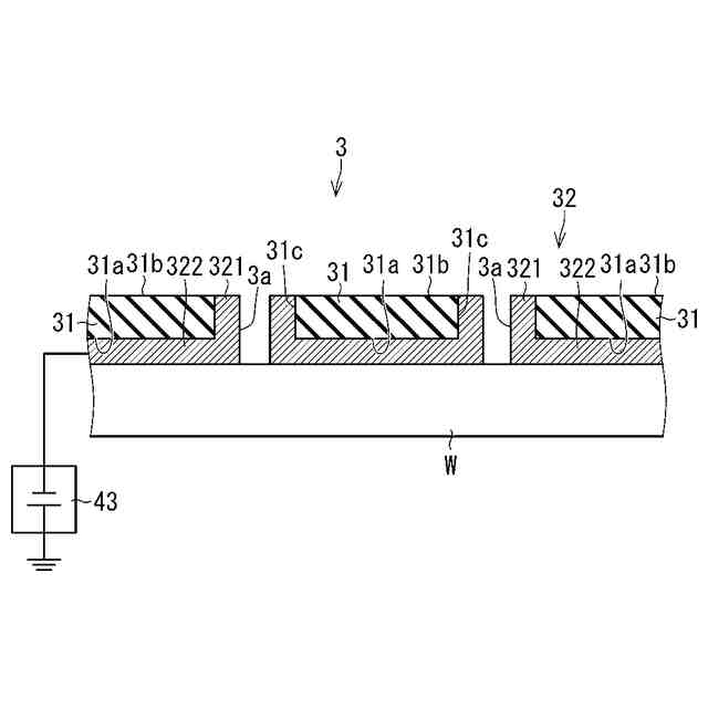
前記導電膜は、前記絶縁板のうち前記複数の第2開口の各々の内周面に設けられ、前記第1開口を形成する第1導電部分を含み、
前記バイアス印加部は前記導電膜に前記負電圧を印加する、エッチング装置。
【請求項3】
請求項2に記載のエッチング装置であって、
前記導電膜は、前記絶縁板のうちの前記絶縁基板側の第1主面に形成され、前記第1導電部分どうしを接続する第2導電部分を含む、エッチング装置。
【請求項4】
請求項2または請求項3に記載のエッチング装置であって、
前記第1導電部分の一部は、前記絶縁板のうちの前記絶縁基板側の第1主面とは逆側の第2主面よりも突出している、エッチング装置。
【請求項5】
請求項2または請求項3に記載のエッチング装置であって、
前記マスクは、前記第1導電部分と対面し、前記プラズマから前記第1導電部分を保護する保護膜をさらに含む、エッチング装置。
【請求項6】
請求項2または請求項3に記載のエッチング装置であって、
前記マスクは、
前記絶縁板と前記絶縁基板との間に設けられ、前記絶縁板および前記導電膜と取り外し可能に設けられた取替部をさらに含み、
前記取替部は、前記第1導電部分の開口とともに前記第1開口を形成する開口を有し、
前記取替部の前記開口の直径は前記第1導電部分の前記開口の直径よりも小さい、エッチング装置。
【請求項7】
請求項2または請求項3に記載のエッチング装置であって、
前記絶縁基板に向かって加熱用の光を出射するヒータをさらに備え、
前記マスクは、
前記絶縁板と前記絶縁基板との間に設けられ、前記光についての吸収率が前記絶縁基板の吸収率よりも高い吸収部を含む、エッチング装置。
【請求項8】
請求項1から請求項3のいずれか一つに記載のエッチング装置であって、
前記マスクを支持しつつ、前記マスクおよび前記絶縁基板を搬送する複数の導電性のローラを含み、
前記バイアス印加部は、前記ローラに前記負電圧を印加する、エッチング装置。
発明の詳細な説明
【技術分野】
【0001】
本開示は、エッチング装置に関する。
続きを表示(約 1,200 文字)
【背景技術】
【0002】
従来から、ファンアウトパネルレベルパッケージ分野において、チップと基板との間にインターポーザが設けられる。インターポーザはガラス系基板である。該ガラス系基板には複数の貫通穴が形成されており、該貫通穴には導電部材が充填される。インターポーザはチップと基板との間の電気的な接続を実現する。
【0003】
このようなインターポーザを製造するに際して、ガラス系基板に対して、レーザ加工およびウェットエッチングによって貫通穴を形成する技術が提案されている(特許文献1~3)。
【先行技術文献】
【特許文献】
【0004】
特表2019-530629号公報
特開2020-66551号公報
特開2017-61401号公報
【発明の概要】
【発明が解決しようとする課題】
【0005】
レーザ加工では、ガラス系基板にマイクロクラックが生じるおそれがある。このため、ガラス系基板を低速に加工するか、あるいは、パルスレーザを用いてガラス系基板を加工することが望ましい。しかしながら、このような手法では、複数の貫通穴を形成するために比較的に長い時間が必要であった。特に、貫通穴の個数が数百万個以上になると、レーザ加工では、スループットが低い。
【0006】
そこで、本開示は、高いスループットで絶縁基板に複数の貫通穴を形成することができるエッチング装置を提供することを目的とする。
【課題を解決するための手段】
【0007】
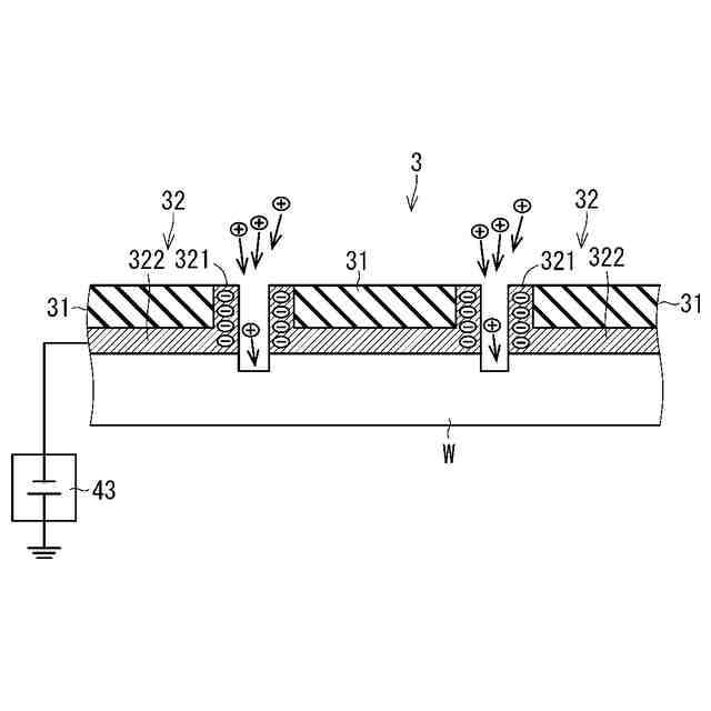
第1の態様は、絶縁基板に複数の貫通穴を形成するエッチング装置であって、前記絶縁基板が搬入されるチャンバと、複数の第1開口を有し、前記絶縁基板と対面するマスクと、前記マスクに負電圧を印加するバイアス印加部と、プラズマを生成し、前記プラズマ中の陽イオンを前記マスクの前記複数の第1開口を通じて前記絶縁基板に供給するプラズマ生成部とを備える。
【0008】
第2の態様は、第1の態様にかかるエッチング装置であって、前記マスクは、複数の第2開口が形成された絶縁板と、導電膜とを含み、前記導電膜は、前記絶縁板のうち前記複数の第2開口の各々の内周面に設けられ、前記第1開口を形成する第1導電部分を含み、前記バイアス印加部は前記導電膜に前記負電圧を印加する。
【0009】
第3の態様は、第2の態様にかかるエッチング装置であって、前記導電膜は、前記絶縁板のうちの前記絶縁基板側の第1主面に形成され、前記第1導電部分どうしを接続する第2導電部分を含む。
【0010】
第4の態様は、第2または第3の態様にかかるエッチング装置であって、前記第1導電部分の一部は、前記絶縁板のうちの前記絶縁基板側の第1主面とは逆側の第2主面よりも突出している。
(【0011】以降は省略されています)
特許ウォッチbot のツイートを見る
この特許をJ-PlatPat(特許庁公式サイト)で参照する
関連特許
個人
ガラス製品の製造方法
5か月前
日本電気硝子株式会社
封着材料ペースト
2か月前
日本電気硝子株式会社
ガラスの製造方法
6か月前
日本電気硝子株式会社
ガラス繊維用組成物
5か月前
信越化学工業株式会社
ガラス母材の延伸方法
5か月前
AGC株式会社
車両用窓ガラスとその製造方法
2か月前
ノリタケ株式会社
ガラス接合材およびその利用
2か月前
ノリタケ株式会社
封止用グリーンシート
2か月前
日本電気硝子株式会社
ガラスの製造方法
4か月前
AGC株式会社
感光性ガラス
2か月前
信越化学工業株式会社
光ファイバ母材の製造方法
4か月前
AGC株式会社
複層ガラス、高地対応複層ガラス
2か月前
信越化学工業株式会社
光ファイバ母材の製造方法
1か月前
日本板硝子株式会社
ビル用複層ガラス
3か月前
ノリタケ株式会社
ガラス接合材及びその利用
2か月前
日本電気硝子株式会社
ガラス製造装置
2か月前
日本板硝子株式会社
ウインドシールド
27日前
ノリタケ株式会社
ガラス接合材及びその利用
2か月前
日本電気硝子株式会社
ガラス物品の製造方法およびガラス物品
19日前
AGC株式会社
合わせガラス
3か月前
ノリタケ株式会社
組立体の製造方法および組立体
2か月前
信越化学工業株式会社
石英ガラス棒およびその製造方法
2か月前
日本電気硝子株式会社
ガラス板の製造方法
2か月前
日本板硝子株式会社
車両用合わせガラス体
5か月前
株式会社オハラ
光学ガラスおよび光学素子
6か月前
白金科技股分有限公司
微小球およびその調製方法
5か月前
日本電気硝子株式会社
ガラス物品の製造方法
3か月前
日本電気硝子株式会社
ガラス物品の製造方法
2か月前
AGC株式会社
成形装置、及び成形方法
5か月前
信越化学工業株式会社
光ファイバ用多孔質母材の製造装置
1か月前
信越化学工業株式会社
光ファイバ用多孔質母材の搬送装置
6か月前
日本板硝子株式会社
車両用調光合わせガラス
5か月前
AGC株式会社
ガラス及びその製造方法
5か月前
AGC株式会社
積層体及び移動体
2か月前
AGC株式会社
ガラス材料、結晶化ガラス
1か月前
住友電気工業株式会社
光ファイバの製造装置
3か月前
続きを見る
他の特許を見る