TOP
|
特許
|
意匠
|
商標
特許ウォッチ
Twitter
他の特許を見る
公開番号
2025144015
公報種別
公開特許公報(A)
公開日
2025-10-02
出願番号
2024043568
出願日
2024-03-19
発明の名称
ガラス製造装置
出願人
日本電気硝子株式会社
代理人
個人
,
個人
,
個人
主分類
C03B
5/225 20060101AFI20250925BHJP(ガラス;鉱物またはスラグウール)
要約
【課題】サイフォンの原理によるガラス移送機能を損うことなく、溶融ガラスの脱泡処理を行う。
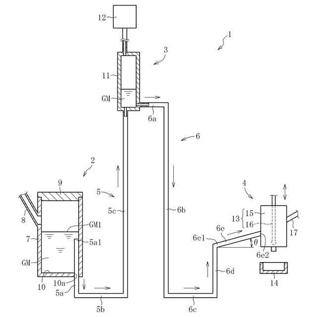
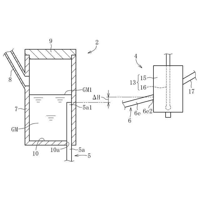
【解決手段】ガラス製造装置1の第一配管5における上流側接続管5aは、溶融槽7内の溶融ガラスGMを排出する排出部5a1を有する。排出部5a1は、溶融槽7の内部において溶融槽7の底部10から上方に突出する突出部である。
【選択図】図1
特許請求の範囲
【請求項1】
ガラス原料を溶融させて溶融ガラスを生成する溶融槽と、前記溶融槽で生成した前記溶融ガラスの脱泡処理を行う減圧脱泡槽と、前記減圧脱泡槽によって脱泡処理された前記溶融ガラスを一時的に貯留する成形槽と、前記溶融槽と前記減圧脱泡槽とを接続する第一配管と、前記減圧脱泡槽と前記成形槽とを接続する第二配管と、を備えるガラス製造装置であって、
前記第一配管は、前記溶融槽内の前記溶融ガラスを排出する上流側接続管と、前記上流側接続管と前記減圧脱泡槽とに接続されるとともに前記溶融ガラスを上方に移動させる上昇管と、を有し、
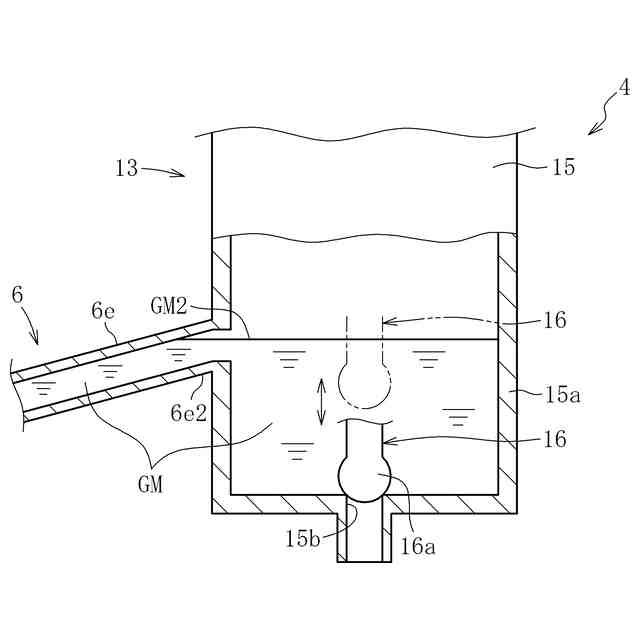
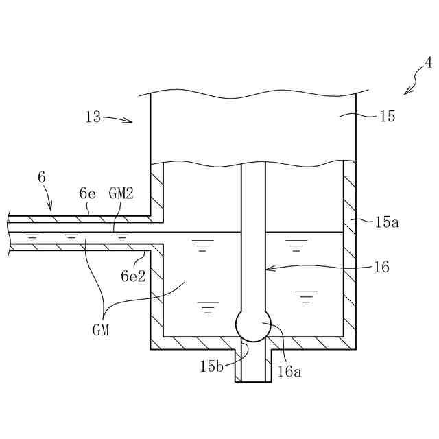
前記第二配管は、前記減圧脱泡槽によって脱泡処理された前記溶融ガラスを下方に移動させる下降管と、前記下降管と前記成形槽とを接続する下流側接続管と、を有し、
前記上流側接続管は、前記溶融槽内の前記溶融ガラスを排出する排出部を有し、
前記排出部は、前記溶融槽の内部において前記溶融槽の底部から上方に突出する突出部である、
ことを特徴とするガラス製造装置。
続きを表示(約 560 文字)
【請求項2】
前記上流側接続管は、前記溶融槽から下方に延びる鉛直管と、前記鉛直管の下端部から水平方向に延びるとともに前記上昇管に接続される水平管と、を有する、
ことを特徴とする請求項1に記載のガラス製造装置。
【請求項3】
前記下流側接続管は、前記成形槽の側部に接続される、
ことを特徴とする請求項1に記載のガラス製造装置。
【請求項4】
前記下流側接続管は、水平方向に対して傾斜する傾斜接続管を有し、
前記傾斜接続管は、前記下降管側に位置する第一端部と、前記成形槽に接続される第二端部と、を有し、
前記傾斜接続管は、前記第二端部が前記第一端部よりも上方に位置するように傾斜する、
ことを特徴とする請求項3に記載のガラス製造装置。
【請求項5】
前記傾斜接続管の前記第二端部は、前記突出部の先端部よりも上方に位置する、
ことを特徴とする請求項4に記載のガラス製造装置。
【請求項6】
前記下流側接続管は、前記下降管に接続される水平管と、前記水平管に接続されるとともに前記傾斜接続管の前記第一端部に接続される鉛直管と、を有する、
ことを特徴とする請求項4又は5に記載のガラス製造装置。
発明の詳細な説明
【技術分野】
【0001】
本発明は、ガラス原料から生成した溶融ガラスに脱泡処理を施した後に、溶融ガラスを成形してガラス物品を製造するガラス製造装置に関する。
続きを表示(約 1,100 文字)
【背景技術】
【0002】
周知のように、ガラスの製造工程では、溶融炉によってガラス原料を溶融させて溶融ガラスを生成した後に、溶融ガラス内に発生した気泡を除去する脱泡工程(清澄工程)が実施されている。
【0003】
例えば特許文献1は、脱泡工程に使用される減圧脱泡装置を開示している。この減圧脱泡装置は、溶融ガラスの減圧脱泡を行う減圧脱泡槽と、この減圧脱泡槽に連通して設けられ、減圧脱泡前の溶融ガラスを吸引上昇させて減圧脱泡槽に導入する上昇管と、減圧脱泡槽に連通して設けられ、減圧脱泡後の溶融ガラスを減圧脱泡槽から下降させて導出する下降管と、を備える(同文献の請求項1参照)。
【0004】
減圧脱泡装置の上昇管は、上流側接続管を介して、溶融ガラスを生成する溶融槽(溶解槽)に接続されている。減圧脱泡装置の下降管は、下流側接続管を介して、下流側に設けられた処理槽に接続されている(同文献の段落0023及び図1参照)。
【0005】
上記の減圧脱泡装置は、上流側接続管、上昇管、減圧脱泡槽、下降管及び下流側接続管を一連の閉管路として構成している。これにより、減圧脱泡装置は、サイフォンの原理を利用して、溶融槽で生成された溶融ガラスを、上流側接続管から下流側接続管を経由して処理槽まで移送することができる。
【先行技術文献】
【特許文献】
【0006】
特開平11-240725号公報
【発明の概要】
【発明が解決しようとする課題】
【0007】
本発明者らは、従来の減圧脱泡装置を使用してガラスを製造する場合に、以下のような問題点を見出した。
【0008】
図6は、従来の減圧脱泡装置に溶融ガラスを供給する溶融槽MTと、溶融槽MTに接続される上流側接続管CPと、上流側接続管CPに接続される上昇管RPとを示す。上流側接続管CPは、溶融槽MTの側部に接続されるとともに水平方向に延びる配管(水平管)である。上昇管RPは、上下方向に延びる配管であり、その下端部が上流側接続管CPに接続されている。
【0009】
溶融槽MTによって生成された溶融ガラスGMは、上流側接続管CPを通じて上昇管RPへと連続的に供給される。
【0010】
溶融槽MTで生成した溶融ガラスGMを連続的に減圧脱泡装置に供給する際に、溶融槽MT内に貯留される溶融ガラスGMの量が変動する場合がある。具体的には、溶融槽MT内の溶融ガラスGMの量が減少し、図6に示すように、溶融ガラスGMの液面GM1が実線で示す位置から二点鎖線で示す位置まで下がる場合がある。
(【0011】以降は省略されています)
この特許をJ-PlatPat(特許庁公式サイト)で参照する
関連特許
日本電気硝子株式会社
強化樹脂複合材の強度評価方法
6日前
日本電気硝子株式会社
ガラス物品の製造方法およびガラス物品
20日前
日本電気硝子株式会社
積層体の製造方法、及び積層体製造用物品
12日前
日本電気硝子株式会社
半導体封入用無鉛ガラス及び半導体封入用外套管
20日前
日本電気硝子株式会社
混合装置、ガラス原料の製造方法及びガラス物品の製造方法
1日前
日本電気硝子株式会社
赤外線透過ガラス
14日前
日本電気硝子株式会社
封着材料ペースト
2か月前
AGC株式会社
感光性ガラス
3か月前
ノリタケ株式会社
ガラス接合材およびその利用
2か月前
AGC株式会社
車両用窓ガラスとその製造方法
2か月前
ノリタケ株式会社
封止用グリーンシート
2か月前
日本電気硝子株式会社
ガラスの製造方法
4か月前
信越化学工業株式会社
光ファイバ母材の製造方法
4か月前
信越化学工業株式会社
光ファイバ母材の製造方法
1か月前
AGC株式会社
複層ガラス、高地対応複層ガラス
2か月前
ノリタケ株式会社
ガラス接合材及びその利用
2か月前
日本電気硝子株式会社
ガラス製造装置
2か月前
日本板硝子株式会社
ウインドシールド
28日前
日本板硝子株式会社
ビル用複層ガラス
3か月前
ノリタケ株式会社
ガラス接合材及びその利用
2か月前
信越化学工業株式会社
石英ガラス棒およびその製造方法
2か月前
白金科技股分有限公司
微小球およびその調製方法
5か月前
日本電気硝子株式会社
ガラス物品の製造方法およびガラス物品
20日前
日本電気硝子株式会社
ガラス板の製造方法
2か月前
AGC株式会社
合わせガラス
3か月前
ノリタケ株式会社
組立体の製造方法および組立体
2か月前
日本電気硝子株式会社
ガラス物品の製造方法
3か月前
日本電気硝子株式会社
ガラス物品の製造方法
2か月前
信越化学工業株式会社
光ファイバ用多孔質母材の製造装置
1か月前
日本板硝子株式会社
車両用調光合わせガラス
5か月前
AGC株式会社
ガラス材料、結晶化ガラス
1か月前
AGC株式会社
積層体及び移動体
2か月前
住友電気工業株式会社
光ファイバの製造方法
3か月前
住友電気工業株式会社
光ファイバの製造装置
3か月前
住友電気工業株式会社
光ファイバの製造方法
4か月前
日本電気硝子株式会社
半導体封入用無鉛ガラス及び半導体封入用外套管
20日前
続きを見る
他の特許を見る