TOP
|
特許
|
意匠
|
商標
特許ウォッチ
Twitter
他の特許を見る
10個以上の画像は省略されています。
公開番号
2025169166
公報種別
公開特許公報(A)
公開日
2025-11-12
出願番号
2025061364
出願日
2025-04-02
発明の名称
ウインドシールド
出願人
日本板硝子株式会社
代理人
弁理士法人R&C
主分類
C03C
27/12 20060101AFI20251105BHJP(ガラス;鉱物またはスラグウール)
要約
【課題】歩行者等の重量の大きい物体が衝突した際に、より短時間で割れ易いウインドシールドを提供する。
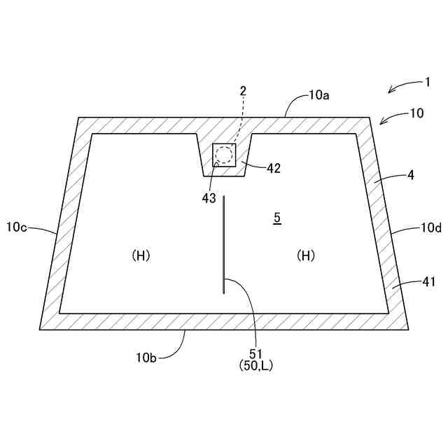
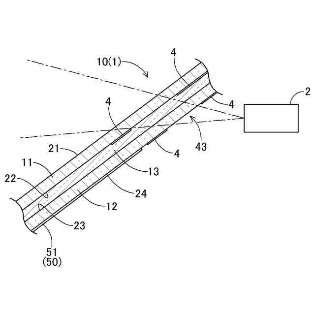
【解決手段】ウインドシールド1は、ガラス板10と、ガラス板10の表面に積層され、熱膨張係数がガラス板10と異なる応力調整部材50と、を備え、ガラス板10は、可視光が透過可能な可視光透過領域5と、可視光透過領域5の周囲に設けられて可視光を遮蔽する可視光遮蔽領域4と、を有し、応力調整部材50は、可視光透過領域5に配置されている。
【選択図】図1
特許請求の範囲
【請求項1】
車両に周囲が固定されるウインドシールドであって、
ガラス板と、
前記ガラス板の表面に積層され、熱膨張係数が前記ガラス板と異なる応力調整部材と、を備え、
前記ガラス板は、可視光が透過可能な可視光透過領域と、前記可視光透過領域の周囲に設けられて可視光を遮蔽する可視光遮蔽領域と、を有し、
前記応力調整部材は、前記可視光透過領域に配置されている、ウインドシールド。
続きを表示(約 930 文字)
【請求項2】
車両に周囲が固定されるウインドシールドであって、
ガラス板と、
前記ガラス板の表面に積層され、熱膨張係数が前記ガラス板と異なる応力調整部材と、を備え、
前記応力調整部材は、前記ガラス板のうちJIS R3212(2015年)で規定される試験領域Bに配置されている、ウインドシールド。
【請求項3】
前記応力調整部材は、更に屈折率が前記ガラス板と異なる、請求項1又は2に記載のウインドシールド。
【請求項4】
前記ガラス板は、強化が施された高強化領域と、前記応力調整部材が積層され前記高強化領域より圧縮応力が低い低強化領域とが交互に配置されている、請求項1又は2に記載のウインドシールド。
【請求項5】
前記応力調整部材は、前記ガラス板のうち車内側の面に配置されている、請求項1又は2に記載のウインドシールド。
【請求項6】
前記ガラス板は、車外側に配置される第1ガラス板と、前記第1ガラス板と対向配置され且つ車内側に位置する第2ガラス板と、前記第1ガラス板と前記第2ガラス板とを接着する中間膜と、を含み、
前記第1ガラス板は、前記車外側に位置する第1面と、前記車内側に位置する第2面と、を有し、
前記第2ガラス板は、前記車外側に位置する第3面と、前記車内側に位置する第4面と、を有し、
前記第1ガラス板及び前記第2ガラス板は、いずれも錫浴を用いたフロート法により製造され、
前記第2ガラス板において、前記第4面の酸化錫濃度が前記第3面の酸化錫濃度よりも高い、請求項1又は2に記載のウインドシールド。
【請求項7】
前記ガラス板は、プレス成形によって形成されている、請求項1又は2に記載のウインドシールド。
【請求項8】
前記ガラス板は、プレス成形によって形成されている、請求項5に記載のウインドシールド。
【請求項9】
前記応力調整部材は、前記第1ガラス板の前記第2面及び前記第2ガラス板の前記第4面のうち、少なくとも一方に配置されている、請求項6に記載のウインドシールド。
発明の詳細な説明
【技術分野】
【0001】
本発明は、ウインドシールドに関する。
続きを表示(約 2,100 文字)
【背景技術】
【0002】
自動車のウインドシールドは、例えば飛び石対策のために、剛性が高くなるように設計されたものが存在する(例えば、特許文献1参照)。しかし、ウインドシールドの剛性を高くした場合には、自動車が歩行者と衝突して歩行者がウインドシールドにぶつかった際には、歩行者が受ける衝撃が大きくなってしまう。そこで、特許文献2に記載のウインドシールドでは、歩行者等の重量の大きい物体が衝突した際に割れ易く構成されている。具体的には、特許文献2のウインドシールドでは、外縁に配置される遮蔽層の厚みを変化させることで衝撃を受けた際の割れ易さを向上させている。
【先行技術文献】
【特許文献】
【0003】
特開2007-146458号公報
国際公開第2022/270634号
【発明の概要】
【発明が解決しようとする課題】
【0004】
ここで、車両と歩行者との衝突等により、ウインドシールドに歩行者がぶつかる際には、歩行者はウインドシールドの周縁よりも中央部位にぶつかり易い。しかし、特許文献2に記載のウインドシールドでは、遮蔽層が配置された外縁が割れ易い構成であるため、歩行者がウインドシールドの中央部位にぶつかった際に、ウインドシールドが割れるまでの時間が長くなってしまう場合がある。そうなると、歩行者が受ける衝撃を十分に抑制できない場合が考えられる。そのため、歩行者等が衝突したウインドシールドを割れ易くするうえで、ウインドシールドについて改善の余地があった。
【0005】
上記実情に鑑み、歩行者等の重量の大きい物体が衝突した際に、より短時間で割れ易いウインドシールドが求められている。
【課題を解決するための手段】
【0006】
本発明に係るウインドシールドの特徴構成は、車両に周囲が固定されたウインドシールドであって、ガラス板と、前記ガラス板の表面に積層され、熱膨張係数が前記ガラス板と異なる応力調整部材と、を備え、前記ガラス板は、可視光が透過可能な可視光透過領域と、前記可視光透過領域の周囲に設けられて可視光を遮蔽する可視光遮蔽領域と、を有し、前記応力調整部材は、前記可視光透過領域に配置されている点にある。
【0007】
本構成によれば、ウインドシールドのガラス板は、可視光透過領域と可視光透過領域の周囲の可視光遮蔽領域とを有し、ガラス板の表面のうち可視光透過領域に熱膨張率がガラス板と異なる応力調整部材が積層されて配置される。すなわち、ウインドシールドにおいて、歩行者等が衝突し易いガラス板の中央寄りに熱膨張係数がガラス板と異なる応力調整部材が配置される。こうすると、ウインドシールドは、ガラス板の中央近くに歩行者等が衝突し、ガラス板に引っ張り応力又は圧縮応力が作用した際に、ガラス板には応力調整部材との間で熱膨張率の差によるずれが発生する。具体的には、応力調整部材がガラス板に熱応力を加えることでガラス板の表面圧縮応力値が変化する。そのため、ガラス板において、他の部位に比して応力調整部材は配置される部位の破壊応力が小さくなる。これにより、ウインドシールドは、ガラス板が短時間で割れ易くなり、歩行者が受ける衝撃を抑制できる。その結果、車両との衝突時等において歩行者等を適正に保護できる。
【0008】
本発明に係るウインドシールドの特徴構成は、車両に周辺が固定されたウインドシールドであって、ガラス板と、前記ガラス板の表面に積層され、熱膨張係数が前記ガラス板と異なる応力調整部材と、を備え、前記応力調整部材は、前記ガラス板のうちJIS R3212(2015年)で規定される試験領域Bに配置されている点にある。
【0009】
本構成によれば、ウインドシールドのガラス板は、ガラス板のうちJIS R3212(2015年)で規定される試験領域Bにガラス板と熱膨張係数が異なる応力調整部材が積層されて配置される。当該試験領域Bは、ガラス板において外縁を除く領域である。したがって、ウインドシールドにおいて、歩行者等が衝突し易いガラス板の中央寄りに熱膨張係数がガラス板と異なる応力調整部材が配置される。こうすると、ウインドシールドは、ガラス板の中央近くに歩行者等が衝突し、ガラス板に引っ張り応力又は圧縮応力が作用した際に、ガラス板には応力調整部材との間で熱膨張率の差によるずれが発生する。具体的には、応力調整部材がガラス板に熱応力を加えることでガラス板の表面圧縮応力値が変化する。そのため、ガラス板において、他の部位に比して応力調整部材は配置される部位の破壊応力が小さくなる。これにより、ウインドシールドは、ガラス板が短時間で割れ易くなり、歩行者が受ける衝撃を抑制できる。その結果、車両との衝突時等において歩行者等を適正に保護できる。
【0010】
他の特徴構成は、前記応力調整部材は、更に屈折率が前記ガラス板と異なる点にある。
(【0011】以降は省略されています)
この特許をJ-PlatPat(特許庁公式サイト)で参照する
関連特許
日本板硝子株式会社
ウインドシールド
23日前
JSR株式会社
組成物、組成物の製造方法、光学フィルム、光学フィルムの製造方法、層、層の製造方法、光学フィルター、光学素子、固体撮像装置、およびカメラモジュール
1か月前
日本電気硝子株式会社
封着材料ペースト
1か月前
AGC株式会社
車両用窓ガラスとその製造方法
2か月前
AGC株式会社
感光性ガラス
2か月前
日本電気硝子株式会社
ガラスの製造方法
3か月前
ノリタケ株式会社
封止用グリーンシート
1か月前
ノリタケ株式会社
ガラス接合材およびその利用
1か月前
信越化学工業株式会社
光ファイバ母材の製造方法
4か月前
信越化学工業株式会社
光ファイバ母材の製造方法
1か月前
AGC株式会社
複層ガラス、高地対応複層ガラス
2か月前
日本板硝子株式会社
ウインドシールド
23日前
ノリタケ株式会社
ガラス接合材及びその利用
1か月前
ノリタケ株式会社
ガラス接合材及びその利用
1か月前
日本板硝子株式会社
ビル用複層ガラス
3か月前
日本電気硝子株式会社
ガラス製造装置
2か月前
白金科技股分有限公司
微小球およびその調製方法
4か月前
日本電気硝子株式会社
ガラス物品の製造方法およびガラス物品
15日前
信越化学工業株式会社
石英ガラス棒およびその製造方法
2か月前
ノリタケ株式会社
組立体の製造方法および組立体
1か月前
日本電気硝子株式会社
ガラス板の製造方法
2か月前
AGC株式会社
合わせガラス
3か月前
信越化学工業株式会社
光ファイバ用多孔質母材の製造装置
1か月前
日本電気硝子株式会社
ガラス物品の製造方法
1か月前
日本電気硝子株式会社
ガラス物品の製造方法
3か月前
AGC株式会社
ガラス材料、結晶化ガラス
1か月前
AGC株式会社
積層体及び移動体
1か月前
住友電気工業株式会社
光ファイバの製造方法
3か月前
住友電気工業株式会社
光ファイバの製造方法
4か月前
住友電気工業株式会社
光ファイバの製造装置
3か月前
日本電気硝子株式会社
半導体封入用無鉛ガラス及び半導体封入用外套管
15日前
日本電気硝子株式会社
減圧脱泡装置及びガラス製造装置
2か月前
住友電気工業株式会社
光ファイバ母材の製造方法
3か月前
日本電気硝子株式会社
ガラス物品の製造方法及び製造装置
3か月前
日本電気硝子株式会社
溶融装置及びガラス物品の製造方法
4か月前
日本電気硝子株式会社
ガラス
3か月前
続きを見る
他の特許を見る