TOP
|
特許
|
意匠
|
商標
特許ウォッチ
Twitter
他の特許を見る
公開番号
2025164073
公報種別
公開特許公報(A)
公開日
2025-10-30
出願番号
2024067826
出願日
2024-04-18
発明の名称
光ファイバ用多孔質母材の製造装置
出願人
信越化学工業株式会社
代理人
個人
主分類
C03B
8/04 20060101AFI20251023BHJP(ガラス;鉱物またはスラグウール)
要約
【課題】ガラス微粒子の原料がハロゲン系化合物原料を使用しても装置内が腐食されない光ファイバ用多孔質母材の製造装置を提供する。
【解決手段】ファイバ多孔質母材の製造装置は、ハロゲン化合物原料を加水分解することにより光ファイバ用多孔質母材を堆積する装置でありながら、チャンバ筐体を含む内部の構造材または駆動機構の一部が、アルミニウムと亜鉛を除くバルブ金属単体、またはアルミニウムと亜鉛を除くバルブ金属を主体とする合金を用いて構成されていることを特徴とする。ハロゲン化合物原料は四塩化ケイ素、トリクロロシラン、四塩化ゲルマニウムの群から選ばれる1つ以上とするとよい。
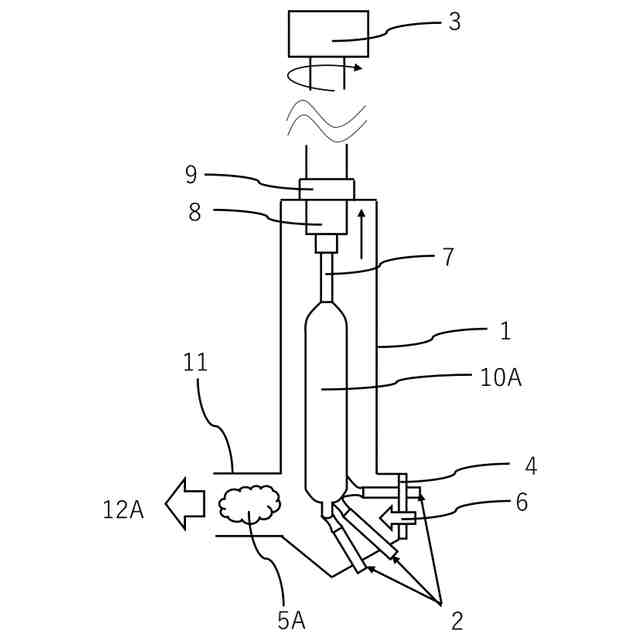
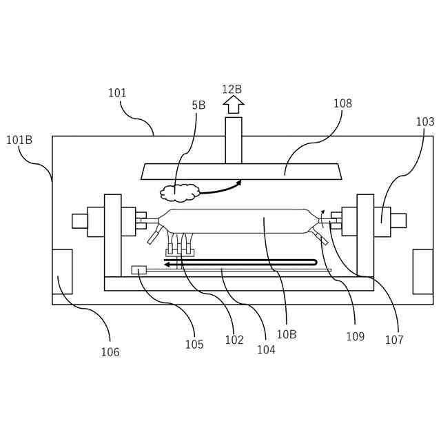
【選択図】図1
特許請求の範囲
【請求項1】
ハロゲン化合物原料を加水分解することにより光ファイバ用多孔質母材を堆積する装置であって、前記装置を構成する構造材または駆動機構の一部が、アルミニウムと亜鉛を除くバルブ金属単体、またはアルミニウムと亜鉛を除くバルブ金属を主体とする合金で形成されることを特徴とする光ファイバ用多孔質母材の製造装置。
続きを表示(約 300 文字)
【請求項2】
前記ハロゲン化合物原料が四塩化ケイ素、トリクロロシラン、四塩化ゲルマニウムの群から選ばれる1つ以上であることを特徴とする請求項1に記載の光ファイバ用多孔質母材の製造装置。
【請求項3】
前記装置を構成する構造材または起動機構の一部が、塩酸露点温度以下に暴露されていることを特徴とする請求項1または2に記載の光ファイバ用多孔質母材の製造装置。
【請求項4】
前記アルミニウムと亜鉛を除くバルブ金属単体がチタン、タンタル、ジルコニウム、ハフニウム、ニオブ、モリブデンのいずれかである請求項1または2に記載の光ファイバ用多孔質母材の製造装置。
発明の詳細な説明
【技術分野】
【0001】
本発明は、光ファイバ用多孔質母材の製造装置に関する。
続きを表示(約 1,500 文字)
【背景技術】
【0002】
透明化された光ファイバ用ガラス母材の製造では、ガラスロッドなどのターゲット棒にガラス微粒子を堆積させて光ファイバ用多孔質母材を形成する。その後、光ファイバ用多孔質母材を焼成炉内において脱水・透明ガラス化の工程を経て光ファイバ用ガラス母材が得られる。
【0003】
光ファイバ用多孔質母材の形成工程では、透明ガラス化後に気泡や異物等の欠陥がない高品質な外観を得るために筐体で外部環境から遮断し、パーティクルが少ない清浄なチャンバ内でガラス微粒子を堆積する。光ファイバ用多孔質母材の代表的な形成方法として、VAD法あるいはOVD法と称される方法がある。これらの方法では、チャンバ内へフィルターを介して外気を内部へ送り込み、チャンバ内部を清浄な環境に保ちつつ、バーナー火炎中でガラス微粒子を生成する。
【0004】
VAD法では、回転するターゲット棒上へガラス微粒子を堆積しつつ、チャンバ上部に設置された駆動機構と繋がったシャフトを上方へ引き上げていくことで光ファイバ用多孔質母材を製造する。
【0005】
OVD法では、回転するターゲット棒上へガラス微粒子を堆積しつつ、バーナーが固定された走行軸が左右方向へ駆動することで光ファイバ用多孔質母材を製造する。あるいは、回転するターゲット自体が上下方向に駆動する構造でも同様な光ファイバ用多孔質母材の製造が可能である。
【0006】
ガラス微粒子の原料は、シリコン(Si)またはゲルマニウム(Ge)を主体としたハロゲン化合物である。Si系ハロゲン化物の四塩化ケイ素(SiCl
4
)またはトリクロロシラン(SiHCl
3
)等をバーナー火炎中で加水分解し、微粒子状態のシリカ(SiO
2
)を形成する。また、SiO
2
より相対的に屈折率を高めて光導波路を形成するために四塩化ゲルマニウム(GeCl
4
)等もSi系ハロゲン化合物と予混合してバーナー火炎中で加水分解することもある。
【0007】
原料となるハロゲン化合物以外では、バーナーへ炭化水素ガスまたは水素ガスに代表される可燃性ガスと支燃性ガスである酸素を供給して燃焼火炎を形成する。燃焼反応により、気体状態の二酸化炭素(CO
2
)あるいは水(H
2
O)が発生する。
【0008】
バーナー火炎中の燃焼反応で発生した気体状態のH
2
Oがハロゲン化物と接触すると加水分解反応が発生し、SiO
2
やGeO
2
生成するのと同時に腐食性と毒性を持つ気体状態の塩化水素ガスが発生する。このため、VAD法およびOVD法においてチャンバ筐体内部を陰圧とし、反応ガスを除害設備へ積極排気する機構を有する。
【0009】
しかしながら、発生した塩化水素ガスを除害設備へと完全に排出することは困難である。除害設備へと排出できなかった塩化水素ガスはチャンバ内部の気流によって筐体内を漂う。また、加水分解反応に寄与しなかった気体状のH
2
Oも塩化水素と同様に筐体内を漂う。
【0010】
このように光ファイバ用多孔質母材を堆積中のチャンバ筐体内は外部環境より相対的に湿度が高く、且つ塩化水素ガスが混合している雰囲気となりうる。チャンバ筐体内部の温度は低温から高温まで場所によって異なり、塩酸露点温度を下回る低温部では希塩酸として凝縮することがしばしば起こり得る。
(【0011】以降は省略されています)
この特許をJ-PlatPat(特許庁公式サイト)で参照する
関連特許
信越化学工業株式会社
化粧料
4日前
信越化学工業株式会社
電磁波遮蔽部材
7日前
信越化学工業株式会社
レジストパターン形成方法
15日前
信越化学工業株式会社
光ファイバ母材の製造方法
1日前
信越化学工業株式会社
レジストパターン形成方法
15日前
信越化学工業株式会社
複合基板およびその製造方法
7日前
信越化学工業株式会社
非晶質固体分散体を含む複合物
4日前
信越化学工業株式会社
光ファイバ用多孔質母材の製造装置
1日前
信越化学工業株式会社
レジスト組成物及びパターン形成方法
16日前
信越化学工業株式会社
レジスト組成物及びパターン形成方法
15日前
信越化学工業株式会社
レジスト組成物及びパターン形成方法
15日前
信越化学工業株式会社
レジスト組成物及びパターン形成方法
16日前
信越化学工業株式会社
熱伝導性シリコーン組成物及びその硬化物
1日前
信越化学工業株式会社
室温硬化性オルガノポリシロキサン組成物
3日前
信越化学工業株式会社
酸化物単結晶複合基板およびその製造方法
7日前
信越化学工業株式会社
シロキサン変性ポリエステル樹脂及びその硬化物
15日前
信越化学工業株式会社
熱伝導性シリコーン組成物、硬化物及び製造方法
14日前
信越化学工業株式会社
熱伝導性シリコーン接着剤組成物及び熱伝導性複合体
9日前
信越化学工業株式会社
キーパッド作製用シリコーンゴム組成物及びキーパッド
2日前
信越化学工業株式会社
型取り用シリコーンゴム組成物およびシリコーンゴム型
14日前
信越化学工業株式会社
環状アミノオルガノキシシラン化合物およびその製造方法
4日前
信越化学工業株式会社
積層構造
9日前
信越化学工業株式会社
反射型フォトマスクブランク、及び反射型フォトマスクの製造方法
2日前
信越化学工業株式会社
オニウム塩型モノマー、ポリマー、化学増幅レジスト組成物及びパターン形成方法
14日前
信越化学工業株式会社
第四級アンモニウム修飾シリカ分散液及び第四級アンモニウム修飾シリカ分散液の製造方法
8日前
信越化学工業株式会社
多層構造型の感光性ドライフィルム、パターン形成方法、表示装置、及びマイクロLEDディスプレイ
1日前
信越化学工業株式会社
ネガ型感光性樹脂組成物、パターン形成方法、硬化被膜形成方法、層間絶縁膜、表面保護膜、及び電子部品
1日前
信越化学工業株式会社
重合体、ネガ型感光性樹脂組成物、パターン形成方法、硬化被膜形成方法、層間絶縁膜、表面保護膜、及び電子部品
1日前
信越化学工業株式会社
感光性樹脂組成物、感光性樹脂皮膜、感光性ドライフィルム、パターン形成方法、表示装置、及びマイクロLEDディスプレイ
1日前
信越化学工業株式会社
感光性樹脂組成物、感光性樹脂皮膜、感光性ドライフィルム、パターン形成方法、表示装置、及びマイクロLEDディスプレイ
1日前
信越化学工業株式会社
5-(2-ブチル-1,3-ジオキソラン-2-イル)-1-メチルペンチル=アセテート及びそれを用いた2,7-ジアセトキシウンデカンの製造方法
9日前
日本電気硝子株式会社
封着材料ペースト
24日前
信越化学工業株式会社
ガラス母材の延伸方法
3か月前
ノリタケ株式会社
ガラス接合材およびその利用
21日前
ノリタケ株式会社
封止用グリーンシート
21日前
日本電気硝子株式会社
ガラスの製造方法
2か月前
続きを見る
他の特許を見る