TOP
|
特許
|
意匠
|
商標
特許ウォッチ
Twitter
他の特許を見る
公開番号
2025161651
公報種別
公開特許公報(A)
公開日
2025-10-24
出願番号
2024065020
出願日
2024-04-12
発明の名称
酸化物単結晶複合基板およびその製造方法
出願人
信越化学工業株式会社
代理人
個人
主分類
H10N
30/853 20230101AFI20251017BHJP()
要約
【課題】密着性が改善されたSiON膜やSiN膜を有する酸化物単結晶複合基板およびその製造方法を提供する。
【解決手段】本発明の実施形態に係る複合基板は、酸化物単結晶層と、介在層と、SiO
2
薄膜と、支持基板とからなり、介在層は、SiON膜もしくはSiN膜であり、介在層と支持基板の間にSiO
2
薄膜が設けられる。SiO
2
薄膜における酸素と珪素の元素比であるO/Si比が1.8~2.2の間であるとよい。また、SiO
2
薄膜の厚さが3~100nmの間であるとよい。
【選択図】図3
特許請求の範囲
【請求項1】
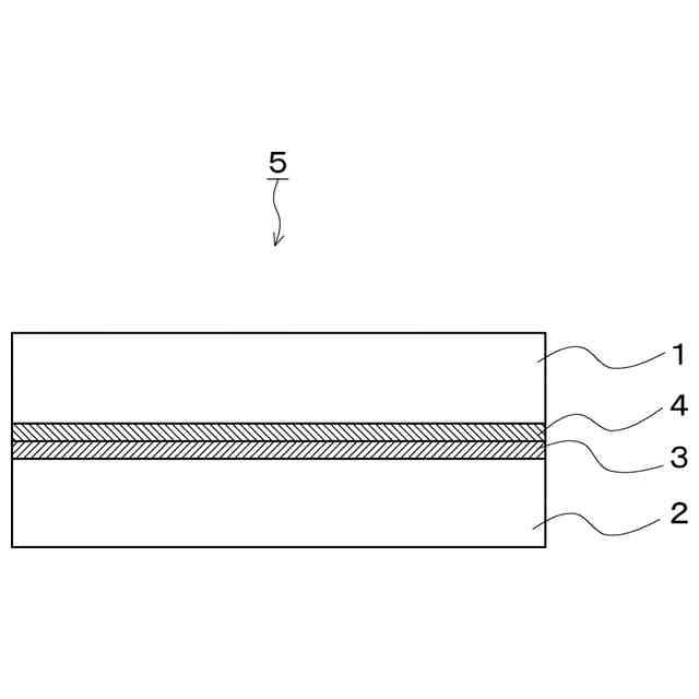
酸化物単結晶層と、介在層と、SiO
2
薄膜と、支持基板とからなる複合基板であって、前記介在層は、SiON膜もしくはSiN膜であり、前記介在層と酸化物単結晶層の間に前記SiO
2
薄膜が設けられることを特徴とする複合基板。
続きを表示(約 930 文字)
【請求項2】
前記SiO
2
薄膜における酸素と珪素の元素比であるO/Si比が1.8~2.2の間であることを特徴とする請求項1に記載の複合基板。
【請求項3】
前記SiO
2
薄膜の厚さが3~100nmの間であることを特徴とする請求項1または2に記載の複合基板。
【請求項4】
前記酸化物単結晶層がタンタル酸リチウム(LT)もしくはニオブ酸リチウム(LN)を含むことを特徴とする請求項1または2に記載の複合基板。
【請求項5】
前記酸化物単結晶層の厚さが0.3~15μmの間であることを特徴とする請求項1または2に記載の複合基板。
【請求項6】
前記支持基板が、シリコン、酸化膜付きシリコン、サファイア、窒化アルミニウム、炭化珪素、水晶、ガラスのいずれかであることを特徴とする請求項1または2に記載の複合基板。
【請求項7】
前記酸化物単結晶層にFeが80~120ppmドープされていることを特徴とする請求項1または2に記載の複合基板。
【請求項8】
酸化物単結晶基板である第1の基板にSiO
2
薄膜を成膜する工程と、
前記SiO
2
薄膜に重ねて介在層としてSiON膜もしくはSiN膜を成膜する工程と、
前記介在層の表面を平坦化する工程と、
前記SiO
2
薄膜および前記介在層が成膜された第1の基板と支持基板である第2の基板とを貼り合わせる工程と、
貼り合わせ後の基板において第1の基板を薄膜化して酸化物単結晶層とする工程と、
貼り合わせ後の基板を熱処理する工程とを備える、
ことを特徴とする複合基板の製造方法。
【請求項9】
前記薄膜化する工程が研削・研磨法を用いて行われることを特徴とする請求項8に記載の複合基板の製造方法。
【請求項10】
前記薄膜化する工程がイオン注入剥離法を用いて行われることを特徴とする請求項8に記載の複合基板の製造方法。
(【請求項11】以降は省略されています)
発明の詳細な説明
【技術分野】
【0001】
本発明は、電子デバイスの材料等として用いる酸化物単結晶複合基板およびその製造方法に関する。
続きを表示(約 1,700 文字)
【背景技術】
【0002】
近年スマートフォンに代表される移動体通信の市場において、通信量が急激に増大している。この問題に対応するために必要なバンド数を増やす中、必然的に各種部品の小型化、高性能化が必須となってきている。一般的な圧電材料であるタンタル酸リチウム(Lithium Tantalate:LTと略称されることもあり)やニオブ酸リチウム(Lithium Niobate:LNと略称されることもあり)は、表面弾性波(SAW)デバイスの材料として広く用いられているが、これらの材料は大きな電気機械結合係数を有し、広帯域化が可能であるという利点を有する。
【0003】
これらのLTやLNは薄膜化(10μm以下)することで特性の向上や応用の範囲が広がることが知られている。具体的には高性能フィルターデバイスや光変調器などが挙げられる。薄膜化する際に通常はLTやLNを研削・研磨するなどの方法を用いるが、ナノメートルレベルの膜厚均一性を基板全面で得ることが難しいため、一般に膜厚が1μm以下の場合はイオン注入剥離法が望ましいと考えられる。
【0004】
特許文献1等に開示されているように、イオン注入剥離法は、水素、ヘリウムなどの軽元素を対象となる基板に打ち込み、濃度が最大となったところ(イオン注入界面)で剥離するという方法であり、均一性良く薄膜を得る方法として好適である。この方法では支持基板にLTやLNを貼り合わせ、ある程度の熱処理を行った後にSiGen法(機械剥離法)などに代表される方法で剥離を行う必要がある。剥離後に剥離面に研磨を施して、イオン注入ダメージ層(150nm程度)を取り除き、且つ表面を鏡面にする必要がある。
【先行技術文献】
【特許文献】
【0005】
国際公開第2016/088466号
【発明の概要】
【発明が解決しようとする課題】
【0006】
このような薄膜積層構造を採用する場合、LTもしくはLNの薄膜と支持基板との間に介在層を挟む構造が一般的である。ここで、介在層の材料としては、エネルギーをより効率よくLTやNTの薄膜の中に閉じ込めるために、音速が高い材料を用いることが好適となる。音速を高めるにはSiO
2
の酸素の一部を窒素に置換したSiON膜やSiN膜などを選択することができる。窒素を取り入れることで介在層が硬くなり、音速を速くすることができ、デバイスの特性向上につなげることが期待できるためである。
【0007】
しかしながら、SiON膜やSiN膜は密着性が悪く、LTやLNの上に成膜しても、剥がれが頻発し、信頼性やデバイス特性、製品歩留まり等に悪影響をもたらす。図1にSiONを介在層として作製した複合基板(LT on SiON on Si)の実際の剥がれの光学顕微鏡写真を示す。何らかの結晶方位に沿って、膜が剥がれている様子が分かる。線状に剥がれている部分は、LTとSiONの界面に沿っていることが他の分析から明らかとなっている。この問題から、現実的にSiONやSiNを介在層に採用することは難しかった。
【0008】
本発明は上記の課題に鑑み成されたものであり、密着性が改善されたSiON膜やSiN膜を有する酸化物単結晶複合基板およびその製造方法を提供することを目的とする。
【課題を解決するための手段】
【0009】
上記の課題を解決すべく、本発明の実施形態に係る複合基板は、酸化物単結晶層と、介在層と、SiO
2
薄膜と、支持基板とからなり、介在層は、SiON膜もしくはSiN膜であり、介在層と酸化物単結晶層の間にSiO
2
薄膜が設けられる。
【0010】
本発明では、SiO
2
薄膜における酸素と珪素の元素比であるO/Si比が1.8~2.2の間であるとよい。また、SiO
2
薄膜の厚さが3~100nmの間であるとよい。
(【0011】以降は省略されています)
特許ウォッチbot のツイートを見る
この特許をJ-PlatPat(特許庁公式サイト)で参照する
関連特許
信越化学工業株式会社
炭化金属被覆材料
2日前
信越化学工業株式会社
オルガノポリシロキサンを含む冷媒
7日前
信越化学工業株式会社
オルガノポリシロキサンを含む冷媒
7日前
信越化学工業株式会社
オルガノポリシロキサンを含む冷媒
7日前
信越化学工業株式会社
熱伝導性シリコーン組成物及びその硬化物
9日前
信越化学工業株式会社
超音波カップリング材複合膜及び超音波検査方法
1日前
信越化学工業株式会社
含窒素多官能オルガノキシシラン化合物の製造方法
9日前
信越化学工業株式会社
オルガノポリシロキサン及びこれを含有する化粧料
14日前
信越化学工業株式会社
密着膜形成用組成物、パターン形成方法、及び密着膜の形成方法
7日前
信越化学工業株式会社
金属含有膜形成用化合物、金属含有膜形成用組成物、パターン形成方法
1日前
信越化学工業株式会社
徐放性フェロモン製剤
7日前
信越化学工業株式会社
ミラブル型フロロシリコーンゴム組成物及び輸送機のエンジン周辺用ゴム部品
14日前
信越化学工業株式会社
合成石英ガラス基板及びその製造方法、並びに光学素子パッケージ封止用窓材の製造方法
7日前
信越化学工業株式会社
ミラブル型シリコーンゴム原料混合物及びコンパウンド並びに、コンパウンドの製造方法及び組成物の製造方法
14日前
個人
積和演算用集積回路
15日前
サンケン電気株式会社
半導体装置
14日前
日機装株式会社
半導体発光装置
9日前
旭化成株式会社
発光素子
24日前
ローム株式会社
抵抗チップ
29日前
富士電機株式会社
半導体装置
1か月前
三菱電機株式会社
半導体装置
23日前
三菱電機株式会社
半導体装置
1日前
株式会社東芝
半導体装置
1日前
株式会社半導体エネルギー研究所
表示装置
1か月前
日亜化学工業株式会社
発光装置
24日前
ローム株式会社
半導体集積回路
23日前
富士電機株式会社
半導体装置の製造方法
1か月前
ローム株式会社
半導体装置
1か月前
株式会社半導体エネルギー研究所
発光デバイス
9日前
ローム株式会社
半導体装置
14日前
ローム株式会社
窒化物半導体装置
29日前
ローム株式会社
半導体装置
28日前
株式会社半導体エネルギー研究所
発光デバイス
22日前
サンケン電気株式会社
半導体装置
1日前
日亜化学工業株式会社
発光素子
14日前
大日本印刷株式会社
太陽電池
1か月前
続きを見る
他の特許を見る