TOP
|
特許
|
意匠
|
商標
特許ウォッチ
Twitter
他の特許を見る
10個以上の画像は省略されています。
公開番号
2025156595
公報種別
公開特許公報(A)
公開日
2025-10-14
出願番号
2025134289,2023554582
出願日
2025-08-12,2022-10-12
発明の名称
スタンパ
出願人
信越化学工業株式会社
代理人
個人
,
個人
,
個人
主分類
H01L
21/52 20060101AFI20251002BHJP(基本的電気素子)
要約
【課題】スタンパを用いた移載の際に移載対象物のピックアップの成功率を高めることができるレセプター基板、このレセプター基板の製造方法、並びにこのレセプター基板を用いる移載方法及びLEDパネルの製造方法を提供すること。
【解決手段】スタンパを用いて他の基板へと移載されるものである複数の移載対象物が配置されているレセプター基板であって、前記スタンパによる1回の移載動作で同時に移載される一群の前記移載対象物が配置されている区画を複数有し、前記区画外に、前記移載対象物が配置されていない非配置領域を有し、前記複数の区画の各々が前記非配置領域で囲まれているものであるレセプター基板。
【選択図】図1
特許請求の範囲
【請求項1】
基板の一方の面の中央部に一つのスタンパヘッドを設けたスタンパであって、
レセプター前駆基板上に接着層を介して設けられた移載対象物をピックアップするために用いられ、
前記基板の一方の面における、スタンパヘッドが設けられた領域の外側の領域は、離型処理が施されているスタンパ。
続きを表示(約 640 文字)
【請求項2】
基板の一方の面の中央部に一つのスタンパヘッドを設けたスタンパであって、
レセプター前駆基板上に接着層を介して設けられた移載対象物をピックアップするために用いられ、
前記基板の一方の面における、スタンパヘッドが設けられた領域の外側の領域は、離型膜が形成されているスタンパ。
【請求項3】
前記離型膜は、フッ素樹脂膜又は金属膜である請求項2記載のスタンパ。
【請求項4】
前記スタンパヘッドの移載対象物をピックアップする面は、突起を有する請求項1記載のスタンパ。
【請求項5】
前記突起は、マトリクス状に設けられた請求項4記載のスタンパ。
【請求項6】
前記突起の大きさは、突起に外接する外接円の直径が、移載対象物に外接する外接円の直径の0.5~1.5倍の大きさである請求項4記載のスタンパ。
【請求項7】
前記スタンパヘッドの移載対象物をピックアップする面は、接着層を有する請求項1記載のスタンパ。
【請求項8】
前記スタンパヘッドの移載対象物をピックアップする面は、接着剤から作製される請求項1記載のスタンパ。
【請求項9】
前記スタンパヘッドは、シリコーン樹脂から形成される請求項1記載のスタンパ。
【請求項10】
リペア処理に用いられる請求項1~9の何れか1項記載のスタンパ。
(【請求項11】以降は省略されています)
発明の詳細な説明
【技術分野】
【0001】
本発明は、レセプター基板、レセプター基板の製造方法、移載方法、LEDパネルの製造方法及びスタンパに関する。
続きを表示(約 1,200 文字)
【背景技術】
【0002】
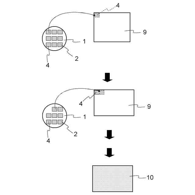
近年、窒化物半導体の光デバイスが、液晶ディスプレイのバックライトや、サイネージ用ディスプレイとして使われるようになっている。これらの用途では、一度に大量の光デバイスを使用するため、高速な移載技術が求められている。高速な移載技術としては、一般に、スタンパを用いるスタンプ方式による一括移載が行われており、一度に1000~数万個程度の移載ができるようになってきている。
【0003】
光デバイスは、例えば、サファイア基板上に半導体プロセスにより大量に作製される。マイクロLEDと呼ばれる100μm角以下のLEDによって4インチのディスプレイ基板を作製する場合、数百万個のマイクロLEDが必要になる。数十μmの微小なデバイスであるマイクロLEDはエピ基板であるサファイア基板から分離して利用される。
【0004】
分離方法としては、サファイア基板上に配列されている光デバイスに、ドナー前駆基板としてのサポート基板を張り合わせ、レーザリフトオフによりサファイア基板から光デバイスを分離することが一般的である。これにより、多数の光デバイスが表面上に配置されたドナー基板を得ることができる。
【0005】
このような方法は、光デバイスに関するものに限られず、微細な半導体デバイスなどの複数の移載対象物を表面上に配置したドナー基板を製造するのにも応用できる。
【0006】
また、ドナー基板上の移載対象物は、例えば、製品の回路基板に対応した配置となるようにレセプター基板上に移載され、このレセプター基板から、スタンプ方式により、製品の回路基板などの他の基板に移載され得る。
【0007】
例えば、特許文献1には、レーザ照射を用いて、ドナー基板上の移載対象物をレセプター基板に精度よく移載する方法が提案されている。
【先行技術文献】
【特許文献】
【0008】
特開2020-4478号公報
【発明の概要】
【発明が解決しようとする課題】
【0009】
従来、レセプター基板から他の基板へとスタンプ方式で移載をする際、移載対象物の一部をピックアップし損ねたり、移載対象物に隣接するデバイスを誤ってピックアップしたりするなどの不都合が生じることがあった。これらは、複数の移載対象物を備える製品の生産性を低めていた。
【0010】
本発明は、上記問題を解決するためになされたものであり、スタンパを用いた移載の際に移載対象物のピックアップの成功率を高めることができるレセプター基板、このレセプター基板の製造方法、このレセプター基板を用いる移載方法及びLEDパネルの製造方法、並びにスタンパを提供することを目的とする。
【課題を解決するための手段】
(【0011】以降は省略されています)
この特許をJ-PlatPat(特許庁公式サイト)で参照する
関連特許
マクセル株式会社
電源装置
21日前
株式会社東芝
端子台
21日前
三菱電機株式会社
回路遮断器
8日前
株式会社GSユアサ
蓄電装置
今日
富士電機株式会社
電磁接触器
今日
株式会社GSユアサ
蓄電装置
22日前
株式会社GSユアサ
蓄電装置
14日前
株式会社GSユアサ
蓄電装置
22日前
日新イオン機器株式会社
基板処理装置
24日前
日本特殊陶業株式会社
保持装置
13日前
トヨタ自動車株式会社
蓄電装置
22日前
住友電装株式会社
コネクタ
今日
日本無線株式会社
レーダアンテナ
15日前
矢崎総業株式会社
コネクタ
今日
ローム株式会社
半導体モジュール
1日前
ヒロセ電機株式会社
電気コネクタ
今日
トヨタ自動車株式会社
密閉型電池
23日前
甲神電機株式会社
変流器及び零相変流器
15日前
日亜化学工業株式会社
半導体レーザ素子
24日前
株式会社デンソー
電子装置
24日前
株式会社レゾナック
冷却器
8日前
株式会社デンソー
熱交換部材
15日前
富士電機株式会社
半導体モジュール
16日前
日本航空電子工業株式会社
コネクタ
13日前
株式会社デンソー
半導体装置
今日
トヨタ自動車株式会社
蓄電モジュール
22日前
新電元工業株式会社
半導体装置
今日
TDK株式会社
電子部品
今日
FDK株式会社
組電池及びその作製方法
10日前
矢崎総業株式会社
接続構造
16日前
矢崎総業株式会社
コネクタ
15日前
クレザス株式会社
半導体装置の製造方法
14日前
京セラ株式会社
積層セラミック電子部品
14日前
トヨタ自動車株式会社
電池
6日前
株式会社レゾナック
ヒートシンク
13日前
矢崎総業株式会社
コネクタ
15日前
続きを見る
他の特許を見る