TOP
|
特許
|
意匠
|
商標
特許ウォッチ
Twitter
他の特許を見る
10個以上の画像は省略されています。
公開番号
2025166757
公報種別
公開特許公報(A)
公開日
2025-11-06
出願番号
2024070979
出願日
2024-04-24
発明の名称
積層セラミック電子部品
出願人
京セラ株式会社
代理人
個人
主分類
H01G
4/30 20060101AFI20251029BHJP(基本的電気素子)
要約
【課題】 残留応力を低減し、DCバイアス特性が改善された積層セラミック電子部品を提供する。
【解決手段】 誘電体層と内部電極層とが交互に積層された積層構造を備え、内部電極層は、ケイ素およびアルミニウムの酸化物と、リチウム、ホウ素、マグネシウム、亜鉛、バリウム、チタン、ジルコニウム、リン、ナトリウム、カリウムおよびボロンから選ばれる少なくとも1種の酸化物と、からなるケイ酸塩構造物質を含む。
【選択図】 図1
特許請求の範囲
【請求項1】
誘電体層と内部電極層とが交互に積層された積層構造を備え、
前記内部電極層は、ケイ素およびアルミニウムの酸化物と、リチウム、ホウ素、マグネシウム、亜鉛、バリウム、チタン、ジルコニウム、リン、ナトリウム、カリウムおよびボロンから選ばれる少なくとも1種の酸化物と、からなるケイ酸塩構造物質を含む積層セラミック電子部品。
続きを表示(約 240 文字)
【請求項2】
前記ケイ酸塩構造物質は、熱膨張係数が0.1×10
-6
/K~1.0×10
-6
/Kである請求項1に記載の積層セラミック電子部品。
【請求項3】
前記誘電体層は、セラミックから構成され、該セラミックは、粒径が0.2μm以下である請求項1または2に記載の積層セラミック電子部品。
【請求項4】
内部電極層の電極連続率が75%以上90%以下である請求項1または2に記載の積層セラミック電子部品。
発明の詳細な説明
【技術分野】
【0001】
本開示は、積層セラミック電子部品に関する。
続きを表示(約 1,900 文字)
【背景技術】
【0002】
積層セラミック電子部品については、製造時の残留応力を減少させて製品の歩留まり向上させること、バイアス特性の改善が常に望まれるが、特許文献1ではAC電圧特性を向上させるために、内部電極層に金属粒子間の立体障害として機能するアモルファスシリカを共存させることが提案されている。
【先行技術文献】
【特許文献】
【0003】
特開2022-151231号公報
【発明の概要】
【発明が解決しようとする課題】
【0004】
内部電極ペーストにアモルファスシリカを含んだ状態で焼成すると、アモルファスシリカは、内部電極内に一部取り込まれ、一部は内部電極層外へ排出されるが、焼成の際に、アモルファスシリカからクリストバライト等の高熱膨張率結晶の生成されることがあり、熱膨張係数が大きくなってしまうおそれがある。また、熱膨張係数が大きいと、誘電体層に発生する残留応力が大きくなり、バイアス特性が低下し、場合により、クラックが生じるおそれがある。本開示は、残留応力を低減し、DCバイアス特性が改善された積層セラミック電子部品を提供する。
【課題を解決するための手段】
【0005】
本開示に係る積層セラミック電子部品は、誘電体層と内部電極層とが交互に積層された積層構造を備え、
前記内部電極層は、ケイ素およびアルミニウムの酸化物と、リチウム、ホウ素、マグネシウム、亜鉛、バリウム、チタン、ジルコニウム、リン、ナトリウム、カリウムおよびボロンから選ばれる少なくとも1種の酸化物と、からなるケイ酸塩構造物質を含む。
【発明の効果】
【0006】
本開示によれば、内部電極層に存在するケイ酸塩構造物質は、焼成後の冷却において、内部電極層の収縮を抑制し、誘電体層の残留応力を減少させるので、誘電体層に発生する残留応力を減少させることができ、DC印加時の分極反転を容易にし、DCバイアス特性を向上させることができる。
【図面の簡単な説明】
【0007】
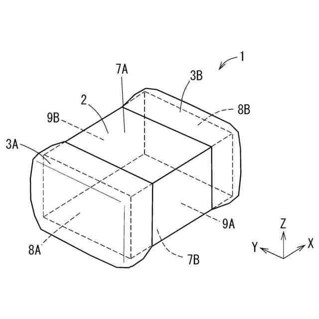
本開示に係る実施形態の積層セラミックコンデンサ1を示す斜視図である。
図1の積層セラミックコンデンサ1の素体部品2を示す斜視図である。
焼成後の積層体13を示す斜視図である。
内部電極層に生じる空隙に存在するケイ酸塩構造物質を示す模式図である。
誘電体層と内部電極層とが接着していない状態を模式的に示す図である。
誘電体層と内部電極層とが接着されている状態を模式的に示す図である。
内部電極層にケイ酸塩構造物質を含む素体部品を模式的に示す図である。
内部電極層における電極連続率と残留応力との関係を示すグラフである。
セラミック粒径と実効比誘電率との関係を示すグラフである。
【発明を実施するための形態】
【0008】
本開示について、以下、図面を参照しつつ、本開示の積層部品の実施形態について説明する。なお、以下では、積層部品の一例として積層セラミックコンデンサについて説明するが、本開示の対象となる積層部品は、積層セラミックコンデンサに限られず、積層型圧電素子、積層サーミスタ素子、積層チップコイル、およびセラミック多層基板など強磁性体層を有する様々な積層部品に適用することができる。
【0009】
<積層セラミック電子部品>
本実施形態において、図1は、本開示に係る実施形態の積層セラミックコンデンサ1を示す斜視図であり、図2は、図1の積層セラミックコンデンサ1の素体部品2を示す斜視図であり、図3は、図2の素体部品2の前駆体を示す斜視図である。図2は、焼成後の素体部品2を示す図であるが、焼成前の素体部品を示す図でもある。焼成後の素体部品2は、焼成によって収縮しているが、焼成前の素体部品2と同一構造を有している。図3は、焼成後の積層体13を示す図であるが、焼成前の積層体を示す図でもある。
【0010】
積層セラミック電子部品の実施形態である積層セラミックコンデンサ1は、積層体13と、誘電体保護層6A,6Bとを備える。積層セラミックコンデンサ1は、図1に示すように、外部との電気的接続のための第1外部電極3A及び第2外部電極3Bを備えていてもよい。積層体13及び誘電体保護層6A,6Bは、図2に示すように、素体部品2を構成する。積層体13は、素体部品2の前駆体であり、素体前駆体13とも称される。誘電体保護層6A,6Bは、保護層6とも称される。
(【0011】以降は省略されています)
この特許をJ-PlatPat(特許庁公式サイト)で参照する
関連特許
京セラ株式会社
光学系
8日前
京セラ株式会社
蓄電装置
29日前
京セラ株式会社
配線基板
14日前
京セラ株式会社
配線基板
14日前
京セラ株式会社
弾性波装置
1か月前
京セラ株式会社
粒子分離装置
29日前
京セラ株式会社
センサシステム
1か月前
京セラ株式会社
静圧気体軸受装置
28日前
京セラ株式会社
走査装置及び制御装置
28日前
京セラ株式会社
走査装置及び制御装置
28日前
京セラ株式会社
コネクタ及び取付方法
1か月前
京セラ株式会社
配線基板及び電子装置
1か月前
京セラ株式会社
配線基板及び電子装置
1か月前
京セラ株式会社
印刷装置及び印刷方法
今日
京セラ株式会社
予測装置及び予測方法
3日前
京セラ株式会社
積層セラミック電子部品
1日前
京セラ株式会社
太陽電池付きカーポート
28日前
京セラ株式会社
太陽電池付きカーポート
28日前
京セラ株式会社
発光装置および照明装置
1か月前
京セラ株式会社
流路デバイスの準備方法
1か月前
京セラ株式会社
取付部材及びヘッド取付方法
1か月前
京セラ株式会社
電磁波検出装置及び制御装置
14日前
京セラ株式会社
受電装置及び光給電システム
1か月前
京セラ株式会社
配線基板及びLEDモジュール
今日
京セラ株式会社
光集積回路及び光トランシーバ
14日前
京セラ株式会社
フィルタデバイスおよび通信装置
1か月前
京セラ株式会社
電子デバイス及び電子モジュール
今日
京セラ株式会社
光センサおよび光センサの製造方法
24日前
京セラ株式会社
分析システム、分析装置、及び分析方法
今日
京セラ株式会社
揺動装置、電磁波照射装置、及び制御装置
28日前
京セラ株式会社
光通信装置、光通信システム及び光照射素子
1か月前
京セラ株式会社
ホルダ、切削工具、及び切削加工物の製造方法
29日前
京セラ株式会社
ノード、方法、プログラム及び分散台帳システム
1か月前
京セラ株式会社
電子機器、制御方法、プログラム、及びシステム
3日前
京セラ株式会社
多層基板、フィルタモジュール、および通信装置
1か月前
京セラ株式会社
太陽光発電システム及び太陽電池付きカーポート
10日前
続きを見る
他の特許を見る