TOP
|
特許
|
意匠
|
商標
特許ウォッチ
Twitter
他の特許を見る
10個以上の画像は省略されています。
公開番号
2025167126
公報種別
公開特許公報(A)
公開日
2025-11-07
出願番号
2024071455
出願日
2024-04-25
発明の名称
電子デバイス及び電子モジュール
出願人
京セラ株式会社
代理人
個人
,
個人
主分類
H01L
23/44 20060101AFI20251030BHJP(基本的電気素子)
要約
【課題】電子部品を効率よく冷却できる電子デバイス及び電子モジュールを提供する。
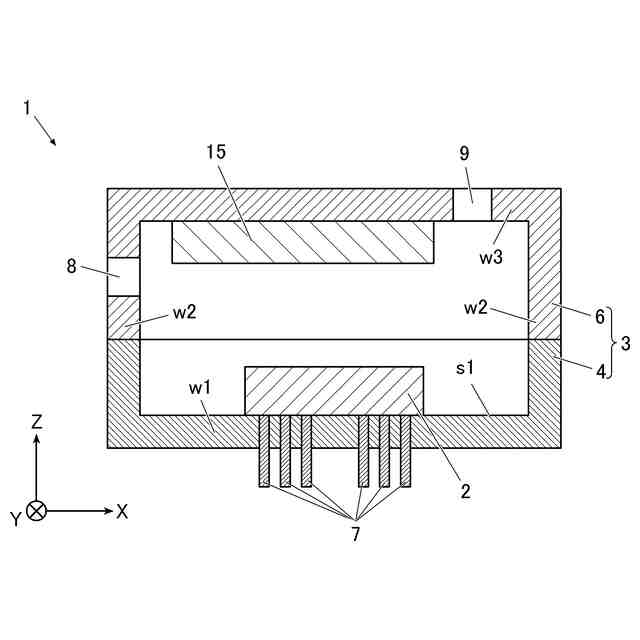
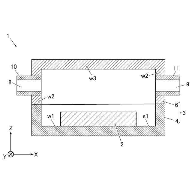
【解決手段】電子デバイスの一の実施形態は、第1電子部品と、前記第1電子部品が収容される箱体と、前記第1電子部品と電気的に接続される第1導体と、を備える。前記第1導体は、前記箱体の内外を貫通する。前記箱体は、冷媒を流入可能な第1孔部と、前記冷媒を流出可能な第2孔部と、を有する。
【選択図】図1
特許請求の範囲
【請求項1】
第1電子部品と、
前記第1電子部品が収容される箱体と、
前記箱体の内外を貫通し、前記第1電子部品と電気的に接続される第1導体と、を備え、
前記箱体は、冷媒を流入可能な第1孔部と、前記冷媒を流出可能な第2孔部と、を有する、
電子デバイス。
続きを表示(約 890 文字)
【請求項2】
前記箱体は、前記第1電子部品が搭載される容器体と、前記第1電子部品を覆う蓋体と、を有し、
前記第1孔部及び前記第2孔部は、前記蓋体に位置する、
請求項1に記載の電子デバイス。
【請求項3】
前記第1孔部及び前記第2孔部は、前記箱体の壁部のうち互いに対向する壁部にそれぞれ位置する、
請求項2に記載の電子デバイス。
【請求項4】
前記第1孔部及び前記第2孔部は、前記箱体の壁部のうち前記第1導体の外露出部が位置する壁部とは異なる壁部に位置する、
請求項3に記載の電子デバイス。
【請求項5】
前記第1孔部及び前記第2孔部の少なくともいずれかは、前記箱体の壁部のうち前記第1導体の外露出部が位置する壁部とは異なる壁部に位置する、
請求項1に記載の電子デバイス。
【請求項6】
前記第1孔部及び前記第2孔部の少なくともいずれかは、前記箱体の壁部のうち前記第1導体の外露出部が位置する壁部とは異なる上壁部に位置する、
請求項5に記載の電子デバイス。
【請求項7】
前記第1孔部及び前記第2孔部の少なくともいずれかは、前記箱体の壁部のうち前記第1導体の外露出部が位置する壁部とは異なる側壁部に位置する、
請求項5に記載の電子デバイス。
【請求項8】
前記第1孔部及び前記第2孔部の少なくともいずれかは、前記第1電子部品が位置する面よりも上方に位置する、
請求項1に記載の電子デバイス。
【請求項9】
前記第1孔部及び前記第2孔部は、前記箱体の壁部のうち互いに対向しない壁部にそれぞれ位置する、
請求項2に記載の電子デバイス。
【請求項10】
前記第1孔部及び前記第2孔部の一方は、前記箱体のいずれかの側壁部に位置し、
前記第1孔部及び前記第2孔部の他方は、前記箱体の上壁部に位置する、
請求項1に記載の電子デバイス。
(【請求項11】以降は省略されています)
発明の詳細な説明
【技術分野】
【0001】
本開示は、電子デバイス及び電子モジュールに関する。
続きを表示(約 1,000 文字)
【背景技術】
【0002】
例えば、パワーモジュールのような発熱量が比較的大きい電子部品を冷却させるために、電子部品にヒートシンクを取り付ける技術が知られている(特許文献1参照)。
【先行技術文献】
【特許文献】
【0003】
特開2020-72094号公報
【発明の概要】
【発明が解決しようとする課題】
【0004】
しかし、より効率よく電子部品を冷却することが求められている。
【0005】
そこで、本開示は、電子部品を効率よく冷却できる電子デバイス及び電子モジュールを提供する。
【課題を解決するための手段】
【0006】
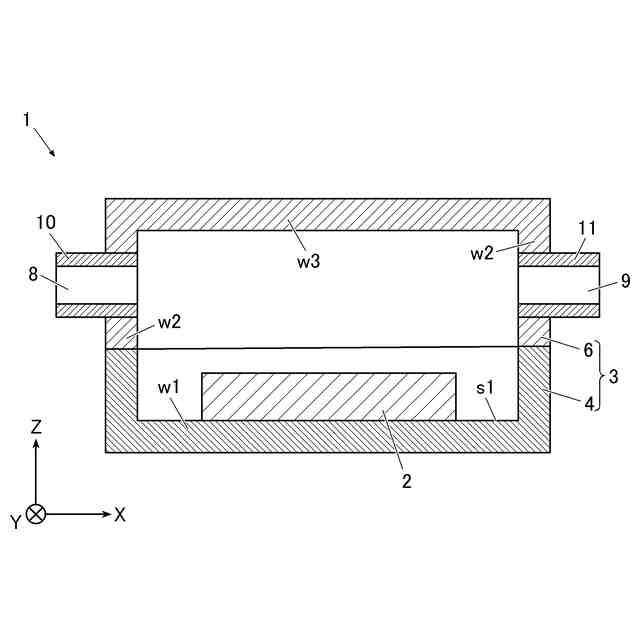
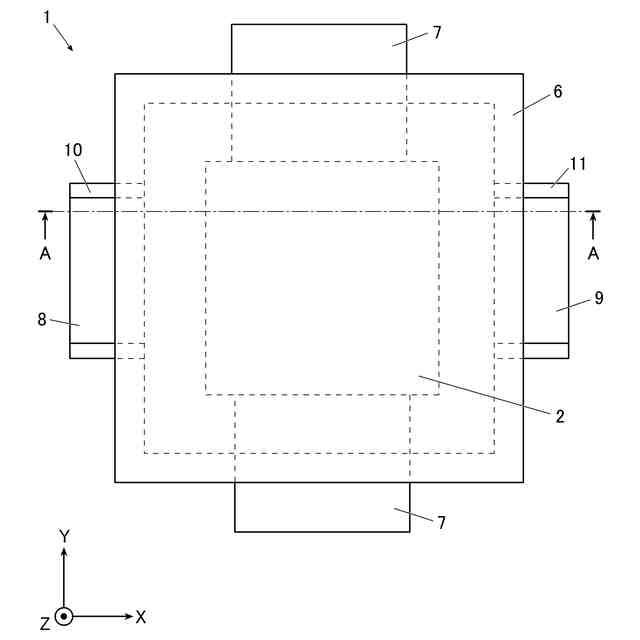
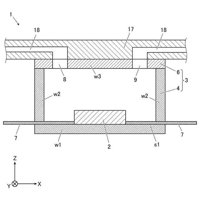
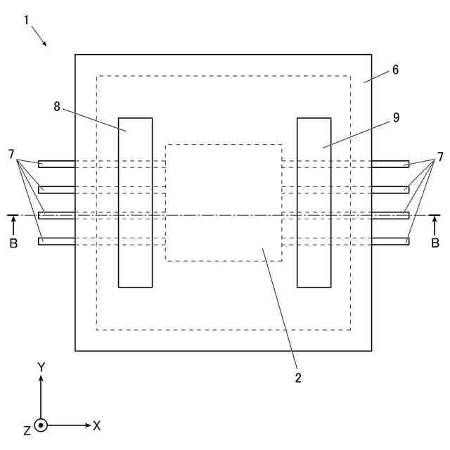
(1)本開示に係る電子デバイスの一実施形態は、
第1電子部品と、
前記第1電子部品が収容される箱体と、
前記箱体の内外を貫通し、前記第1電子部品と電気的に接続される第1導体と、を備え、
前記箱体は、冷媒を流入可能な第1孔部と、前記冷媒を流出可能な第2孔部と、を有する。
【0007】
(2)本開示に係る電子デバイスの一実施形態は、
上記(1)の電子デバイスであって、
前記箱体は、前記第1電子部品が搭載される容器体と、前記第1電子部品を覆う蓋体と、を有し、
前記第1孔部及び前記第2孔部は、前記蓋体に位置する。
【0008】
(3)本開示に係る電子デバイスの一実施形態は、
上記(1)又は(2)の電子デバイスであって、
前記第1孔部及び前記第2孔部は、前記箱体の壁部のうち互いに対向する壁部にそれぞれ位置する。
【0009】
(4)本開示に係る電子デバイスの一実施形態は、
上記(1)~(3)のいずれかの電子デバイスであって、
前記第1孔部及び前記第2孔部は、前記箱体の壁部のうち前記第1導体の外露出部が位置する壁部とは異なる壁部に位置する。
【0010】
(5)本開示に係る電子デバイスの一実施形態は、
上記(1)~(3)のいずれかの電子デバイスであって、
前記第1孔部及び前記第2孔部の少なくともいずれかは、前記箱体の壁部のうち前記第1導体の外露出部が位置する壁部とは異なる壁部に位置する。
(【0011】以降は省略されています)
この特許をJ-PlatPat(特許庁公式サイト)で参照する
関連特許
京セラ株式会社
光学系
1か月前
京セラ株式会社
配線基板
1か月前
京セラ株式会社
配線基板
1か月前
京セラ株式会社
蓄電装置
1か月前
京セラ株式会社
弾性波装置
2か月前
京セラ株式会社
粒子分離装置
1か月前
京セラ株式会社
アイソレータ
1日前
京セラ株式会社
振動検出方法
2日前
京セラ株式会社
センサシステム
1か月前
京セラ株式会社
静圧気体軸受装置
1か月前
京セラ株式会社
光センサモジュール
17日前
京セラ株式会社
光センサモジュール
17日前
京セラ株式会社
配線基板及び電子装置
1か月前
京セラ株式会社
印刷装置及び印刷方法
22日前
京セラ株式会社
配線基板及び電子装置
1か月前
京セラ株式会社
予測装置及び予測方法
25日前
京セラ株式会社
走査装置及び制御装置
1か月前
京セラ株式会社
走査装置及び制御装置
1か月前
京セラ株式会社
コネクタ及び取付方法
1か月前
京セラ株式会社
太陽電池付きカーポート
1か月前
京セラ株式会社
太陽電池付きカーポート
1か月前
京セラ株式会社
積層セラミック電子部品
23日前
京セラ株式会社
流路デバイスの準備方法
1か月前
京セラ株式会社
発光装置および照明装置
2か月前
京セラ株式会社
差動信号フィルタデバイス
9日前
京セラ株式会社
差動信号フィルタデバイス
9日前
京セラ株式会社
受電装置及び光給電システム
1か月前
京セラ株式会社
電磁波検出装置及び制御装置
1か月前
京セラ株式会社
取付部材及びヘッド取付方法
1か月前
京セラ株式会社
端子、端子部材および電気機器
15日前
京セラ株式会社
光集積回路及び光トランシーバ
1か月前
京セラ株式会社
配線基板及びLEDモジュール
22日前
京セラ株式会社
端子、端子部材および電気機器
17日前
京セラ株式会社
フィルタデバイスおよび通信装置
1か月前
京セラ株式会社
電子デバイス及び電子モジュール
22日前
京セラ株式会社
積層セラミック電子部品の製造方法
1日前
続きを見る
他の特許を見る