TOP
|
特許
|
意匠
|
商標
特許ウォッチ
Twitter
他の特許を見る
10個以上の画像は省略されています。
公開番号
2025169054
公報種別
公開特許公報(A)
公開日
2025-11-12
出願番号
2024074032
出願日
2024-04-30
発明の名称
光センサモジュール
出願人
京セラ株式会社
代理人
弁理士法人三協国際特許事務所
主分類
H10F
55/00 20250101AFI20251105BHJP()
要約
【課題】検出対象外の光成分の混入を抑制し、センシング精度を向上できる光センサモジュールを提供する。
【解決手段】光センサモジュールは、センサ基板、レンズユニットおよびカバーを備える。前記センサ基板は、実装面を有する基板と、前記実装面に配置された発光素子および受光素子と、を含む。前記レンズユニットは、前記実装面の前方に配置され、前記発光素子から発せられる測定光および前記受光素子に入射する反射光を集光するレンズ部と、前記レンズ部の周囲のホルダ部と、を含む。前記カバーは、前記ホルダ部の表面の少なくとも一部を覆う。
【選択図】図1
特許請求の範囲
【請求項1】
実装面を有する基板と、前記実装面に配置された発光素子および受光素子と、を含むセンサ基板と、
前記実装面の前方に配置され、前記発光素子から発せられる測定光および前記受光素子に入射する反射光を集光するレンズ部と、前記レンズ部の周囲のホルダ部と、を含むレンズユニットと、
前記ホルダ部の表面の少なくとも一部を覆うカバーと、
を備える光センサモジュール。
続きを表示(約 1,000 文字)
【請求項2】
請求項1に記載の光センサモジュールにおいて、
前記レンズユニットは、前記実装面と対向する第1面と、前記第1面とは反対側の第2面とを含み、
前記カバーは、前記第2面における前記ホルダ部の表面の少なくとも一部を覆っている、光センサモジュール。
【請求項3】
請求項2に記載の光センサモジュールにおいて、
前記レンズユニットは、前記第1面と前記第2面との間の側面を含み、
前記カバーは、前記第2面における前記ホルダ部の表面の少なくとも一部を覆う天板と、前記側面を覆う側板とを含む筐体構造を有する、光センサモジュール。
【請求項4】
請求項3に記載の光センサモジュールにおいて、
前記ホルダ部は、前記レンズ部の周囲を取り囲む形状を有し、
前記天板は、前記レンズ部を露出させる開口を含む、光センサモジュール。
【請求項5】
請求項3に記載の光センサモジュールにおいて、
前記筐体構造を有する前記カバーと嵌合可能な底板をさらに備え、
前記ホルダ部が、前記天板と前記底板との間に挟み込まれている、光センサモジュール。
【請求項6】
請求項1~5のいずれか1項に記載の光センサモジュールにおいて、
前記実装面に、第1発光素子と第1受光素子との発受光ペア、第2受光素子、第2発光素子の順で列状に配置された素子群が配置され、
前記第1受光素子は、前記第1発光素子から発せられる第1測定光の測定対象物からの正反射光を受光する位置に配置され、
前記第2受光素子は、前記第2発光素子から発せられる第2測定光の測定対象物からの乱反射光を受光する位置に配置され、
前記カバーは、前記実装面の垂直方向における前記第2発光素子の前方において、前記ホルダ部の表面を覆う部分を含む、光センサモジュール。
【請求項7】
請求項6に記載の光センサモジュールにおいて、
前記第2発光素子と前記第2受光素子との間において、前記実装面の前方に配置された遮光壁をさらに備え、
前記カバーの端縁は、前記第2発光素子と前記遮光壁との間に位置している、光センサモジュール。
【請求項8】
請求項6に記載の光センサモジュールにおいて、
前記第1発光素子の発光面積より前記第2発光素子の発光面積の方が大きい、光センサモジュール。
発明の詳細な説明
【技術分野】
【0001】
本開示は、発光素子および受光素子を備える光センサモジュールに関する。
続きを表示(約 2,100 文字)
【背景技術】
【0002】
測定対象物に照射する測定光を発する発光素子と、前記測定光の反射光を受光する受光素子とを備える光センサモジュールが知られている。当該光センサモジュールは、例えばタンデム型の画像形成装置の中間転写ベルトに形成される、トナー濃度や色ずれ計測のためのパッチ画像の検出に用いられる。特許文献1には、発光素子および受光素子を実装したセンサ基板の前方に、レンズ部を備えたレンズユニットを配置してなる光センサモジュールが開示されている。
【先行技術文献】
【特許文献】
【0003】
特許第6484331号公報
【発明の概要】
【発明が解決しようとする課題】
【0004】
上記の光センサモジュールでは、パッチ画像等の測定対象物からの反射光だけを受光素子が検出することが望ましい。しかし、検出を企図していない他の光が受光素子に混入し、測定対象物の正確なセンシングを阻害することがある。
【0005】
本開示は、検出対象外の光成分の混入を抑制し、センシング精度を向上できる光センサモジュールを提供することを目的とする。
【課題を解決するための手段】
【0006】
本開示の一の局面に係る光センサモジュールは、実装面を有する基板と、前記実装面に配置された発光素子および受光素子と、を含むセンサ基板と、前記実装面の前方に配置され、前記発光素子から発せられる測定光および前記受光素子に入射する反射光を集光するレンズ部と、前記レンズ部の周囲のホルダ部と、を含むレンズユニットと、前記ホルダ部の表面の少なくとも一部を覆うカバーと、を備える。
【発明の効果】
【0007】
本開示によれば、検出対象外の光成分の混入を抑制し、センシング精度を向上できる光センサモジュールを提供することができる。
【図面の簡単な説明】
【0008】
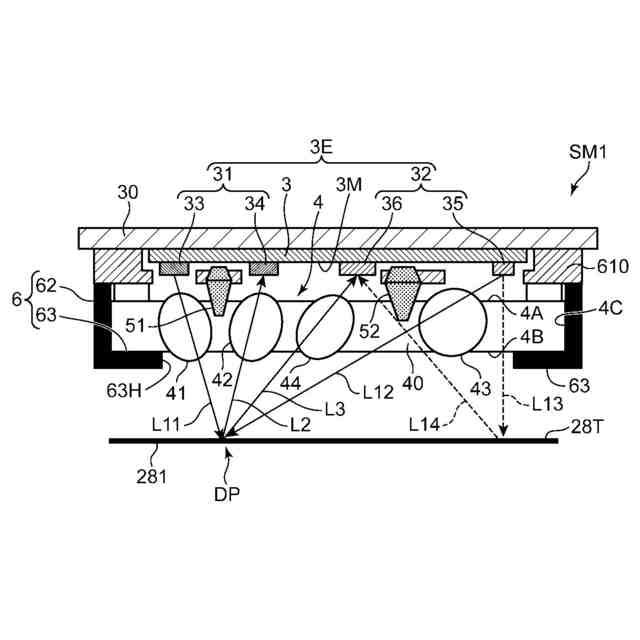
図1は、本開示の光センサモジュールが適用されるカラープリンターの内部構造を概略的に示す断面図である。
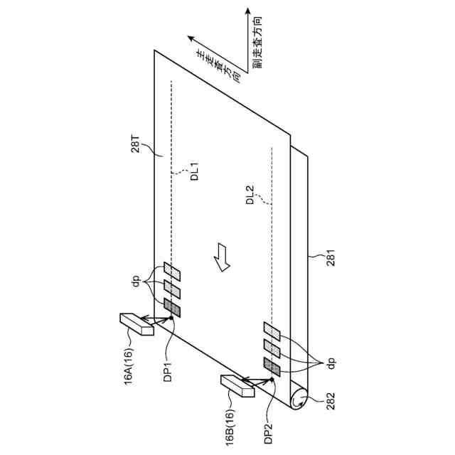
図2は、光センサモジュールの一例である濃度センサの配置例を示す斜視図である。
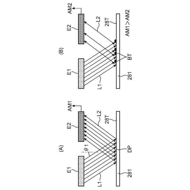
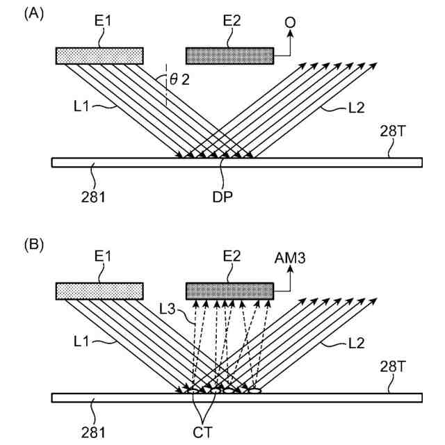
図3(A)および(B)は、黒トナーの検出原理を示す模式図である。
図4(A)および(B)は、カラートナーの検出原理を示す模式図である。
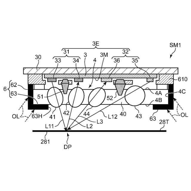
図5Aは、本開示の基本実施形態の第1例に係る光センサモジュールを示す断面図である。
図5Bは、上記第1例における発受光の態様を示す断面図である。
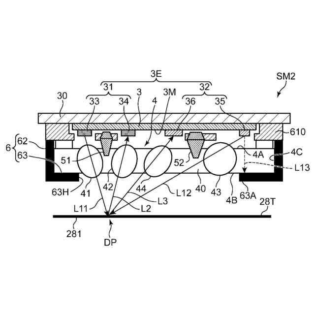
図6は、基本実施形態の第2例に係る光センサモジュールを示す断面図である。
図7(A)および(B)は、本開示の具体的実施形態に係る光センサモジュールの外観を示す斜視図である。
図8(A)は、図7に示す光センサモジュールの上面図、図8(B)は底面図、図8(C)は側面図である。
図9(A)は、筐体底板の下面視の斜視図、図9(B)は、筐体底板の上面視の斜視図である。
図10は、図8(B)のX-X線断面図である。
図11は、図9(B)のXI-XI線断面図であって、センサ基板の装着前の状態を示す図である。
図12は、光センサモジュールの図10と同じ断面を示し、カバー及びレンズ部の詳細を説明するための断面図である。
【発明を実施するための形態】
【0009】
以下、本開示の光センサモジュールについて、図面を参照して詳細に基づいて説明する。本開示の光センサモジュールは、測定光を測定対象物に照射し、その反射光を受光することで、当該測定対象物の物理特性を計測するモジュールである。測定対象物には特に制限はなく、固体、半固体、液体、粉体などが対象となり得る。測定する物理特性についても、反射光から解析し得る限りにおいて特に制限はない。例えば、測定対象物の色や濃度の計測に、本開示の光センサモジュールは好適である。以下で説明する実施形態では、カラープリンターに対し、画像形成用のトナーの濃度検出用に組み付けられる光センサモジュールを例示する。
【0010】
[カラープリンターの説明]
先ず、本開示の光センサモジュールが適用されるカラープリンターの構成について説明する。図1は、タンデム式のカラープリンター1の内部構造を概略的に示す断面図である。カラープリンター1は、本体ハウジング10に収容された、画像形成ユニット2Y、2C、2M、2Bk、光走査装置23、中間転写ユニット28及び定着ユニット29を含む。本体ハウジング10の上面には排紙トレイ11が備えられている。排紙トレイ11に対向して、シート排出口12が開口している。本体ハウジング10の側壁には手差し給紙トレイ13が、本体ハウジング10の下部には、自動給紙等のシートを収容する給紙カセット14が、それぞれ装備されている。
(【0011】以降は省略されています)
この特許をJ-PlatPat(特許庁公式サイト)で参照する
関連特許
京セラ株式会社
振動検出方法
10日前
京セラ株式会社
アイソレータ
9日前
京セラ株式会社
光センサモジュール
25日前
京セラ株式会社
光センサモジュール
25日前
京セラ株式会社
印刷装置及び印刷方法
1か月前
京セラ株式会社
積層セラミック電子部品
1か月前
京セラ株式会社
弾性波装置および通信装置
2日前
京セラ株式会社
差動信号フィルタデバイス
17日前
京セラ株式会社
差動信号フィルタデバイス
17日前
京セラ株式会社
配線基板及びLEDモジュール
1か月前
京セラ株式会社
端子、端子部材および電気機器
25日前
京セラ株式会社
端子、端子部材および電気機器
23日前
京セラ株式会社
電子デバイス及び電子モジュール
1か月前
京セラ株式会社
積層セラミック電子部品の製造方法
9日前
京セラ株式会社
電子機器、制御方法、及びプログラム
10日前
京セラ株式会社
分析システム、分析装置、及び分析方法
1か月前
京セラ株式会社
光センサおよびこれを備えた画像形成装置
25日前
京セラ株式会社
VMD支援システム、サーバ装置、及び通信方法
1か月前
京セラ株式会社
行動検出システム、サーバ装置、及び行動検出方法
1か月前
京セラ株式会社
被覆層付き金属部材
11日前
京セラ株式会社
液滴吐出ヘッドおよび記録装置
9日前
京セラ株式会社
半導体レーザデバイスの製造方法
25日前
京セラ株式会社
チップ状電子部品、チップ状電子部品の製造方法、及びチップ状電子部品の実装方法
23日前
京セラ株式会社
表示装置、結像装置、表示システムおよび車両
25日前
京セラ株式会社
積層セラミックコンデンサおよびその実装構造体
6日前
富士通株式会社
情報処理プログラム、情報処理方法、および情報処理装置
4日前
京セラ株式会社
表示装置、表示システム、車両及び表示パネル収容装置
17日前
京セラ株式会社
電力管理システム、表示装置、電力管理方法、及びプログラム
2日前
京セラ株式会社
判定システム、判定システムの制御方法、および制御プログラム
1か月前
京セラ株式会社
電気化学セル、電気化学セル装置、モジュールおよびモジュール収容装置
25日前
京セラ株式会社
情報処理装置、ロボットコントローラ、情報処理システム、及び情報処理方法
23日前
京セラ株式会社
情報処理システム、情報処理システムの制御方法、制御プログラム、記録媒体
17日前
株式会社オーガンテック
再生毛包原基の製造に使用するための上皮由来細胞
9日前
24エム・テクノロジーズ・インコーポレイテッド
高活性固体ローディングを有する半固体電極、及びそれを含む電気化学セルを形成するための装置及びプロセス
11日前
個人
積和演算用集積回路
1か月前
サンケン電気株式会社
半導体装置
1か月前
続きを見る
他の特許を見る