TOP
|
特許
|
意匠
|
商標
特許ウォッチ
Twitter
他の特許を見る
10個以上の画像は省略されています。
公開番号
2025154699
公報種別
公開特許公報(A)
公開日
2025-10-10
出願番号
2024057843
出願日
2024-03-29
発明の名称
太陽電池付きカーポート
出願人
京セラ株式会社
,
株式会社タカミヤ
代理人
個人
,
個人
,
個人
主分類
E04H
6/02 20060101AFI20251002BHJP(建築物)
要約
【課題】簡素な構成で排水性を向上させる。
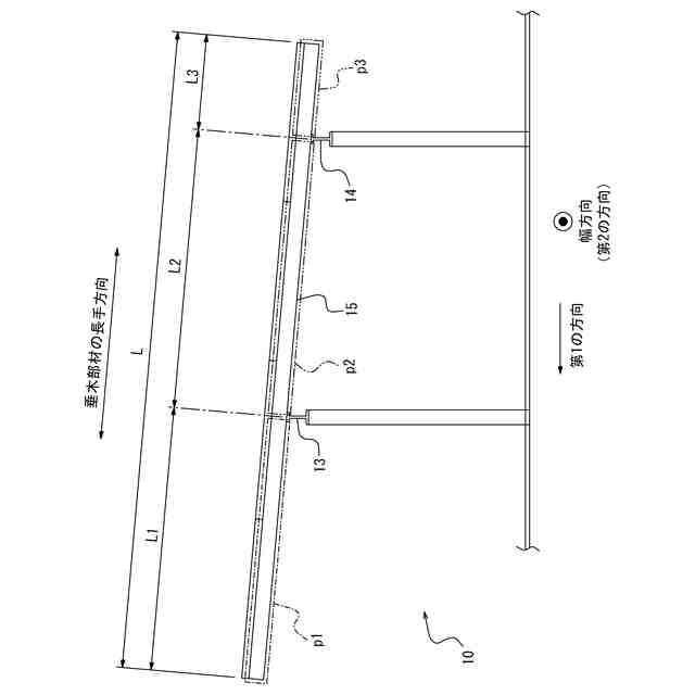
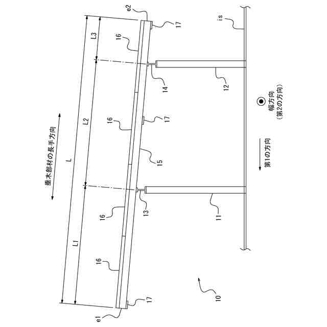
【解決手段】太陽電池付きカーポート10は第1の桁部材13と第2の桁部材14と垂木部材15と複数の太陽電池モジュール16とを有する。第1の桁部材13と第2の桁部材14とは第2の方向に延在する。垂木部材15を長手方向の両端の間において第1の桁部材13と第2の桁部材14と直交するように配置する。複数の太陽電池モジュール16を垂木部材15の長手方向に沿って並べて配置する。垂木部材15全長をLとする。垂木部材15の第1の端e1から第1の桁部材13までの部分のL1とする。垂木部材15の第1の桁部材13及び第2の桁部材14に挟まれる部分の長さをL2とする。垂木部材15の長手方向における第2の端e2から第2の桁部材14までの部分の長さをL3とする。L/4<L1、0<L3、且つL1<L2を満たす
【選択図】図1
特許請求の範囲
【請求項1】
第1の方向において互いに離れて設置面に立設される第1の柱部材及び第2の柱部材の少なくとも1組と、
前記第1の柱部材の軸方向及び前記第1の方向に垂直な第2の方向に延在し、前記第1の柱部材及び前記第2の柱部材にそれぞれ固定される第1の桁部材及び第2の桁部材と、
前記第1の桁部材及び前記第2の桁部材とは、長手方向の両端の間において直交するように配置される少なくとも1つの垂木部材と、
前記垂木部材の長手方向に沿って並べて配置され、それぞれが矩形の太陽電池パネルと該太陽電池パネルの受光面の外縁を囲うフレームとを有し、前記フレームにおいて前記垂木部材に複数の締結部材を用いて固定される複数の太陽電池モジュールと、を備え、
前記垂木部材の前記長手方向の全長をL、前記垂木部材の前記長手方向において第1の端から前記第2の桁部材より該第1の端側に位置する前記第1の桁部材までの部分の前記長手方向における長さをL1、前記垂木部材の前記第1の桁部材及び前記第2の桁部材に挟まれる部分の前記長手方向に沿った長さをL2、前記垂木部材の前記長手方向における第2の端から前記第2の桁部材までの部分の前記長手方向における長さをL3として、L/4<L1且つ0<L3、且つL1<L2を満たす
太陽電池付きカーポート。
続きを表示(約 900 文字)
【請求項2】
請求項1に記載の太陽電池付きカーポートにおいて、
L3<L1を満たす
太陽電池付きカーポート。
【請求項3】
請求項1又は2に記載の太陽電池付きカーポートにおいて、
前記垂木部材の長手方向に沿って前記第1の端から2番目以降に位置する前記太陽電池モジュールにおいて、前記フレーム、前記第1の桁部材、及び前記垂木部材は前記受光面の法線方向から見て重なって位置し、且つ前記フレーム、前記垂木部材、及び前記複数の締結部材は該法線方向から見て重なって位置し、
前記複数の締結部材の少なくとも1つは該法線方向から見て前記第1の桁部材の中心より前記第1の端側に位置し、他の締結部材は該法線方向から見て前記第1の桁部材の中心より前記第2の端側に位置する
太陽電池付きカーポート。
【請求項4】
請求項1又は2に記載の太陽電池付きカーポートにおいて、
前記垂木部材の長手方向に沿って前記第2の端から1番目に位置する前記太陽電池モジュールにおいて、前記フレーム、前記第2の桁部材、前記垂木部材は前記受光面の法線方向から見て重なって位置し、且つ前記フレーム、前記垂木部材、及び前記複数の締結部材は該法線方向から見て重なって位置し、
前記複数の締結部材の少なくとも1つは該法線方向から見て前記第2の桁部材の中心より前記第1の端側に位置し、他の締結部材は該法線方向から見て前記第2の桁部材の中心より前記第2の端側に位置する
太陽電池付きカーポート。
【請求項5】
請求項1又は2に記載の太陽電池付きカーポートにおいて、
前記垂木部材は、長手方向に垂直な断面がH形である
太陽電池付きカーポート。
【請求項6】
請求項1又は2に記載の太陽電池付きカーポートにおいて、
前記少なくとも1つの垂木部材は、前記第2の方向に沿って並ぶ複数の垂木部材を含み、
前記複数の垂木部材は、前記第2の方向に延在する連結部材に連結される
太陽電池付きカーポート。
発明の詳細な説明
【技術分野】
【0001】
本発明は、太陽電池付きカーポートに関するものである。
続きを表示(約 1,900 文字)
【背景技術】
【0002】
多様な建造物の屋上に太陽電池を設置することが提案されている。建造物としてカーポートに太陽電池を設置することも検討されている。例えば、左右の支柱間に横架させる桁材の組を2組、互いの桁材が平行になるように設け、桁材の上に井桁状に組合わせた垂木及び横桟材を枠として枠無し太陽電池モジュールを配置したカーポートが提案されている(特許文献1参照)。
【先行技術文献】
【特許文献】
【0003】
特開2016―017315号公報
【発明の概要】
【発明が解決しようとする課題】
【0004】
特許文献1に記載の構成では、太陽電池モジュールを配置した井桁状の垂木及び横桟材により形成される屋根は、前後の支柱間で下側に凸となり得る。このため、雨水を排出できず太陽電池モジュールに汚れが溜まる可能性がある。そのため、このようなカーポートでは太陽電池の発電する電力量が低下し得る。
【0005】
本開示の目的は、簡素な構造で排水性を向上させる太陽電池付きカーポートを提供することである。
【課題を解決するための手段】
【0006】
第1の観点による太陽電池付きカーポートは、
第1の方向において互いに離れて設置面に立設される第1の柱部材及び第2の柱部材の少なくとも1組と、
前記第1の柱部材の軸方向及び前記第1の方向に垂直な第2の方向に延在し、前記第1の柱部材及び前記第2の柱部材にそれぞれ固定される第1の桁部材及び第2の桁部材と、
前記第1の桁部材及び前記第2の桁部材とは、長手方向の両端の間において直交するように配置される少なくとも1つの垂木部材と、
前記垂木部材の長手方向に沿って並べて配置され、それぞれが矩形の太陽電池パネルと該太陽電池パネルの受光面の外縁を囲うフレームとを有し、前記フレームにおいて前記垂木部材に複数の締結部材を用いて固定される複数の太陽電池モジュールと、を備え、
前記垂木部材の前記長手方向の全長をL、前記垂木部材の前記長手方向において第1の端から前記第2の桁部材より該第1の端側に位置する前記第1の桁部材までの部分の前記長手方向における長さをL1、前記垂木部材の前記第1の桁部材及び前記第2の桁部材に挟まれる部分の前記長手方向に沿った長さをL2、前記垂木部材の前記長手方向における第2の端から前記第2の桁部材までの部分の前記長手方向における長さをL3として、L/4<L1、0<L3、且つL1<L2を満たす。
【発明の効果】
【0007】
本開示によれば、簡素な構造で排水性が向上する。
【図面の簡単な説明】
【0008】
一実施形態に係る太陽電池付きカーポートを設置面に設置した状態で幅方向から見た側面図である。
図1の太陽電池付きカーポートの正面図である。
図1の太陽電池付きカーポートから太陽電池モジュールを外した状態で鉛直上方から見た上面図である。
図1の太陽電池モジュールの外観斜視図である。
図4をV-V断面で切断した断面図である。
図1の太陽電池付きカーポートから第1の桁部材に重なり且つ幅方向に並ぶ2つの太陽電池モジュール以外の太陽電池モジュールを外した状態で鉛直上方から見た図である。
図1の太陽電池付きカーポートから第2の桁部材に重なり且つ幅方向に並ぶ2つの太陽電池モジュール以外の太陽電池モジュールを外した状態で鉛直上方から見た図である。
図1の太陽電池付きカーポートが有する作用効果を説明するための側面図である。
C形鋼を垂木部材に用いて太陽電池モジュールを配置した参照用の太陽電池付きカーポートにおける垂木部材の長手方向から見た垂木部材及び太陽電池モジュールの図である。
【発明を実施するための形態】
【0009】
以下、本開示の実施形態について、図面を参照して説明する。以下の図面に示す構成要素において、同じ構成要素には同じ符号を付す。
【0010】
図1に示すように、本開示の一実施形態に係る太陽電池付きカーポート10は、第1の柱部材11及び第2の柱部材12の少なくとも1組、第1の桁部材13、第2の桁部材14、少なくとも1つの垂木部材15、並びに複数の太陽電池モジュール16を含んで構成される。太陽電池付きカーポート10は、更に、少なくとも1つの連結部材17を含んで構成されてよい。
(【0011】以降は省略されています)
この特許をJ-PlatPat(特許庁公式サイト)で参照する
関連特許
京セラ株式会社
光学系
4日前
京セラ株式会社
蓄電装置
25日前
京セラ株式会社
配線基板
10日前
京セラ株式会社
配線基板
10日前
京セラ株式会社
粒子分離装置
25日前
京セラ株式会社
センサシステム
1か月前
京セラ株式会社
静圧気体軸受装置
24日前
京セラ株式会社
走査装置及び制御装置
24日前
京セラ株式会社
コネクタ及び取付方法
26日前
京セラ株式会社
走査装置及び制御装置
24日前
京セラ株式会社
配線基板及び電子装置
1か月前
京セラ株式会社
配線基板及び電子装置
1か月前
京セラ株式会社
太陽電池付きカーポート
24日前
京セラ株式会社
太陽電池付きカーポート
24日前
京セラ株式会社
発光装置および照明装置
1か月前
京セラ株式会社
流路デバイスの準備方法
26日前
京セラ株式会社
受電装置及び光給電システム
26日前
京セラ株式会社
電磁波検出装置及び制御装置
10日前
京セラ株式会社
取付部材及びヘッド取付方法
1か月前
京セラ株式会社
光集積回路及び光トランシーバ
10日前
京セラ株式会社
フィルタデバイスおよび通信装置
1か月前
京セラ株式会社
光センサおよび光センサの製造方法
20日前
京セラ株式会社
揺動装置、電磁波照射装置、及び制御装置
24日前
京セラ株式会社
光通信装置、光通信システム及び光照射素子
27日前
京セラ株式会社
ホルダ、切削工具、及び切削加工物の製造方法
25日前
京セラ株式会社
ノード、方法、プログラム及び分散台帳システム
26日前
京セラ株式会社
多層基板、フィルタモジュール、および通信装置
1か月前
京セラ株式会社
太陽光発電システム及び太陽電池付きカーポート
6日前
京セラ株式会社
情報処理装置、情報処理システム、及び情報処理方法
26日前
京セラ株式会社
プログラム、給電方法、給電装置及び光給電システム
25日前
京セラ株式会社
情報処理装置、情報処理システム、及び情報処理方法
26日前
京セラ株式会社
受発光センサ及び該受発光センサを備えた画像形成装置
24日前
京セラ株式会社
受発光センサ及び該受発光センサを備えた画像形成装置
24日前
京セラ株式会社
受発光センサ及び該受発光センサを備えた画像形成装置
24日前
京セラ株式会社
受発光センサ及び該受発光センサを備えた画像形成装置
24日前
京セラ株式会社
受発光センサ及び該受発光センサを備えた画像形成装置
24日前
続きを見る
他の特許を見る