TOP
|
特許
|
意匠
|
商標
特許ウォッチ
Twitter
他の特許を見る
10個以上の画像は省略されています。
公開番号
2025165243
公報種別
公開特許公報(A)
公開日
2025-11-04
出願番号
2024069238
出願日
2024-04-22
発明の名称
予測装置及び予測方法
出願人
京セラ株式会社
,
国立大学法人 東京大学
代理人
弁理士法人キュリーズ
主分類
G06Q
10/04 20230101AFI20251027BHJP(計算;計数)
要約
【課題】エリアプライスの予測精度を向上させることが可能な予測装置及び予測方法を提供する。また、電力の調達コストを抑制することが可能な予測装置及び予測方法を提供する。
【解決手段】予測装置は、対象エリアと対象エリアに隣接する隣接エリアとにおける過去のエリア情報と、対象エリアと隣接エリアとの間の連系線における過去の連系線情報と、対象エリアにおける過去のエリアプライスとを学習データとして用いて学習済モデルを生成する学習部を有する。また、予測装置は、対象エリア及び隣接エリアにおける現在のエリア情報と、連系線における現在の連系線情報とを学習済モデルへ入力させて、対象エリアにおける現在のエリアプライスを予測する推論部を有する。
【選択図】図6
特許請求の範囲
【請求項1】
対象エリアと前記対象エリアに隣接する隣接エリアとにおける過去のエリア情報と、前記対象エリアと前記隣接エリアとの間の連系線における過去の連系線情報と、前記対象エリアにおける過去のエリアプライスとを学習データとして用いて学習済モデルを生成する学習部と、
前記対象エリア及び前記隣接エリアにおける現在のエリア情報と、前記連系線における現在の連系線情報とを前記学習済モデルへ入力させて、前記対象エリアにおける現在のエリアプライスを予測する推論部と、
を有する予測装置。
続きを表示(約 890 文字)
【請求項2】
前記連系線情報は、前記対象エリアと前記隣接エリアとの間の前記連系線に関する特徴量を含む
請求項1記載の予測装置。
【請求項3】
前記エリア情報は、気象に関する情報を表す気象予報情報、発電実績を表す発電実績情報、及び、広域ブロックにおける電力の需要に対する供給の指標を表す広域予備率情報の少なくともいずれかを含む
請求項1記載の予測装置。
【請求項4】
前記学習部は、前記対象エリアと前記隣接エリアとの接続関係を表す隣接行列と、前記過去のエリア情報と前記過去のエリアプライスとを含む第1特徴行列と、前記連系線情報を含む第2特徴行列とを用いて、グラフを用いた機械学習を利用して、前記学習済モデルを生成する
請求項1記載の予測装置。
【請求項5】
前記エリアプライスが第1基準閾値以上のとき、又は、前記エリアプライスが第2基準閾値(第2基準閾値<第1基準閾値)以下のとき、重み付けされた損失関数を用いて、前記学習済モデルを評価する評価部を、更に有する
請求項1記載の予測装置。
【請求項6】
前記学習部は、互いに隣接しない第1エリア及び第2エリアにおいてエリアプライスが同一になったときに、前記第1エリアと前記第2エリアとの間で連結線が経由するエリアのエリアプライスが同一になる価格合同を考慮した前記学習済モデルを生成する
請求項1記載の予測装置。
【請求項7】
対象エリアと前記対象エリアに隣接する隣接エリアとにおける過去のエリア情報と、前記対象エリアと前記隣接エリアとの間の連系線における過去の連系線情報と、前記対象エリアにおける過去のエリアプライスとを学習データとして用いて学習済モデルを生成するステップと、
前記対象エリア及び前記隣接エリアにおける現在のエリア情報と、前記連系線における現在の連系線情報とを前記学習済モデルへ入力させて、前記対象エリアにおける現在のエリアプライスを予測するステップと、を有する
予測方法。
発明の詳細な説明
【技術分野】
【0001】
本発明は、予測装置及び予測方法に関する。
続きを表示(約 2,000 文字)
【背景技術】
【0002】
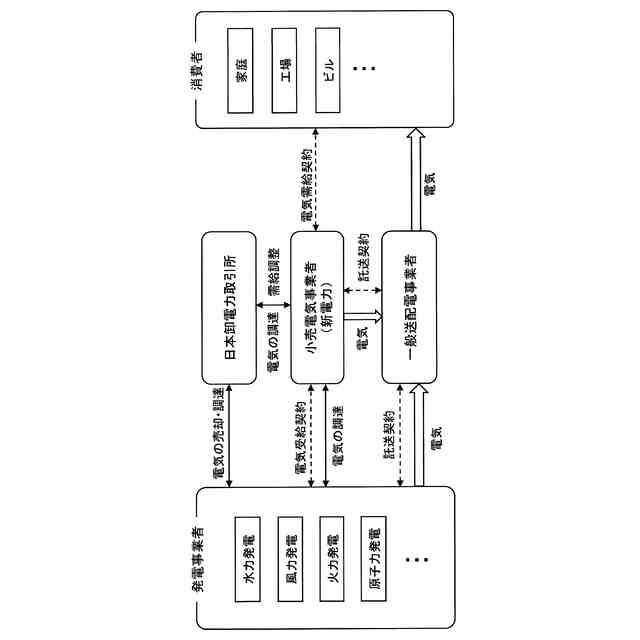
近年、「電力の全面自由化」によって、新電力(又は新電力会社)と呼ばれる小売電気事業者が新たに電力市場に参入するケースが増加している。新電力は、例えば、太陽光発電、バイオマス発電などの再生可能エネルギーを利用して電力を供給することができる場合もあるが、天候などに左右されることから、供給区域内へ電力を安定して供給することができない場合もある。
【0003】
一方、国内電力の売買を行う電力取引所として、一般社団法人日本卸電力取引所(JEPX:Japan Electric Power Exchange。以下、「電力取引所」と称する場合がある。)がある。電力取引所には、翌日に電気の受け渡しを行う一日前市場(又はスポット市場)と呼ばれる市場がある。スポット市場では、電力の取引価格(1kWhの価格)を、スポット価格として、30分単位で決定している。新電力は、翌日の電力需要計画を立て、電力取引所を利用して、電気を調達し、調達した電気を消費者へ供給することができる。
【先行技術文献】
【非特許文献】
【0004】
「間接送電権について」、資源エネルギー庁、2017年10月30日、インターネット<https://www.meti.go.jp/shingikai/enecho/denryoku_gas/denryoku_gas/seido_kento/pdf/013_03_00.pdf>
【発明の概要】
【発明が解決しようとする課題】
【0005】
本開示は、エリアプライスの予測精度を向上させることが可能な予測装置及び予測方法を提供する。また、本開示は、電力の調達コストを抑制することが可能な予測装置及び予測方法を提供する。
【課題を解決するための手段】
【0006】
第1の態様に係る予測装置は、対象エリアと対象エリアに隣接する隣接エリアとにおける過去のエリア情報と、対象エリアと隣接エリアとの間の連系線における過去の連系線情報と、対象エリアにおける過去のエリアプライスとを学習データとして用いて学習済モデルを生成する学習部を有する。また、前記予測装置は、対象エリア及び隣接エリアにおける現在のエリア情報と、連系線における現在の連系線情報とを学習済モデルへ入力させて、対象エリアにおける現在のエリアプライスを予測する推論部を有する。
【0007】
第2の態様に係る予測方法は、対象エリアと対象エリアに隣接する隣接エリアとにおける過去のエリア情報と、対象エリアと隣接エリアとの間の連系線における過去の連系線情報と、対象エリアにおける過去のエリアプライスとを学習データとして用いて学習済モデルを生成するステップを有する。また、前記予測方法は、対象エリア及び隣接エリアにおける現在のエリア情報と、連系線における現在の連系線情報とを学習済モデルへ入力させて、対象エリアにおける現在のエリアプライスを予測するステップを有する。
【発明の効果】
【0008】
本開示によれば、エリアプライスの予測精度を向上させることが可能な予測装置及び予測方法を提供できる。また、本開示によれば、電力の調達コストを抑制することが可能な予測装置及び予測方法を提供できる。
【図面の簡単な説明】
【0009】
図1は、第1実施形態に係る電力の売買の例を表す図である。
図2は、第1実施形態に係る国内の送配電網の例を表す図である。
図3A及び図3Bは、第1実施形態に係るスポット価格の決定メカニズムの例を表す図である。
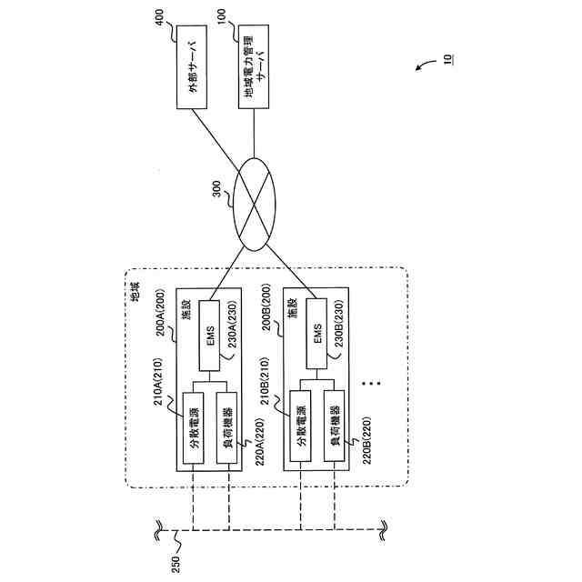
図4は、第1実施形態に係る地域電力管理システムの構成例を表す図である。
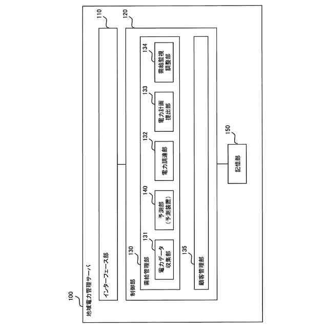
図5は、第1実施形態に係る地域電力管理サーバの構成例を示す図である。
図6は、第1実施形態に係る予測処理の例を表す図である。
図7は、第1実施形態に係る予測装置140の構成例を表す図である。
図8は、第1実施形態に係るエリア間の価格合同の例を表す図である。
図9は、第1実施形態に係るスポット価格(例えばエリアプライス)の予測値と実測値との関係例を表す図である。
図10は、第1実施形態に係る損失関数の適用例を表す図である。
図11は、第1実施形態に係る動作例を表す図である。
【発明を実施するための形態】
【0010】
[第1実施形態]
図面を参照しながら、第1実施形態に係る予測装置について説明する。図面の記載において、同一又は類似の部分には同一又は類似の符号を付している。
(【0011】以降は省略されています)
この特許をJ-PlatPat(特許庁公式サイト)で参照する
関連特許
京セラ株式会社
光学系
26日前
京セラ株式会社
蓄電装置
1か月前
京セラ株式会社
配線基板
1か月前
京セラ株式会社
配線基板
1か月前
京セラ株式会社
弾性波装置
2か月前
京セラ株式会社
粒子分離装置
1か月前
京セラ株式会社
センサシステム
1か月前
京セラ株式会社
静圧気体軸受装置
1か月前
京セラ株式会社
光センサモジュール
13日前
京セラ株式会社
光センサモジュール
13日前
京セラ株式会社
コネクタ及び取付方法
1か月前
京セラ株式会社
予測装置及び予測方法
21日前
京セラ株式会社
配線基板及び電子装置
1か月前
京セラ株式会社
配線基板及び電子装置
1か月前
京セラ株式会社
印刷装置及び印刷方法
18日前
京セラ株式会社
走査装置及び制御装置
1か月前
京セラ株式会社
走査装置及び制御装置
1か月前
京セラ株式会社
太陽電池付きカーポート
1か月前
京セラ株式会社
太陽電池付きカーポート
1か月前
京セラ株式会社
流路デバイスの準備方法
1か月前
京セラ株式会社
積層セラミック電子部品
19日前
京セラ株式会社
発光装置および照明装置
1か月前
京セラ株式会社
差動信号フィルタデバイス
5日前
京セラ株式会社
差動信号フィルタデバイス
5日前
京セラ株式会社
取付部材及びヘッド取付方法
1か月前
京セラ株式会社
電磁波検出装置及び制御装置
1か月前
京セラ株式会社
受電装置及び光給電システム
1か月前
京セラ株式会社
光集積回路及び光トランシーバ
1か月前
京セラ株式会社
端子、端子部材および電気機器
11日前
京セラ株式会社
端子、端子部材および電気機器
13日前
京セラ株式会社
配線基板及びLEDモジュール
18日前
京セラ株式会社
フィルタデバイスおよび通信装置
1か月前
京セラ株式会社
電子デバイス及び電子モジュール
18日前
京セラ株式会社
光センサおよび光センサの製造方法
1か月前
京セラ株式会社
分析システム、分析装置、及び分析方法
18日前
京セラ株式会社
揺動装置、電磁波照射装置、及び制御装置
1か月前
続きを見る
他の特許を見る