TOP
|
特許
|
意匠
|
商標
特許ウォッチ
Twitter
他の特許を見る
10個以上の画像は省略されています。
公開番号
2025145438
公報種別
公開特許公報(A)
公開日
2025-10-03
出願番号
2024045616
出願日
2024-03-21
発明の名称
配線基板及び電子装置
出願人
京セラ株式会社
代理人
弁理士法人 HARAKENZO WORLD PATENT & TRADEMARK
主分類
H05K
1/02 20060101AFI20250926BHJP(他に分類されない電気技術)
要約
【課題】配線基板の製造性及び強度を高めつつ、配線基板を搭載する平面スペースの省スペース化を図る。
【解決手段】第1基体と第2基体とを備える配線基板であって、高さ方向と直交する第1方向に沿って延びる第2基体の一対の第2側面の一部は、対応する第1基体の第1側面と同一平面上に位置するとともに、少なくとも1つの第2側面は、対応する第1側面よりも内側に、電極が配置される領域を有する。
【選択図】図1
特許請求の範囲
【請求項1】
第1上面、前記第1上面の反対側に位置する第1下面、及び前記第1上面と前記第1下面との間に位置する4つの第1側面を有する第1基体と、
前記第1下面と接する第2上面、前記第2上面の反対側に位置する第2下面、及び前記第2上面と前記第2下面との間に位置し、前記4つの第1側面のそれぞれに対応する4つの第2側面を有する第2基体と、
前記第1上面に位置する複数の第1電極と、
前記第2下面に位置する複数の第2電極と、
前記第2側面に位置する複数の第3電極と、を備え、
前記4つの第2側面のうち、高さ方向と直交する第1方向に沿って延びる一対の前記第2側面の一部は、対応する前記第1側面と同一平面上に位置しており、
少なくとも1つの前記第2側面は、対応する前記第1側面を含む平面よりも内側に位置する領域を有しており、
前記第3電極は、前記領域に位置している、配線基板。
続きを表示(約 720 文字)
【請求項2】
前記第1方向と交差する第2方向に沿って延びる前記第2側面は、全体にわたって前記領域を有している、請求項1に記載の配線基板。
【請求項3】
少なくとも1つの前記第2側面は、対応する前記第1側面を含む平面よりも内側に窪んだ凹部を有し、
前記領域は、前記凹部の内側面である、請求項1に記載の配線基板。
【請求項4】
各々の前記第2側面が前記領域を有している、請求項1に記載の配線基板。
【請求項5】
複数の前記第3電極は、1つの前記領域において、異なる高さに位置する前記第3電極を含む、請求項1に記載の配線基板。
【請求項6】
前記第1基体および前記第2基体は、前記高さ方向に積層される複数の絶縁層を含む、請求項1に記載の配線基板。
【請求項7】
前記第1基体および前記第2基体は、前記第1方向に積層される複数の絶縁層を含む、請求項1に記載の配線基板。
【請求項8】
前記第3電極は、少なくとも1層の前記絶縁層を貫通して延びるとともに、前記第2側面の表面から突出しているビア導体を含む、請求項6に記載の配線基板。
【請求項9】
少なくとも1つの前記第3電極は、高さ方向に延びる側辺を含み、
前記側辺は、該高さ方向に対して歪んでいる、請求項1に記載の配線基板。
【請求項10】
請求項1から7のいずれか1項に記載の配線基板と、
前記第1電極に接続された第1素子と、
前記第2電極に接続された第2素子と、
前記第3電極に接続された第3素子と、を備える、電子装置。
発明の詳細な説明
【技術分野】
【0001】
本開示は、配線基板及び電子装置に関する。
続きを表示(約 2,100 文字)
【背景技術】
【0002】
例えば、特許文献1に示すように、撮像素子を備えた電子装置(特許文献1では撮像モジュールと称される)が知られている。その先行技術に係る電子装置は、基板(特許文献1では撮像素子実装用基板と称される)を備えており、基板は、基体(特許文献1では基板と称される)を備えている。基体の上面には、撮像素子が実装されており、基体の上面における撮像素子の周りには、複数の電子部品が実装されている。
【先行技術文献】
【特許文献】
【0003】
国際公開第2019/082923号
【発明の概要】
【発明が解決しようとする課題】
【0004】
先行技術に係る電子装置においては、前述のように、基板の上面に撮像素子及び複数の電子部品が実装されている。換言すれば、先行技術に係る基板においては、基体の上面に撮像素子を実装するための複数の撮像素子用電極が位置すると共に、基体の上面における撮像素子用電極の周りに複数の電子部品を実装するための複数の電子部品用電極が位置することになる。そのため、電子装置及び基板が平面視において大型化する傾向にあり、電子装置及び基板を搭載する平面スペースが大きくなる。
【課題を解決するための手段】
【0005】
本開示に係る配線基板は、第1上面、前記第1上面の反対側に位置する第1下面、及び前記第1上面と前記第1下面との間に位置する4つの第1側面を有する第1基体と、前記第1下面と接する第2上面、前記第2上面の反対側に位置する第2下面、及び前記第2上面と前記第2下面との間に位置し、前記4つの第1側面のそれぞれに対応する4つの第2側面を有する第2基体と、前記第1上面に位置する複数の第1電極と、前記第2下面に位置する複数の第2電極と、前記第2側面に位置する複数の第3電極と、を備え、前記4つの第2側面のうち、高さ方向と直交する第1方向に沿って延びる一対の前記第2側面の一部は、対応する前記第1側面と同一平面上に位置しており、少なくとも1つの前記第2側面は、対応する前記第1側面を含む平面よりも内側に位置する領域を有しており、前記第3電極は、前記領域に位置している。
【0006】
本開示に係る電子装置は、本開示に係る配線基板と、前記第1電極に接続された第1素子と、前記第2電極に接続された第2素子と、前記第3電極に接続された第3素子と、を備える。
【発明の効果】
【0007】
本開示によれば、配線基板の製造性及び強度を高めつつ、配線基板を搭載する平面スペースの省スペース化を図ることができる。
【図面の簡単な説明】
【0008】
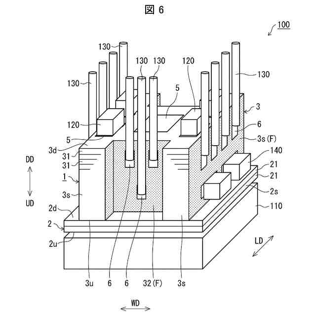
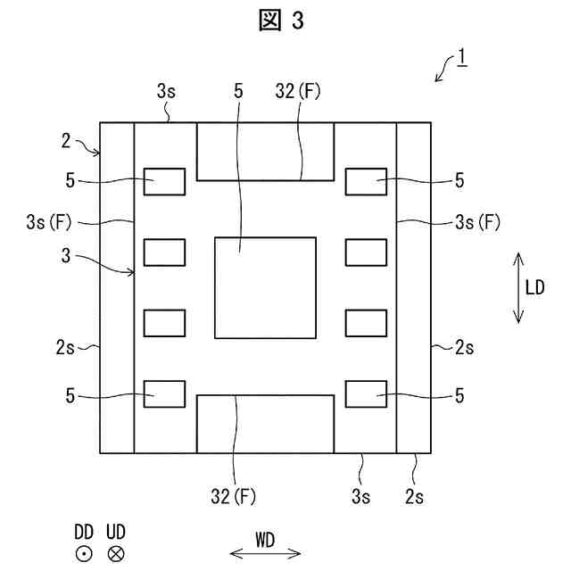
第1実施形態に係る配線基板の上側から見た模式的な斜視図である。
第1実施形態に係る配線基板の下側から見た模式的な斜視図である。
第1実施形態に係る配線基板の模式的な底面図である。
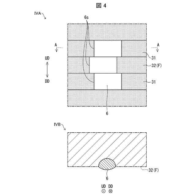
第3電極を説明する模式図である。
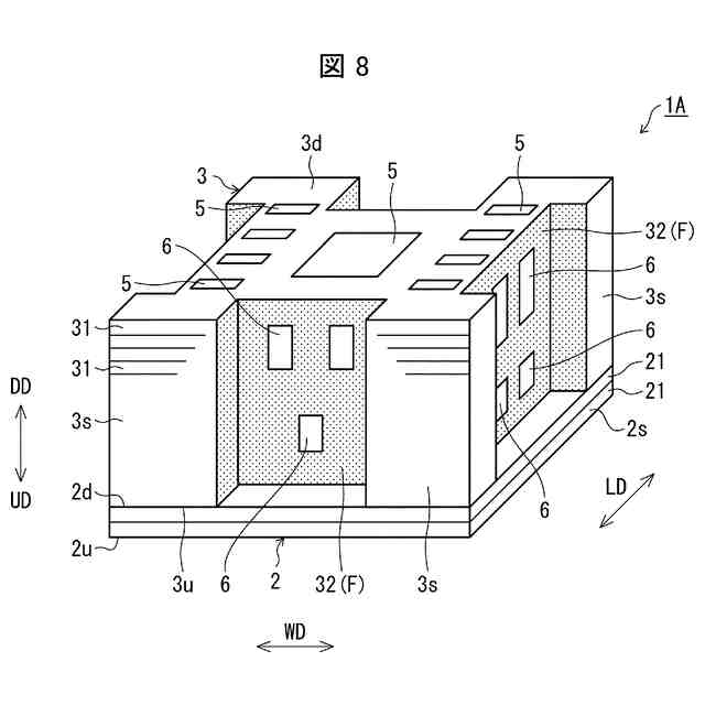
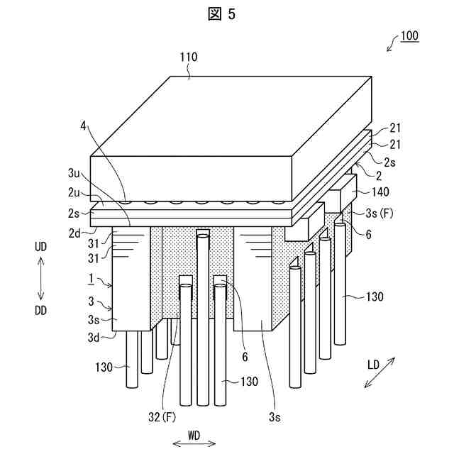
第1実施形態に係る電子装置の上側から見た模式的な斜視図である。
第1実施形態に係る電子装置の下側から見た模式的な斜視図である。
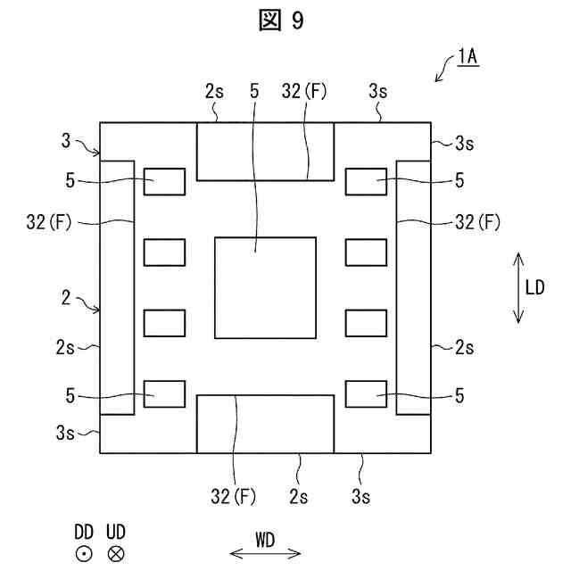
第2実施形態に係る配線基板の上側から見た模式的な斜視図である。
第2実施形態に係る配線基板の下側から見た模式的な斜視図である。
第2実施形態に係る配線基板の模式的な底面図である。
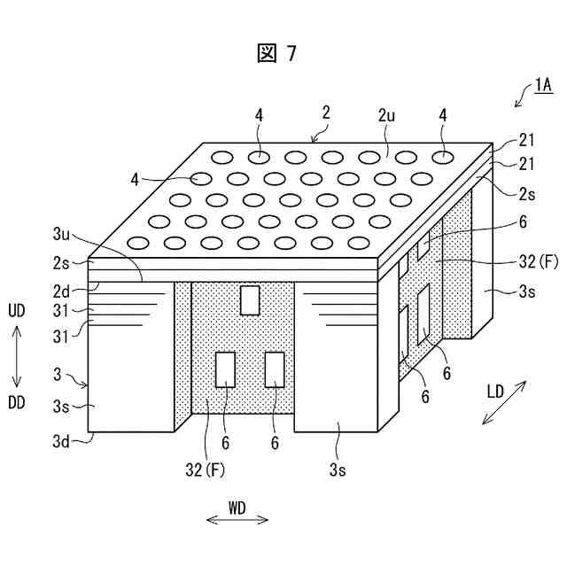
第3実施形態に係る配線基板を上側から見た模式的な斜視図である。
第3実施形態に係る配線基板を下側から見た模式的な斜視図である。
第3実施形態に係る配線基板の模式的な側面図である。
第3実施形態に係る電子装置を側方から見たときの模式的な斜視図である。
【発明を実施するための形態】
【0009】
以下、実施形態に係る配線基板及び電子装置について、図面を用いて詳細に説明する。但し、以下で参照する各図は、説明の便宜上、実施形態を説明する上で必要な構成要素のみを簡略化して示したものである。従って、実施形態に係る配線基板及び電子装置は、参照する各図に示されていない任意の構成要素を備え得る。各図中の構成要素の寸法は、実際の構成要素の寸法及び各部材の寸法比率等を忠実に表したものでなくてもよい。
【0010】
本願の明細書及び特許請求の範囲において、「第1方向」とは、配線基板の幅方向、換言すれば、配線基板の高さ方向に直交する一方向を意味する。高さ方向は、配線基板の上下方向である。以下、第1方向を便宜的に幅方向と称する。「第2方向」とは、高さ方向および第1方向に直交する方向である。以下、第2方向を便宜的に長さ方向と称する。「矩形状」とは、厳密な矩形形状に限るものでなく、例えば角部が湾曲状になっていても、全体的に矩形状として視認できる形状を含む意である。「内側」とは、配線基板の外表面よりも内部の側を意味する。図面中、「WD」は幅方向、「LD」は長さ方向、「UD」は上方向、「DD」は下方向をそれぞれ指している。
(【0011】以降は省略されています)
この特許をJ-PlatPat(特許庁公式サイト)で参照する
関連特許
京セラ株式会社
刃物
1か月前
京セラ株式会社
二次電池
24日前
京セラ株式会社
弾性波装置
8日前
京セラ株式会社
センサシステム
1日前
京セラ株式会社
太陽電池モジュール
17日前
京セラ株式会社
配線基板及び電子装置
1日前
京セラ株式会社
配線基板及び電子装置
1日前
京セラ株式会社
発光装置および照明装置
5日前
京セラ株式会社
半導体装置及びその製造方法
24日前
京セラ株式会社
骨モデルおよび表示システム
1か月前
京セラ株式会社
取付部材及びヘッド取付方法
2日前
京セラ株式会社
電源制御装置及び電源制御方法
24日前
京セラ株式会社
電源制御装置及び電源制御方法
24日前
京セラ株式会社
液体吐出ヘッドおよび記録装置
23日前
京セラ株式会社
電源制御装置及び電源制御方法
24日前
京セラ株式会社
フィルタデバイスおよび通信装置
1日前
京セラ株式会社
液滴吐出ヘッドおよび液滴吐出装置
29日前
京セラ株式会社
電子部品搭載用基板及び電子モジュール
1か月前
京セラ株式会社
異常検知装置、プログラム及び異常検知方法
1か月前
京セラ株式会社
異常検知装置、プログラム及び異常検知方法
1か月前
京セラ株式会社
異常検知装置、プログラム及び異常検知方法
1か月前
京セラ株式会社
情報処理装置及び学習モデル用データ生成方法
24日前
京セラ株式会社
多層基板、フィルタモジュール、および通信装置
5日前
京セラ株式会社
情報処理方法、情報処理装置、及び情報処理システム
1か月前
京セラ株式会社
切削インサート、切削工具及び切削加工物の製造方法
23日前
京セラ株式会社
表示システム、表示制御装置及び表示制御プログラム
24日前
京セラ株式会社
表示システム、表示制御装置及び表示制御プログラム
24日前
国立研究開発法人産業技術総合研究所
光電子集積回路
1か月前
京セラ株式会社
脈波検出装置、脈波検出システム、および脈波検出方法
1か月前
京セラ株式会社
膜付部材
1か月前
株式会社サーモグラフィティクス
伝熱部材および電子装置
1か月前
京セラ株式会社
疾患予測システム
23日前
京セラ株式会社
歩留予測装置、モデル生成装置、歩留予測システムおよび歩留予測方法
1か月前
京セラ株式会社
電気化学セル、電気化学セル装置、モジュールおよびモジュール収容装置
1か月前
京セラ株式会社
学習データ生成方法、学習済みモデル、情報処理装置、及び情報処理方法
1か月前
京セラ株式会社
電気化学セル、電気化学セル装置、モジュールおよびモジュール収容装置
24日前
続きを見る
他の特許を見る