TOP
|
特許
|
意匠
|
商標
特許ウォッチ
Twitter
他の特許を見る
10個以上の画像は省略されています。
公開番号
2025140150
公報種別
公開特許公報(A)
公開日
2025-09-29
出願番号
2024039340
出願日
2024-03-13
発明の名称
多層基板、フィルタモジュール、および通信装置
出願人
京セラ株式会社
代理人
弁理士法人 HARAKENZO WORLD PATENT & TRADEMARK
主分類
H01F
17/00 20060101AFI20250919BHJP(基本的電気素子)
要約
【課題】多層基板におけるインダクタの電気的特性を安定させる。
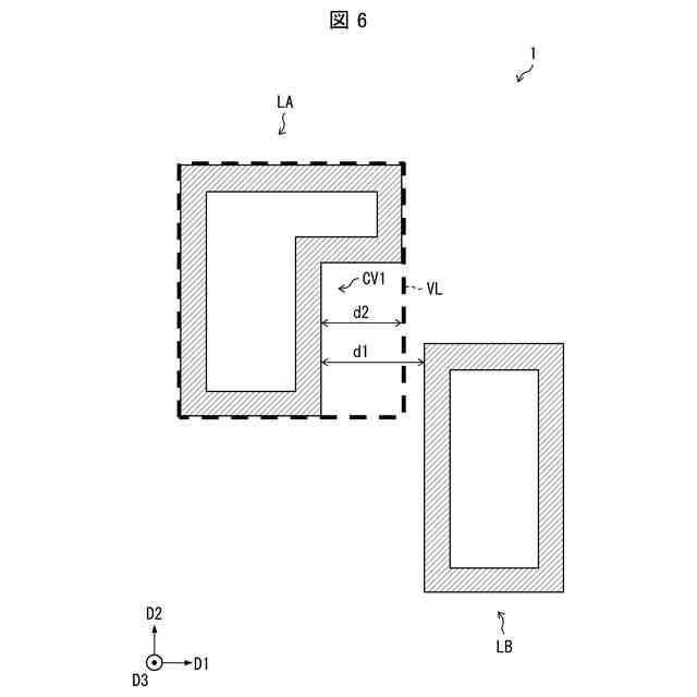
【解決手段】多層基板は、前記多層基板の厚み方向に積層された複数の誘電体層と、複数の前記誘電体層のそれぞれの表面に位置している複数の導体パターンにより構成されている第1インダクタおよび第2インダクタを有している。前記厚み方向からの平面透視において、前記第1インダクタを囲む、矩形、円形、または楕円形の仮想線を想定した場合に、前記第1インダクタは、第1方向において前記仮想線から離間している凹部を有しており、前記第1方向と交差する第2方向において前記凹部が延在している範囲における、前記第1方向における前記凹部と前記第2インダクタとの距離の最大値である第1距離は、前記第2方向において前記凹部が延在している前記範囲における、前記第1方向における前記凹部と前記仮想線との距離の最大値である第2距離よりも大きい。
【選択図】図6
特許請求の範囲
【請求項1】
多層基板であって、
前記多層基板の厚み方向に積層された複数の誘電体層と、
複数の前記誘電体層のそれぞれの表面に位置している複数の導体パターンにより構成されている第1インダクタおよび第2インダクタを有しており、
前記厚み方向からの平面透視において、
前記第1インダクタを囲む、矩形、円形、または楕円形の仮想線を想定した場合に、
前記第1インダクタは、第1方向において前記仮想線から離間している凹部を有しており、
前記第1方向と交差する第2方向において前記凹部が延在している範囲における、前記第1方向における前記凹部と前記第2インダクタとの距離の最大値である第1距離は、前記第2方向において前記凹部が延在している前記範囲における、前記第1方向における前記凹部と前記仮想線との距離の最大値である第2距離よりも大きい、多層基板。
続きを表示(約 1,300 文字)
【請求項2】
前記平面透視において、
前記第2距離は、前記第2方向において前記凹部が延在していない範囲における、前記第1方向における前記第1インダクタと前記第2インダクタとの距離の最小値である第3距離よりも大きい、請求項1に記載の多層基板。
【請求項3】
前記平面透視において、前記第1インダクタは、
本体部と、
前記本体部から、前記第1方向の正の向きの側へと突出している突出部と、を有しており、
前記本体部の第1辺は、前記突出部の第2辺に接続されており、
前記第1辺が前記第2方向に延在しており、かつ、前記第2辺が前記第1方向に延在していることにより、前記凹部が画定されている、請求項1に記載の多層基板。
【請求項4】
前記多層基板は、前記第1インダクタを構成する前記導体パターンとして、
複数の前記誘電体層のうち、第1誘電体層の表面に位置している第1導体パターンと、
複数の前記誘電体層のうち、前記第1誘電体層とは異なる第2誘電体層の表面に位置している第2導体パターンと、を有しており、
前記平面透視において、前記第2導体パターンは、前記第1導体パターンと同等の形状を有しており、
前記厚み方向において、前記第1誘電体層と前記第2誘電体層との間には、前記第1誘電体層および前記第2誘電体層とは異なる少なくとも1つの前記誘電体層が位置している、請求項1に記載の多層基板。
【請求項5】
前記第1距離は、前記平面透視における前記第1導体パターンの線幅よりも大きい、請求項4に記載の多層基板。
【請求項6】
前記平面透視において、
前記第2インダクタを囲む、矩形、円形、または楕円形の第2仮想線を想定した場合に、
前記第2インダクタは、前記第1方向において前記第2仮想線から離間している第2凹部を有しており、
前記第2方向において前記第2凹部が延在している範囲における、前記第1方向における前記第2凹部と前記第1インダクタとの距離の最大値である第4距離は、前記第2方向において前記第2凹部が延在している前記範囲における、前記第1方向における前記第2凹部と前記第2仮想線との距離の最大値である第5距離よりも大きい、請求項1に記載の多層基板。
【請求項7】
請求項1に記載の多層基板を有しているフィルタモジュールであって、
前記フィルタモジュールは、
第1フィルタと、
前記第1フィルタとは異なる第2フィルタと、を有しており、
前記第1フィルタは、前記第1フィルタと前記第2フィルタとの共通端子と、第1端子と、に接続されており、
前記第2フィルタは、前記共通端子と、前記第1端子とは異なる第2端子と、に接続されており、
前記第1フィルタは、前記第1インダクタを有しており、
前記第2フィルタは、前記第2インダクタを有している、フィルタモジュール。
【請求項8】
請求項7に記載のフィルタモジュールを有している、通信装置。
発明の詳細な説明
【技術分野】
【0001】
本開示の一態様は、インダクタを有する多層基板に関する。
続きを表示(約 1,800 文字)
【背景技術】
【0002】
下記の特許文献1には、インダクタの配線パターンの例が開示されている。
【先行技術文献】
【特許文献】
【0003】
特開2011-124373号公報
【発明の概要】
【発明が解決しようとする課題】
【0004】
多層基板におけるインダクタの電気的特性を安定させることが望まれている。
【課題を解決するための手段】
【0005】
本開示の一態様に係る多層基板は、前記多層基板の厚み方向に積層された複数の誘電体層と、複数の前記誘電体層のそれぞれの表面に位置している複数の導体パターンにより構成されている第1インダクタおよび第2インダクタを有しており、前記厚み方向からの平面透視において、前記第1インダクタを囲む、矩形、円形、または楕円形の仮想線を想定した場合に、前記第1インダクタは、第1方向において前記仮想線から離間している凹部を有しており、前記第1方向と交差する第2方向において前記凹部が延在している範囲における、前記第1方向における前記凹部と前記第2インダクタとの距離の最大値である第1距離は、前記第2方向において前記凹部が延在している前記範囲における、前記第1方向における前記凹部と前記仮想線との距離の最大値である第2距離よりも大きい。
【発明の効果】
【0006】
本開示の一態様によれば、多層基板におけるインダクタの電気的特性を安定させることが可能となる。
【図面の簡単な説明】
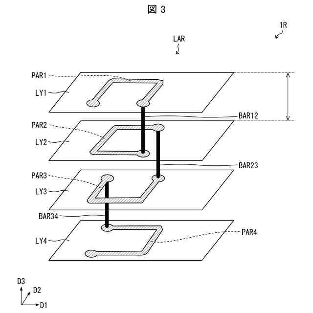
【0007】
実施形態1の多層基板の一構成例を示す模式的な斜視図である。
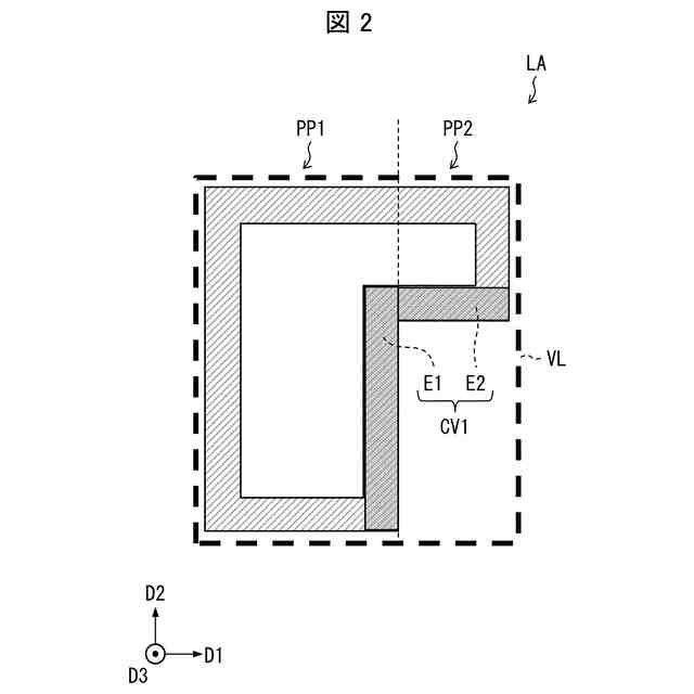
平面透視における、実施形態1の第1インダクタの形状の例を示す。
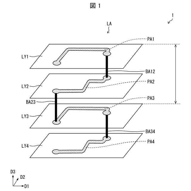
比較例としての多層基板の一構成例を示す模式的な斜視図である。
平面透視における、比較例の第1インダクタの形状の例を示す。
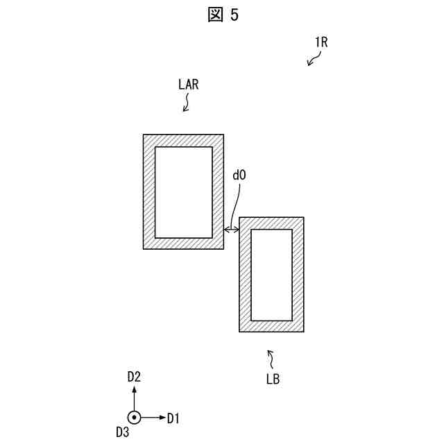
平面透視における、比較例における第1インダクタと第2インダクタとの位置関係の例を示す。
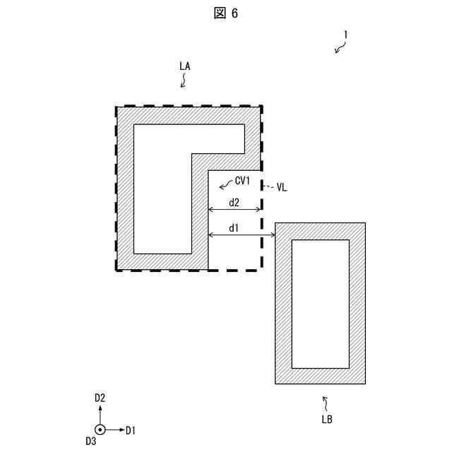
平面透視における、実施形態1における第1インダクタと第2インダクタとの位置関係の例を示す。
実施形態2の多層基板の一構成例を示す模式的な斜視図である。
平面透視における、実施形態2の第2インダクタの形状の例を示す。
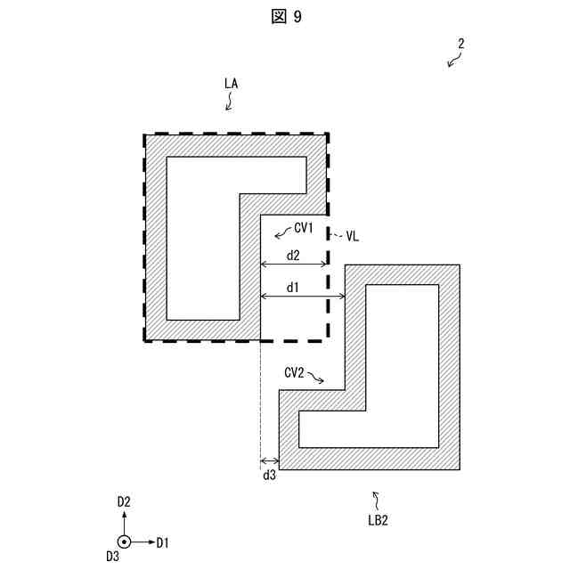
平面透視における、実施形態2における第1インダクタと第2インダクタとの位置関係の例を示すとともに、当該第1インダクタに関する各距離を例示する。
平面透視における、実施形態2における第1インダクタと第2インダクタとの位置関係の例を示すとともに、当該第2インダクタに関する各距離を例示する。
実施形態3のフィルタモジュールの一構成例を示す。
比較例としてのフィルタモジュールの一構成例を示す。
実施形態4の通信装置の一構成例を示す。
【発明を実施するための形態】
【0008】
〔実施形態1〕
実施形態1について以下に説明する。説明の便宜上、実施形態1にて説明したコンポーネント(構成要素)と同じ機能を有するコンポーネントについては、以降の各実施形態では同じ符号を付し、その説明を繰り返さない。簡潔化のため、公知の技術事項についても説明を適宜省略する。本明細書において述べる各コンポーネント、各材料、および各数値はいずれも、内容上矛盾のない限り、単なる例示である。それゆえ、内容上矛盾のない限り、例えば各コンポーネントの位置関係および接続関係は各図の例に限定されない。また、各図は必ずしもスケール通りに図示されていない。
【0009】
(多層基板1の一構成例)
図1は、実施形態1の多層基板1の一構成例を示す模式的な斜視図である。本明細書では、説明の便宜上、図1に示す直交座標系(D1・D2・D3座標系)を導入する。図1では、多層基板1の各部のうち、第1インダクタLAに関する各部のみが図示されており、その他の部分については図示が省略されている。
【0010】
本明細書では、多層基板1の厚み方向(以下に述べるD3方向)からの平面透視を、単に「平面透視」と略称する。実施形態1の例におけるD1方向は、平面透視におけるある1つの方向を表す。後述の図2の例では、D1方向は、紙面内の水平方向(横方向)である。D1方向は、第1方向と称されてもよい。
(【0011】以降は省略されています)
この特許をJ-PlatPat(特許庁公式サイト)で参照する
関連特許
京セラ株式会社
光学系
4日前
京セラ株式会社
配線基板
10日前
京セラ株式会社
配線基板
10日前
京セラ株式会社
蓄電装置
25日前
京セラ株式会社
粒子分離装置
25日前
京セラ株式会社
センサシステム
1か月前
京セラ株式会社
静圧気体軸受装置
24日前
京セラ株式会社
配線基板及び電子装置
1か月前
京セラ株式会社
配線基板及び電子装置
1か月前
京セラ株式会社
コネクタ及び取付方法
26日前
京セラ株式会社
走査装置及び制御装置
24日前
京セラ株式会社
走査装置及び制御装置
24日前
京セラ株式会社
太陽電池付きカーポート
24日前
京セラ株式会社
流路デバイスの準備方法
26日前
京セラ株式会社
太陽電池付きカーポート
24日前
京セラ株式会社
受電装置及び光給電システム
26日前
京セラ株式会社
取付部材及びヘッド取付方法
1か月前
京セラ株式会社
電磁波検出装置及び制御装置
10日前
京セラ株式会社
光集積回路及び光トランシーバ
10日前
京セラ株式会社
フィルタデバイスおよび通信装置
1か月前
京セラ株式会社
光センサおよび光センサの製造方法
20日前
京セラ株式会社
揺動装置、電磁波照射装置、及び制御装置
24日前
京セラ株式会社
光通信装置、光通信システム及び光照射素子
27日前
京セラ株式会社
ホルダ、切削工具、及び切削加工物の製造方法
25日前
京セラ株式会社
ノード、方法、プログラム及び分散台帳システム
26日前
京セラ株式会社
太陽光発電システム及び太陽電池付きカーポート
6日前
京セラ株式会社
情報処理装置、情報処理システム、及び情報処理方法
26日前
京セラ株式会社
情報処理装置、情報処理システム、及び情報処理方法
26日前
京セラ株式会社
プログラム、給電方法、給電装置及び光給電システム
25日前
京セラ株式会社
受発光センサ及び該受発光センサを備えた画像形成装置
24日前
京セラ株式会社
受発光センサ及び該受発光センサを備えた画像形成装置
24日前
京セラ株式会社
受発光センサ及び該受発光センサを備えた画像形成装置
24日前
京セラ株式会社
受発光センサ及び該受発光センサを備えた画像形成装置
24日前
京セラ株式会社
受発光センサ及び該受発光センサを備えた画像形成装置
24日前
京セラ株式会社
ダンパ部材、液体吐出ヘッド、液体吐出装置及び記録装置
25日前
京セラ株式会社
通信装置、暗号通信方法、プログラム及び暗号通信システム
25日前
続きを見る
他の特許を見る