TOP
|
特許
|
意匠
|
商標
特許ウォッチ
Twitter
他の特許を見る
公開番号
2025132818
公報種別
公開特許公報(A)
公開日
2025-09-10
出願番号
2024030631
出願日
2024-02-29
発明の名称
半導体装置及びその製造方法
出願人
京セラ株式会社
,
国立大学法人東北大学
代理人
弁理士法人大谷特許事務所
主分類
H01L
23/29 20060101AFI20250903BHJP(基本的電気素子)
要約
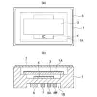
【課題】磁性体粒子を含有する封止樹脂層を備えた半導体装置において、電磁波抑制能を有し、かつ、磁性体粒子が素子構造へのダメージを与えることのない半導体装置及びその製造方法を提供する。
【解決手段】基板1と、基板1に実装された半導体素子2と、半導体素子2を被覆する封止樹脂層3と、を備えた半導体装置であって、封止樹脂層3は、扁平磁性粉4を含み、封止樹脂層3の厚さ方向で扁平磁性粉4の濃度勾配を有する、半導体装置。
【選択図】図1
特許請求の範囲
【請求項1】
基板と、前記基板に実装された半導体素子と、前記半導体素子を被覆する封止樹脂層と、を備えた半導体装置であって、
前記封止樹脂層は、扁平磁性粉を含み、前記封止樹脂層の厚さ方向で前記扁平磁性粉の濃度勾配を有する、半導体装置。
続きを表示(約 980 文字)
【請求項2】
前記封止樹脂層は、前記基板に面する側よりも前記基板と反対側の面側の方が、前記扁平磁性粉が高濃度である、請求項1に記載の半導体装置。
【請求項3】
前記封止樹脂層は、前記基板と反対側の面から、前記封止樹脂層の厚さの50%以内の深さの領域に、前記扁平磁性粉の全含有量の80質量%以上が存在する、請求項1に記載の半導体装置。
【請求項4】
前記封止樹脂層は、前記基板と反対側の面から、前記封止樹脂層の厚さの10%以内の深さの領域に、前記扁平磁性粉の全含有量の50質量%以上が存在する、請求項1に記載の半導体装置。
【請求項5】
前記扁平磁性粉は、表面に絶縁被膜を有する、請求項1に記載の半導体装置。
【請求項6】
前記封止樹脂層は、封止樹脂シートで形成され、
前記封止樹脂シートは、前記扁平磁性粉を含み、シート厚さ方向で前記扁平磁性粉の濃度勾配を有する、請求項1に記載の半導体装置。
【請求項7】
請求項1~6のいずれか1項に記載の半導体装置を製造する方法であって、
前記扁平磁性粉を含有する液状の封止樹脂組成物を撹拌し、静置した後、Bステージ化させて、前記扁平磁性粉の濃度勾配を有する封止樹脂シートを作製する工程と、
前記封止樹脂シートで、前記基板に実装した前記半導体素子を被覆する工程と、
前記封止樹脂シートを硬化させて前記封止樹脂層を形成し、前記半導体素子を封止する工程と、
を有する、半導体装置の製造方法。
【請求項8】
前記封止樹脂組成物を静置するときに、磁場を印加する、請求項7に記載の半導体装置の製造方法。
【請求項9】
請求項1~5のいずれか1項に記載の半導体装置を製造する方法であって、
前記扁平磁性粉を含有する封止樹脂組成物で、前記基板に実装した前記半導体素子を被覆する工程と、
前記封止樹脂組成物に磁場を印加しながら硬化させて前記封止樹脂層を形成し、前記半導体素子を封止する工程と、
を有する、半導体装置の製造方法。
【請求項10】
前記封止樹脂組成物は、粉状であり、圧縮成形して硬化させる、請求項9に記載の半導体装置の製造方法。
発明の詳細な説明
【技術分野】
【0001】
本開示は、樹脂封止型の半導体装置及びその製造方法に関する。
続きを表示(約 1,700 文字)
【背景技術】
【0002】
樹脂封止型の半導体装置において、電磁ノイズによる機器の誤作動防止等の電磁波対策として、半導体素子の封止樹脂に電磁波抑制能を付与する手法が知られている。
【0003】
封止樹脂に電磁波抑制能を付与する手段としては、例えば、センダスト等の磁性合金や、ニッケル・亜鉛フェライト等の磁性セラミックスの粒子を封止樹脂組成物中に添加することが提案されている。このような封止樹脂によれば、電磁波の磁気的損失が大きくなり、半導体素子に対する電磁波シールド性(電磁波抑制能)を向上できるとしている(例えば、特許文献1参照)。
【先行技術文献】
【特許文献】
【0004】
特開2019-210447号公報
【発明の概要】
【発明が解決しようとする課題】
【0005】
しかしながら、磁性材料粒子を含む封止樹脂組成物により、十分な電磁波抑制能を得るためには、封止樹脂組成物中の磁性体粒子を高濃度にする必要がある。その結果、磁性体粒子による半導体素子の損傷や、微細な配線間でのリーク、ワイヤの変形や断線等、精巧な素子構造へのダメージを招くおそれがある。
【0006】
したがって、半導体素子に接する封止樹脂には、素子構造にダメージを与えることなく、電磁波抑制能を発揮できることが求められる。
【0007】
本開示は、このような状況に鑑みてなされたものであり、磁性体粒子を含有する封止樹脂層を備えた半導体装置において、電磁波抑制能を有し、かつ、磁性体粒子が精巧な素子構造へのダメージを与えることのない半導体装置及びその製造方法を提供することを目的とする。
【課題を解決するための手段】
【0008】
本開示は、樹脂封止型の半導体装置において、扁平磁性粉を用いて、素子構造にダメージを与えることなく、電磁波抑制能を有する封止樹脂層を形成できることを見出したことに基づく。
【0009】
すなわち、本開示は、以下に関する。
[1]基板と、前記基板に実装された半導体素子と、前記半導体素子を被覆する封止樹脂層と、を備えた半導体装置であって、前記封止樹脂層は、扁平磁性粉を含み、前記封止樹脂層の厚さ方向で前記扁平磁性粉の濃度勾配を有する、半導体装置。
[2]前記封止樹脂層は、前記基板に面する側よりも前記基板と反対側の面側の方が、前記扁平磁性粉が高濃度である、[1]の半導体装置。
[3]前記封止樹脂層は、前記基板と反対側の面から、前記封止樹脂層の厚さの50%以内の深さの領域に、前記扁平磁性粉の全含有量の80質量%以上が存在する、[1]又は[2]の半導体装置。
[4]前記封止樹脂層は、前記基板と反対側の面から、前記封止樹脂層の厚さの10%以内の深さの領域に、前記扁平磁性粉の全含有量の50質量%以上が存在する、[1]~[3]のいずれかの半導体装置。
[5]前記扁平磁性粉は、表面に絶縁被膜を有する、[1]~[4]のいずれかの半導体装置。
[6]前記封止樹脂層は、封止樹脂シートで形成され、前記封止樹脂シートは、前記扁平磁性粉を含み、シート厚さ方向で前記扁平磁性粉の濃度勾配を有する、[1]~[5]のいずれかの半導体装置。
【0010】
[7][1]~[6]のいずれかの半導体装置を製造する方法であって、前記扁平磁性粉を含有する液状の封止樹脂組成物を撹拌し、静置した後、Bステージ化させて、前記扁平磁性粉の濃度勾配を有する封止樹脂シートを作製する工程と、前記封止樹脂シートで、前記基板に実装した前記半導体素子を被覆する工程と、前記封止樹脂シートを硬化させて前記封止樹脂層を形成し、前記半導体素子を封止する工程と、を有する、半導体装置の製造方法。
[8]前記封止樹脂組成物を静置するときに、磁場を印加する、[7]の半導体装置の製造方法。
(【0011】以降は省略されています)
特許ウォッチbot のツイートを見る
この特許をJ-PlatPat(特許庁公式サイト)で参照する
関連特許
京セラ株式会社
アイソレータ
14日前
京セラ株式会社
振動検出方法
15日前
京セラ株式会社
セラミック焼結体
2日前
京セラ株式会社
光センサモジュール
1か月前
京セラ株式会社
光センサモジュール
1か月前
京セラ株式会社
弾性波装置および通信装置
7日前
京セラ株式会社
差動信号フィルタデバイス
22日前
京セラ株式会社
差動信号フィルタデバイス
22日前
京セラ株式会社
弾性波共振子および通信装置
2日前
京セラ株式会社
弾性波装置、および通信装置
3日前
京セラ株式会社
端子、端子部材および電気機器
28日前
京セラ株式会社
端子、端子部材および電気機器
1か月前
京セラ株式会社
積層セラミック電子部品の製造方法
14日前
京セラ株式会社
電子機器、制御方法、及びプログラム
15日前
京セラ株式会社
光センサおよびこれを備えた画像形成装置
1か月前
京セラ株式会社
観察装置本体、細胞培養容器及び細胞観察装置
1日前
京セラ株式会社
ユーザ装置
3日前
京セラ株式会社
積層型電子部品
1日前
京セラ株式会社
被覆層付き金属部材
16日前
京セラ株式会社
液滴吐出ヘッドおよび記録装置
14日前
京セラ株式会社
セラミック配線基板、プローブカード用セラミック配線基板、及びプローブカード
1日前
京セラ株式会社
半導体レーザデバイスの製造方法
1か月前
インターチップ株式会社
水晶発振器用パッケージおよびこれを有する水晶発振器
今日
京セラ株式会社
チップ状電子部品、チップ状電子部品の製造方法、及びチップ状電子部品の実装方法
28日前
京セラ株式会社
表示装置、結像装置、表示システムおよび車両
1か月前
京セラ株式会社
積層セラミックコンデンサおよびその実装構造体
11日前
京セラ株式会社
予測システム、制御方法、および制御プログラム
1日前
富士通株式会社
情報処理プログラム、情報処理方法、および情報処理装置
9日前
京セラ株式会社
エネルギー管理装置、エネルギー管理システム、エネルギー管理方法及びエネルギー管理プログラム
2日前
京セラ株式会社
表示装置、表示システム、車両及び表示パネル収容装置
22日前
京セラ株式会社
電力管理システム、表示装置、電力管理方法、及びプログラム
7日前
京セラ株式会社
電気化学セル、電気化学セル装置、モジュールおよびモジュール収容装置
1か月前
京セラ株式会社
情報処理装置、ロボットコントローラ、情報処理システム、及び情報処理方法
28日前
京セラ株式会社
情報処理システム、情報処理システムの制御方法、制御プログラム、記録媒体
22日前
株式会社オーガンテック
再生毛包原基の製造に使用するための上皮由来細胞
14日前
24エム・テクノロジーズ・インコーポレイテッド
高活性固体ローディングを有する半固体電極、及びそれを含む電気化学セルを形成するための装置及びプロセス
16日前
続きを見る
他の特許を見る