TOP
|
特許
|
意匠
|
商標
特許ウォッチ
Twitter
他の特許を見る
10個以上の画像は省略されています。
公開番号
2025181447
公報種別
公開特許公報(A)
公開日
2025-12-11
出願番号
2024089433
出願日
2024-05-31
発明の名称
観察装置本体、細胞培養容器及び細胞観察装置
出願人
京セラ株式会社
,
国立研究開発法人産業技術総合研究所
代理人
個人
主分類
C12M
1/34 20060101AFI20251204BHJP(生化学;ビール;酒精;ぶどう酒;酢;微生物学;酵素学;突然変異または遺伝子工学)
要約
【課題】 細胞培養容器103は清浄を保つために交換可能とし、観察装置本体104を繰り返して使用し、コスト低減を図る。
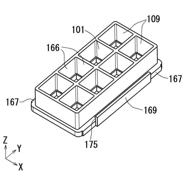
【解決手段】 細胞観察装置100の細胞培養容器103は、観察装置本体104に上下に離脱可能に載置される。細胞培養容器103は、細胞、培地の収容空間109を形成するウエル部材101と、ウエル部材101の下部に設けられる検出素子回路107(図18)からの出力信号を下向き接続端子115(図6)に導出する底基板110とを有する。観察装置本体104は、下向き接続端子115に弾発的に、かつ永久磁石片133(図10)の磁気吸引力によって接触を確実にする上向き接続端子150(図8)と、上向き接続端子150からの出力信号を受信して処理する信号処理回路201(図22)とを有する。
【選択図】 図1
特許請求の範囲
【請求項1】
細胞培養容器を載置する観察装置本体であって、
細胞培養容器を離脱可能に載置される載置受け部と、
前記載置受け部の少なくとも一側方に、細胞培養容器の位置を規制する位置決め部と、
前記細胞培養容器からの出力信号を受信する観察装置本体の接続端子とを備え、
前記位置決め部が平面視において、前記観察装置本体の接続端子と前記載置受け部との間にある観察装置本体。
続きを表示(約 1,000 文字)
【請求項2】
前記位置決め部が前記載置受け部よりも上方側に突出した突部である請求項1に記載の観察装置本体。
【請求項3】
前記突部の下方側に磁石が配置され、細胞培養容器を磁気吸引力によって固定する請求項2に記載の観察装置本体。
【請求項4】
前記観察装置本体の接続端子が上方に臨む上向き接続端子であり、弾発的に接触して接続させる請求項1に記載の観察装置本体。
【請求項5】
観察装置本体に載置する細胞培養容器であって、
細胞及び培地の特徴を検出する検出素子を含む底基板と、
前記検出素子からの出力信号を外部に出力する細胞培養容器の接続端子と、
前記底基板を上方側に搭載する支持体とを備え、
前記支持体が磁気吸引力によって観察装置本体に固定される細胞培養容器。
【請求項6】
前記支持体が前記底基板を搭載する搭載部と接続支持部とを備え、
前記接続支持部は少なくとも磁性材料からなり、前記接続支持部において磁気吸引力の固定がなされる請求項5に記載の細胞培養容器。
【請求項7】
前記細胞培養容器の接続端子を備えた配線基板が前記接続支持部に配置され、前記細胞培養容器の接続端子が前記支持体の下方側に位置している請求項6に記載の細胞培養容器。
【請求項8】
前記配線基板が前記支持体の縁を覆うように上方側から下方側に配置される請求項7に記載の細胞培養容器。
【請求項9】
請求項1に記載の観察装置本体に、請求項5に記載の細胞培養容器を搭載する細胞観察装置であって、
前記観察装置本体の接続端子と前記細胞培養容器の接続端子とが接続され、
前記支持体が磁気吸引力によって観察装置本体に固定される細胞観察装置。
【請求項10】
前記位置決め部が前記載置受け部よりも上方側に突出した突部であり、
前記突部が、平面視において、前記観察装置本体の接続端子と前記載置受け部との間に位置しており、
前記支持体が前記底基板を搭載する搭載部と接続支持部とを備え、
前記接続支持部は少なくとも磁性材料からなり、前記突部と前記接続支持部において磁気吸引力の固定がなされる請求項9に記載の細胞観察装置。
(【請求項11】以降は省略されています)
発明の詳細な説明
【技術分野】
【0001】
本開示は、観察装置本体、細胞培養容器及び細胞観察装置に関する。
続きを表示(約 1,800 文字)
【背景技術】
【0002】
従来技術の細胞観察装置は、たとえば特許文献1及び非特許文献1に記載されている。これらの従来技術では、培養中の細胞を観察する装置として細胞培養容器の底にセンサを備えた装置が提案されている。
【先行技術文献】
【特許文献】
【0003】
特許第6803164号公報
K. Imai et al., A lens-free single-shot fluorescent imaging system using CMOS image sensors with dielectric multi-layer filter, 2017 19th International Conference on Solid-State Sensors, Actuators and Microsystems (TRANSDUCERS), Kaohsiung, Taiwan, 2017, pp. 139-142, doi:10.1109/TRANSDUCERS.2017.7994007.
【発明の概要】
【発明が解決しようとする課題】
【0004】
前述の特許文献1及び非特許文献1の従来技術では、細胞培養は、細胞培養装置(インキュベータとも呼ばれる)の中にディッシュ又はウエルを設置することで行ない、その後、ディッシュ又はウエルを培養環境から取り出して顕微鏡の下で観察しており、継続して観察できない。その場合、温度及び移動による衝撃などによって細胞の状態が変化し、同一条件における細胞培養の再現性が失われる。そのため、同一条件で培養中の細胞に関する必要なデータを取得することが困難である。
【0005】
また、観察すべき細胞、培地を交換するには、清浄なディッシュ又はウエルを必要とする。前述の従来技術では、継続して観察するために、ディッシュ又はウエルに、検出信号を処理する信号処理回路が一体的に形成される構成も記載されるが、使用後のディッシュ又はウエルは廃棄され、新たな細胞観察装置を交換するためのコスト低減の配慮がなされていない。
【0006】
したがって、細胞観察装置をそのまま細胞培養装置内に設置し、培養中の細胞に関して所望するデータを高精度で取得し、低コストで再現性の高い細胞観察を行なうことができる細胞観察装置が望まれている。
【課題を解決するための手段】
【0007】
本開示に係る観察装置本体(1)104は、細胞培養容器103を載置する観察装置本体104であって、
細胞培養容器103を離脱可能に載置される載置受け部108と、前記載置受け部108の少なくとも一側方に、細胞培養容器103の位置を規制する位置決め部171と、前記細胞培養容器103からの出力信号を受信する観察装置本体104の接続端子150とを備え、前記位置決め部171が平面視において、前記観察装置本体104の接続端子150と前記載置受け部との間にある。
【0008】
また、本開示に係る細胞培養容器(2)103は、観察装置本体104に載置する細胞培養容器103であって、
細胞及び培地の特徴を検出する検出素子6を含む底基板110と、前記検出素子6からの出力信号を外部に出力する細胞培養容器103の接続端子115と、前記底基板110を上方側に搭載する支持体132とを備え、前記支持体132が磁気吸引力によって観察装置本体104に固定されている。
【0009】
さらに、本開示に係る細胞観察装置100は、前記(1)の観察装置本体104に、前記(2)の細胞培養容器103を搭載する細胞観察装置であって、
前記観察装置本体104の接続端子150と前記細胞培養容器103の接続端子115とが接続され、前記支持体132が磁気吸引力によって観察装置本体104に固定されている。
【発明の効果】
【0010】
本開示に係る細胞観察装置100によれば、細胞培養容器103を観察装置本体104に載置して細胞培養装置100内に設置し、培養中の細胞に関して所望するデータを高精度で取得し、低コストで再現性高い細胞観察を行なうことができる。
(【0011】以降は省略されています)
この特許をJ-PlatPat(特許庁公式サイト)で参照する
関連特許
京セラ株式会社
光学系
1か月前
京セラ株式会社
配線基板
1か月前
京セラ株式会社
配線基板
1か月前
京セラ株式会社
アイソレータ
14日前
京セラ株式会社
振動検出方法
15日前
京セラ株式会社
静圧気体軸受装置
2か月前
京セラ株式会社
セラミック焼結体
2日前
京セラ株式会社
光センサモジュール
1か月前
京セラ株式会社
光センサモジュール
1か月前
京セラ株式会社
走査装置及び制御装置
2か月前
京セラ株式会社
印刷装置及び印刷方法
1か月前
京セラ株式会社
予測装置及び予測方法
1か月前
京セラ株式会社
走査装置及び制御装置
2か月前
京セラ株式会社
太陽電池付きカーポート
2か月前
京セラ株式会社
積層セラミック電子部品
1か月前
京セラ株式会社
太陽電池付きカーポート
2か月前
京セラ株式会社
差動信号フィルタデバイス
22日前
京セラ株式会社
弾性波装置および通信装置
7日前
京セラ株式会社
差動信号フィルタデバイス
22日前
京セラ株式会社
弾性波共振子および通信装置
2日前
京セラ株式会社
弾性波装置、および通信装置
3日前
京セラ株式会社
電磁波検出装置及び制御装置
1か月前
京セラ株式会社
光集積回路及び光トランシーバ
1か月前
京セラ株式会社
配線基板及びLEDモジュール
1か月前
京セラ株式会社
端子、端子部材および電気機器
28日前
京セラ株式会社
端子、端子部材および電気機器
1か月前
京セラ株式会社
電子デバイス及び電子モジュール
1か月前
京セラ株式会社
積層セラミック電子部品の製造方法
14日前
京セラ株式会社
光センサおよび光センサの製造方法
1か月前
京セラ株式会社
電子機器、制御方法、及びプログラム
15日前
京セラ株式会社
分析システム、分析装置、及び分析方法
1か月前
京セラ株式会社
光センサおよびこれを備えた画像形成装置
1か月前
京セラ株式会社
揺動装置、電磁波照射装置、及び制御装置
2か月前
京セラ株式会社
観察装置本体、細胞培養容器及び細胞観察装置
1日前
京セラ株式会社
電子機器、制御方法、プログラム、及びシステム
1か月前
京セラ株式会社
VMD支援システム、サーバ装置、及び通信方法
1か月前
続きを見る
他の特許を見る