TOP
|
特許
|
意匠
|
商標
特許ウォッチ
Twitter
他の特許を見る
10個以上の画像は省略されています。
公開番号
2025179841
公報種別
公開特許公報(A)
公開日
2025-12-10
出願番号
2025089324
出願日
2025-05-28
発明の名称
セラミック焼結体
出願人
京セラ株式会社
代理人
弁理士法人酒井国際特許事務所
主分類
C04B
35/16 20060101AFI20251203BHJP(セメント;コンクリート;人造石;セラミックス;耐火物)
要約
【課題】周波数帯における誘電正接の変化を低減することが可能なセラミック焼結体を提供する。
【解決手段】セラミック焼結体は、ガーナイト結晶相、エンスタタイト結晶相、クオーツ結晶相、スアナイト結晶相、ウィレマイト結晶相、および、Zn
2
Al
4
Si
5
O
18
結晶相を含むとともに、X線回折パターンにおいて、ガーナイト結晶相に対応するピークの強度に対するクオーツ結晶相に対応するピークの強度の比は、0.100以下であり、ガーナイト結晶相に対応するピークの強度に対するウィレマイト結晶相に対応するピークの強度の比は、0.120以下である。
【選択図】なし
特許請求の範囲
【請求項1】
ガーナイト結晶相、エンスタタイト結晶相、クオーツ結晶相、スアナイト結晶相、ウィレマイト結晶相、および、Zn
2
Al
4
Si
5
O
18
結晶相を含むとともに、
X線回折パターンにおいて、
前記ガーナイト結晶相に対応するピークの強度に対する前記クオーツ結晶相に対応するピークの強度の比は、0.100以下であり、
前記ガーナイト結晶相に対応するピークの強度に対する前記ウィレマイト結晶相に対応するピークの強度の比は、0.120以下である、
セラミック焼結体。
続きを表示(約 910 文字)
【請求項2】
前記X線回折パターンにおいて、
前記ガーナイト結晶相に対応するピークの強度に対する前記エンスタタイト結晶相に対応するピークの強度の比は、0.140以下であり、
前記ガーナイト結晶相に対応するピークの強度に対する前記Zn
2
Al
4
Si
5
O
18
結晶相に対応するピークの強度の比は、0.100以下である、
請求項1に記載のセラミック焼結体。
【請求項3】
前記X線回折パターンにおいて、前記ガーナイト結晶相に対応するピークの強度に対する前記スアナイト結晶相に対応するピークの強度の比は、0.080以下である、
請求項2に記載のセラミック焼結体。
【請求項4】
前記X線回折パターンにおいて、前記ガーナイト結晶相に対応するピークの強度に対する前記Zn
2
Al
4
Si
5
O
18
結晶相に対応するピークの強度の比は、0.080以下である、
請求項2に記載のセラミック焼結体。
【請求項5】
前記X線回折パターンにおいて、前記ガーナイト結晶相に対応するピークの強度に対する前記エンスタタイト結晶相に対応するピークの強度の比は、0.030以上0.110以下である、
請求項3または4に記載のセラミック焼結体。
【請求項6】
前記X線回折パターンにおいて、前記ガーナイト結晶相に対応するピークの強度に対する前記ウィレマイト結晶相に対応するピークの強度の比は、0.060以上0.090以下である、
請求項1に記載のセラミック焼結体。
【請求項7】
エスコライト結晶相をさらに含む、
請求項1に記載のセラミック焼結体。
【請求項8】
ガラス相をさらに含む、
請求項1に記載のセラミック焼結体。
【請求項9】
酸化亜鉛結晶相を含まない、
請求項1に記載のセラミック焼結体。
発明の詳細な説明
【技術分野】
【0001】
開示の実施形態は、セラミック焼結体に関する。
続きを表示(約 1,500 文字)
【背景技術】
【0002】
近年、半導体素子の高速化、すなわち、高周波数化が進んでいる。それに応じて、半導体素子を搭載する配線基板には半導体素子の高周波特性に応じた絶縁材料が求められている。具体的には、半導体素子に高周波数の信号を伝搬させるために、配線基板の材料として、比誘電率および誘電正接がより低い絶縁材料が要求されている。このような材料としては、例えば、SiO
2
、Al
2
O
3
、およびMgOを主成分とするガラス組成物から成るガラス焼結体が提案されている。
【0003】
例えば、高周波用の回路基板として高周波領域における誘電率及び誘電正接が低い材料として、SiO
2
、Al
2
O
3
、MgO、ZnO及びB
2
O
3
から成るガラスを50~99.9重量%、亜鉛酸化物を0.01~49.9重量%、非晶質のシリカを0.01~49.9重量%の割合で含む混合粉末を成形後、非酸化性雰囲気中、800~1000℃で焼成し、ガーナイト結晶相、エンスタタイト結晶相、SiO
2
結晶相、Mg
2
B
2
O
5
結晶相とガラス相、又は前記結晶相にウイレマイト結晶相、ZnO結晶相とガラス相を含む低温焼成磁器組成物が知られている(例えば、特許文献1参照)。
【先行技術文献】
【特許文献】
【0004】
特開平9-208298号公報
【発明の概要】
【発明が解決しようとする課題】
【0005】
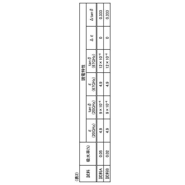
しかしながら、従来の技術においては、半導体素子を伝搬する信号の周波数帯における配線基板の材料の比誘電率または誘電正接が顕著に変化する懸念がある。
【0006】
このように、従来の技術には、半導体素子を伝搬する信号の周波数帯における配線基板の材料の比誘電率または誘電正接の変化を低減するという点で更なる改善の余地がある。
【0007】
実施形態の一態様は、上記に鑑みてなされたものであって、周波数帯における比誘電率の変化を低減することが可能なセラミック焼結体を提供することを目的とする。
【0008】
実施形態の別の態様は、上記に鑑みてなされたものであって、周波数帯における誘電正接の変化を低減することが可能なセラミック焼結体を提供することを目的とする。
【課題を解決するための手段】
【0009】
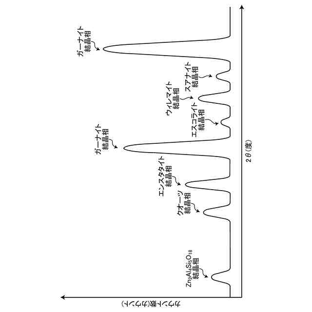
実施形態の一態様に係るセラミック焼結体は、ガーナイト結晶相、エンスタタイト結晶相、クオーツ結晶相、スアナイト結晶相、およびウィレマイト結晶相を含む。
【0010】
実施形態の別の態様に係るセラミック焼結体は、ガーナイト結晶相、エンスタタイト結晶相、クオーツ結晶相、スアナイト結晶相、ウィレマイト結晶相、および、Zn
2
Al
4
Si
5
O
18
結晶相を含むとともに、X線回折パターンにおいて、前記ガーナイト結晶相に対応するピークの強度に対する前記クオーツ結晶相に対応するピークの強度の比は、0.100以下であり、前記ガーナイト結晶相に対応するピークの強度に対する前記ウィレマイト結晶相に対応するピークの強度の比は、0.120以下である。
【発明の効果】
(【0011】以降は省略されています)
この特許をJ-PlatPat(特許庁公式サイト)で参照する
関連特許
京セラ株式会社
光学系
1か月前
京セラ株式会社
配線基板
1か月前
京セラ株式会社
蓄電装置
2か月前
京セラ株式会社
配線基板
1か月前
京セラ株式会社
弾性波装置
2か月前
京セラ株式会社
アイソレータ
12日前
京セラ株式会社
粒子分離装置
2か月前
京セラ株式会社
振動検出方法
13日前
京セラ株式会社
センサシステム
2か月前
京セラ株式会社
静圧気体軸受装置
2か月前
京セラ株式会社
セラミック焼結体
今日
京セラ株式会社
光センサモジュール
28日前
京セラ株式会社
光センサモジュール
28日前
京セラ株式会社
予測装置及び予測方法
1か月前
京セラ株式会社
配線基板及び電子装置
2か月前
京セラ株式会社
走査装置及び制御装置
2か月前
京セラ株式会社
印刷装置及び印刷方法
1か月前
京セラ株式会社
コネクタ及び取付方法
2か月前
京セラ株式会社
配線基板及び電子装置
2か月前
京セラ株式会社
走査装置及び制御装置
2か月前
京セラ株式会社
積層セラミック電子部品
1か月前
京セラ株式会社
流路デバイスの準備方法
2か月前
京セラ株式会社
発光装置および照明装置
2か月前
京セラ株式会社
太陽電池付きカーポート
2か月前
京セラ株式会社
太陽電池付きカーポート
2か月前
京セラ株式会社
弾性波装置および通信装置
5日前
京セラ株式会社
差動信号フィルタデバイス
20日前
京セラ株式会社
差動信号フィルタデバイス
20日前
京セラ株式会社
電磁波検出装置及び制御装置
1か月前
京セラ株式会社
弾性波共振子および通信装置
今日
京セラ株式会社
取付部材及びヘッド取付方法
2か月前
京セラ株式会社
受電装置及び光給電システム
2か月前
京セラ株式会社
弾性波装置、および通信装置
1日前
京セラ株式会社
端子、端子部材および電気機器
28日前
京セラ株式会社
端子、端子部材および電気機器
26日前
京セラ株式会社
配線基板及びLEDモジュール
1か月前
続きを見る
他の特許を見る