TOP
|
特許
|
意匠
|
商標
特許ウォッチ
Twitter
他の特許を見る
公開番号
2025161257
公報種別
公開特許公報(A)
公開日
2025-10-24
出願番号
2024064295
出願日
2024-04-11
発明の名称
配線基板
出願人
京セラ株式会社
代理人
弁理士法人酒井国際特許事務所
主分類
H05K
3/46 20060101AFI20251017BHJP(他に分類されない電気技術)
要約
【課題】無機層と有機層との接合界面において導体または無機基材にかかる応力を低減することができる。
【解決手段】配線基板は、無機基材と、有機基材と、接合層と、導体とを備える。無機基材は、無機成分を主成分とする。有機基材は、第1有機成分を主成分とし、無機基材よりも熱膨張率が高い。接合層は、無機基材と有機基材との間に位置して無機基材と有機基材とにそれぞれ接合し、第2有機成分を含む。導体は、無機基材と接合層との内部に位置する。無機基材は、当該無機基材を貫通する第1貫通孔を有する。接合層は、当該接合層を貫通して第1貫通孔と連通する第2貫通孔を有する。導体は、第1貫通孔の側面と第2貫通孔の側面とに沿って延びる。第2貫通孔の径は、第1貫通孔の径よりも大きい。
【選択図】図3
特許請求の範囲
【請求項1】
無機成分を主成分とする無機基材と、
第1有機成分を主成分とし、前記無機基材よりも熱膨張率が高い有機基材と、
前記無機基材と前記有機基材との間に位置して前記無機基材と前記有機基材とにそれぞれ接合し、第2有機成分を含む接合層と、
前記無機基材と前記接合層との内部に位置する導体と
を備え、
前記無機基材は、当該無機基材を貫通する第1貫通孔を有し、
前記接合層は、当該接合層を貫通して前記第1貫通孔と連通する第2貫通孔を有し、
前記導体は、前記第1貫通孔の側面と前記第2貫通孔の側面とに沿って延び、
前記第2貫通孔の径は、前記第1貫通孔の径よりも大きい、
配線基板。
続きを表示(約 1,000 文字)
【請求項2】
前記無機基材は、ガラス成分を含む低温同時焼成セラミックである
請求項1に記載の配線基板。
【請求項3】
前記接合層は、ガラス成分と化学的に結合するカップリング剤を含む
請求項2に記載の配線基板。
【請求項4】
前記第1貫通孔の開口部は、前記無機基材の表面から内部に向かって幅狭となるテーパー形状を有する
請求項1に記載の配線基板。
【請求項5】
前記無機基材は、前記接合層に接合される第1面を有し、
前記第1貫通孔は、前記第1面に位置する第1開口部を有し、
前記第1開口部は、前記第1面から前記無機基材の内部に向かって幅狭となるテーパー形状を有する
請求項1に記載の配線基板。
【請求項6】
前記無機基材は、前記接合層に接合される第1面と、当該第1面の反対に位置する第2面とを有し、
前記第1貫通孔は、前記第1面に位置する第1開口部と、前記第2面に位置する第2開口部とを有し、
前記第2開口部は、前記第2面から前記無機基材の内部に向かって幅狭となるテーパー形状を有する
請求項1に記載の配線基板。
【請求項7】
前記無機基材は、前記接合層に接合される第1面と、当該第1面の反対に位置する第2面とを有し、
前記第1貫通孔は、前記第1面に位置する第1開口部と、前記第2面に位置する第2開口部とを有し、
前記第2面における前記第2開口部の径は、前記第1面における前記第1開口部の径よりも大きい
請求項1に記載の配線基板。
【請求項8】
前記有機基材は、シリカの粒子を含有したエポキシ樹脂またはポリイミド樹脂を含む
請求項1に記載の配線基板。
【請求項9】
前記接合層は、シリカの粒子を含有したエポキシ樹脂またはポリイミド樹脂を含み、
前記有機基材に含まれる前記シリカの粒子径は、前記接合層に含まれる前記シリカの粒子径よりも大きい、
請求項8に記載の配線基板。
【請求項10】
前記無機基材は、前記接合層に接合される第1面を有し、
前記第1貫通孔の側面の表面粗さは、前記第1面の表面粗さよりも大きい
請求項1に記載の配線基板。
(【請求項11】以降は省略されています)
発明の詳細な説明
【技術分野】
【0001】
本開示は、配線基板に関する。
続きを表示(約 1,400 文字)
【背景技術】
【0002】
配線が形成された有機層を、コア材としてのガラスクロス基板上に積層した配線基板が知られている。
【0003】
ガラスクロス基板にはスルーホール部が形成される。スルーホール部は、ガラスクロス基板を貫通する貫通孔と、貫通孔の内部に位置する導体とを有する(特許文献1参照)。
【先行技術文献】
【特許文献】
【0004】
特開2023-111608号公報
【発明の概要】
【発明が解決しようとする課題】
【0005】
本願発明者らは、配線基板の強度向上のためコア材をガラスクロス基板から無機基材に変更する場合において、コア材と有機層との熱膨張率の差による課題が新規に生じうることを見出した。たとえば、コア材と有機層との熱膨張率の差が大きい場合、コア材と有機層との接合界面に位置する導体または無機基材に応力がかかることで、導体や無機基材にクラックが生じる可能性がある。
【0006】
本開示は、無機層と有機層との接合界面において導体または無機基材にかかる応力を低減することができる技術を提供する。
【課題を解決するための手段】
【0007】
本開示の配線基板は、無機基材と、有機基材と、接合層と、導体とを備える。無機基材は、無機成分を主成分とする。有機基材は、第1有機成分を主成分とし、無機基材よりも熱膨張率が高い。接合層は、無機基材と有機基材との間に位置して無機基材と有機基材とにそれぞれ接合し、第2有機成分を含む。導体は、無機基材と接合層との内部に位置する。無機基材は、当該無機基材を貫通する第1貫通孔を有する。接合層は、当該接合層を貫通して第1貫通孔と連通する第2貫通孔を有する。導体は、第1貫通孔の側面と第2貫通孔の側面とに沿って延びる。第2貫通孔の径は、第1貫通孔の径よりも大きい。
【発明の効果】
【0008】
本開示によれば、無機層と有機層との接合界面において導体または無機基材にかかる応力を低減することができる。
【図面の簡単な説明】
【0009】
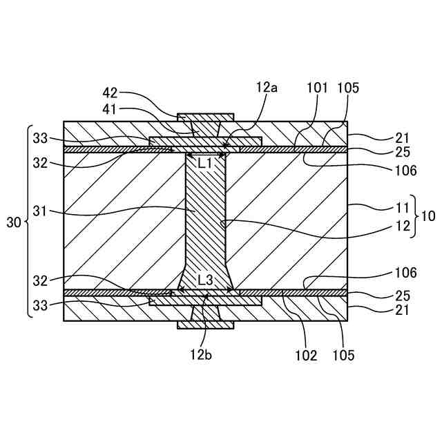
図1は、実施形態に係る半導体デバイスの構成を示す模式断面図である。
図2は、実施形態に係るベース基板の構成を示す模式断面図である。
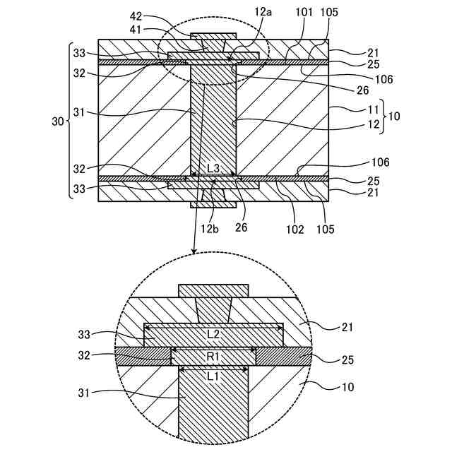
図3は、図2に示す領域IIIの模式拡大図である。
図4は、第1導体の内側に有機樹脂が充填された構成の模式拡大図である。
図5は、第1導体がテーパー形状を有する構成の模式拡大図である。
図6は、第1導体がテーパー形状を有する構成の模式拡大図である。
図7は、介在層を備える構成の模式拡大図である。
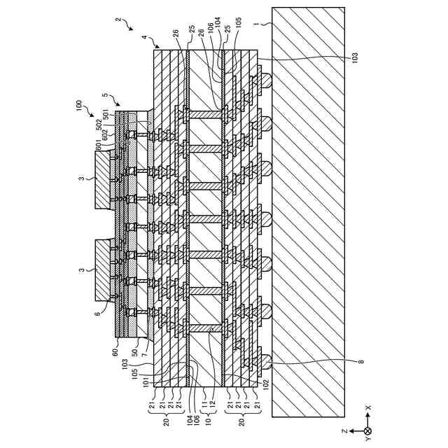
図8は、実施形態に係る中継基板とその周辺の構成を示す模式断面図である。
【発明を実施するための形態】
【0010】
以下に、本開示による複合配線基板および半導体デバイスを実施するための形態(以下、「実施形態」と記載する)について図面を参照しつつ詳細に説明する。なお、この実施形態により本開示が限定されるものではない。また、各実施形態は、処理内容を矛盾させない範囲で適宜組み合わせることが可能である。また、以下の各実施形態において同一の部位には同一の符号を付し、重複する説明は省略される。
(【0011】以降は省略されています)
この特許をJ-PlatPat(特許庁公式サイト)で参照する
関連特許
京セラ株式会社
光学系
20日前
京セラ株式会社
配線基板
26日前
京セラ株式会社
配線基板
26日前
京セラ株式会社
光センサモジュール
7日前
京セラ株式会社
光センサモジュール
7日前
京セラ株式会社
予測装置及び予測方法
15日前
京セラ株式会社
印刷装置及び印刷方法
12日前
京セラ株式会社
積層セラミック電子部品
13日前
京セラ株式会社
太陽電池付きカーポート
1か月前
京セラ株式会社
太陽電池付きカーポート
1か月前
京セラ株式会社
電磁波検出装置及び制御装置
26日前
京セラ株式会社
端子、端子部材および電気機器
5日前
京セラ株式会社
光集積回路及び光トランシーバ
26日前
京セラ株式会社
端子、端子部材および電気機器
7日前
京セラ株式会社
配線基板及びLEDモジュール
12日前
京セラ株式会社
電子デバイス及び電子モジュール
12日前
京セラ株式会社
光センサおよび光センサの製造方法
1か月前
京セラ株式会社
分析システム、分析装置、及び分析方法
12日前
京セラ株式会社
光センサおよびこれを備えた画像形成装置
7日前
京セラ株式会社
揺動装置、電磁波照射装置、及び制御装置
1か月前
京セラ株式会社
電子機器、制御方法、プログラム、及びシステム
15日前
京セラ株式会社
電子機器、制御方法、プログラム、及びシステム
15日前
京セラ株式会社
太陽光発電システム及び太陽電池付きカーポート
22日前
京セラ株式会社
VMD支援システム、サーバ装置、及び通信方法
12日前
京セラ株式会社
行動検出システム、サーバ装置、及び行動検出方法
12日前
京セラ株式会社
圧電共振デバイス
22日前
京セラ株式会社
ノード、分散台帳管理方法、分散台帳プログラム及び分散台帳システム
1か月前
京セラ株式会社
ノード、分散台帳システム、分散台帳移管方法、及び分散台帳移管プログラム
1か月前
京セラ株式会社
半導体レーザデバイスの製造方法
7日前
京セラ株式会社
ユーザ装置、ノード、及び通信方法
1か月前
京セラ株式会社
チップ状電子部品、チップ状電子部品の製造方法、及びチップ状電子部品の実装方法
5日前
京セラ株式会社
光センサおよび光センサの製造方法
1か月前
京セラ株式会社
積層部品の整列方法およびその整列方法を用いた積層セラミック電子部品の製造方法。
1か月前
京セラ株式会社
推定システム、推定装置、制御プログラム
22日前
京セラ株式会社
表示装置、結像装置、表示システムおよび車両
7日前
京セラ株式会社
通信方法、ネットワークノード、プロセッサ、及びプログラム
1か月前
続きを見る
他の特許を見る