TOP
|
特許
|
意匠
|
商標
特許ウォッチ
Twitter
他の特許を見る
10個以上の画像は省略されています。
公開番号
2025177790
公報種別
公開特許公報(A)
公開日
2025-12-05
出願番号
2024084893
出願日
2024-05-24
発明の名称
弾性波装置および通信装置
出願人
京セラ株式会社
代理人
弁理士法人 HARAKENZO WORLD PATENT & TRADEMARK
主分類
H03H
9/145 20060101AFI20251128BHJP(基本電子回路)
要約
【課題】弾性波装置における周波数特性を改善する。
【解決手段】弾性波装置は、第1IDT電極と第1反射器と第2反射器とを有する直列共振子と、第2IDT電極と第3反射器と第4反射器とを有する並列共振子とを備える。第1反射器における第1ストリップ電極の本数は、第3反射器における第3ストリップ電極の本数より少なく、第1IDT電極の第1電極指の先端を結ぶ第1仮想線が、第1IDT電極の波の伝搬方向に対して6°以下の傾斜角度で傾斜し、第2IDT電極の第3電極指の先端を結ぶ第2仮想線が、第2IDT電極の波の伝搬方向に対して6°以下の傾斜角度で傾斜している。
【選択図】図2
特許請求の範囲
【請求項1】
圧電体と、
支持基板と、
前記圧電体と前記支持基板との間に位置する低音速層と、
前記圧電体上に位置する第1IDT電極を有する直列共振子と、
前記圧電体上に位置する第2IDT電極を有する並列共振子と、を備え、
前記第1IDT電極は、第1バスバーと、第2バスバーと、複数の第1電極指と、前記第1電極指と互いに挿間しあう、複数の第2電極指と、を有し、
前記直列共振子は、複数の第1ストリップ電極を有する第1反射器と、複数の第2ストリップ電極を有する第2反射器と、をさらに有し、
前記第2IDT電極は、第3バスバーと、第4バスバーと、複数の第3電極指と、前記第3電極指と互いに挿間しあう、複数の第4電極指と、を有し、
前記並列共振子は、複数の第3ストリップ電極を有する第3反射器と、複数の第4ストリップ電極を有する第4反射器と、をさらに有し、
前記第1ストリップ電極の本数は、前記第3ストリップ電極の本数より少なく、
複数の前記第1電極指の先端を結ぶ仮想線である第1仮想線が、前記第1IDT電極が励振する波の伝搬方向に対して6°以下の傾斜角度で傾斜し、
複数の前記第3電極指の先端を結ぶ仮想線である第2仮想線が、前記第2IDT電極が励振する波の伝搬方向に対して6°以下の傾斜角度で傾斜している、弾性波装置。
続きを表示(約 610 文字)
【請求項2】
前記第1反射器の複数の前記第1ストリップ電極の本数は、12本以下である、請求項1に記載の弾性波装置。
【請求項3】
前記第1反射器の複数の前記第1ストリップ電極の本数は、4本以上である、請求項1に記載の弾性波装置。
【請求項4】
前記圧電体上に位置する第3IDT電極を有する第2直列共振子をさらに有し、
前記第2直列共振子は、
複数の第5ストリップ電極を有する第5反射器を有し、
前記第5反射器における複数の前記第5ストリップ電極の本数が、前記第1反射器の複数の前記第1ストリップ電極の本数より多く、
前記第1IDT電極のピッチは、前記第3IDT電極のピッチより小さい、請求項1に記載の弾性波装置。
【請求項5】
それぞれ前記第1反射器および前記第2反射器を有する複数の直列共振子と、
それぞれ前記第3反射器および前記第4反射器を有する複数の並列共振子と、を有し、
前記複数の直列共振子は全て、前記第1ストリップ電極の本数および前記第2ストリップ電極の本数が、前記複数の並列共振子のそれぞれの前記第3ストリップ電極の本数および前記第4ストリップ電極の本数のうち最小の本数よりも小さい、請求項1に記載の弾性波装置。
【請求項6】
請求項1から5のいずれか1項に記載の弾性波装置を含む、通信装置。
発明の詳細な説明
【技術分野】
【0001】
本開示は、弾性波装置等に関する。
続きを表示(約 2,000 文字)
【背景技術】
【0002】
従来、弾性波共振子を有する弾性波フィルタが知られている。特許文献1には、傾斜型IDT(Inter-Digital Transducer)電極を有するラダー型フィルタについて記載されている。
【先行技術文献】
【特許文献】
【0003】
国際公開第2022/019169号
【発明の概要】
【発明が解決しようとする課題】
【0004】
弾性波装置において、周波数特性の改善が求められる。
【課題を解決するための手段】
【0005】
本開示の一態様における弾性波装置は、圧電体と、支持基板と、前記圧電体と前記支持基板との間に位置する低音速層と、前記圧電体上に位置する第1IDT電極を有する直列共振子と、前記圧電体上に位置する第2IDT電極を有する並列共振子と、を備え、前記第1IDT電極は、第1バスバーと、第2バスバーと、複数の第1電極指と、前記第1電極指と互いに挿間しあう、複数の第2電極指と、を有し、前記直列共振子は、複数の第1ストリップ電極を有する第1反射器と、複数の第2ストリップ電極を有する第2反射器と、をさらに有し、前記第2IDT電極は、第3バスバーと、第4バスバーと、複数の第3電極指と、前記第13電極指と互いに挿間しあう、複数の第4電極指と、を有し、前記並列共振子は、複数の第3ストリップ電極を有する第3反射器と、複数の第4ストリップ電極を有する第4反射器と、をさらに有し、前記第1ストリップ電極の本数は、前記第3ストリップ電極の本数より少なく、複数の前記第1電極指の先端を結ぶ仮想線である第1仮想線が、前記第1IDT電極が励振する波の伝搬方向に対して6°以下の傾斜角度で傾斜し、複数の前記第3電極指の先端を結ぶ仮想線である第2仮想線が、前記第2IDT電極が励振する波の伝搬方向に対して6°以下の傾斜角度で傾斜している。
【発明の効果】
【0006】
本開示の一態様によれば、弾性波装置における周波数特性を改善できる。
【図面の簡単な説明】
【0007】
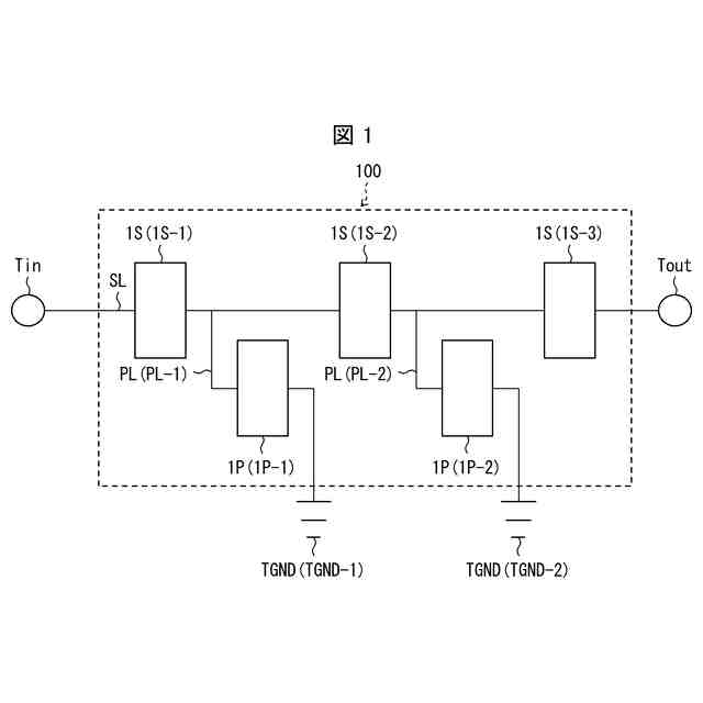
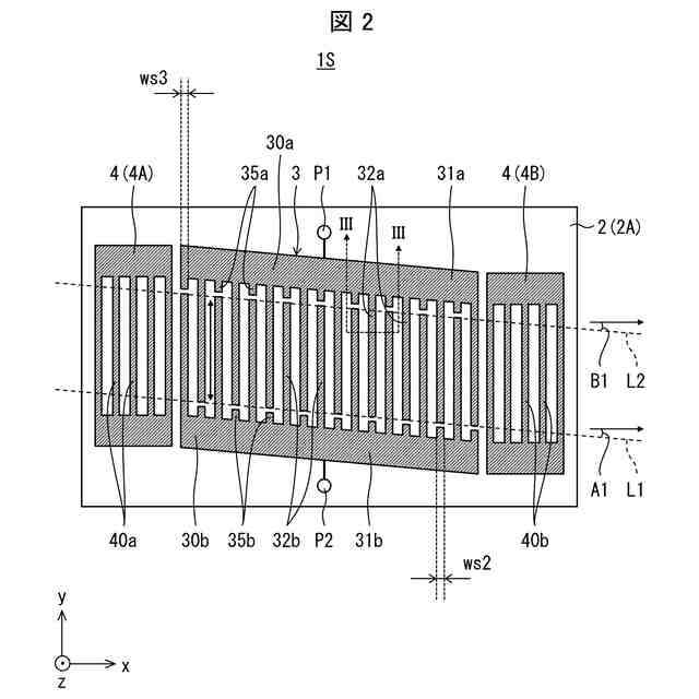
本開示の実施形態1における弾性波装置の一構成例を模式的に示す図である。
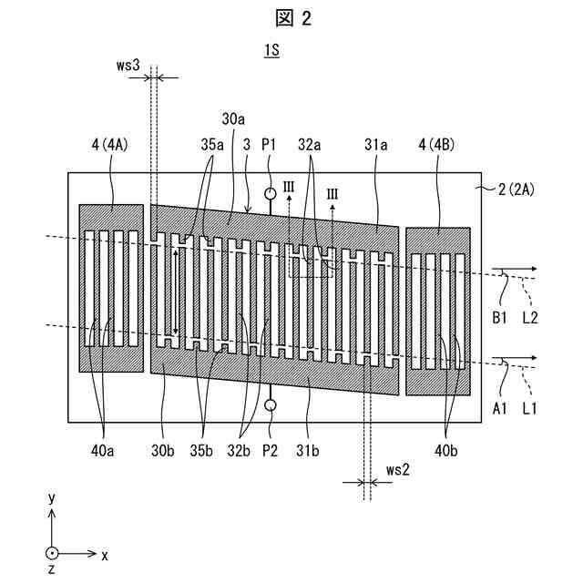
本開示の実施形態1における弾性波装置が有する直列共振子の一構成例を示す平面図である。
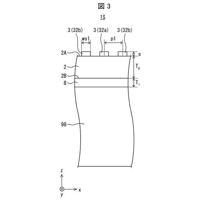
図2のIII-III線の断面図である。
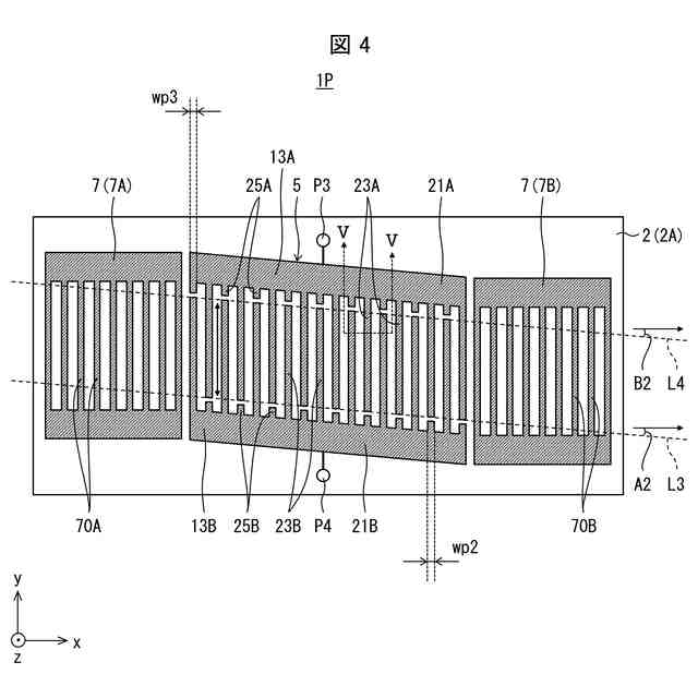
本開示の実施形態1における弾性波装置が有する並列共振子の一構成例を示す平面図である。
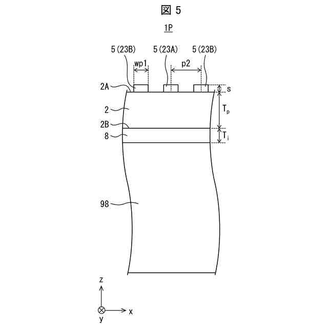
図4のV-V線の断面図である。
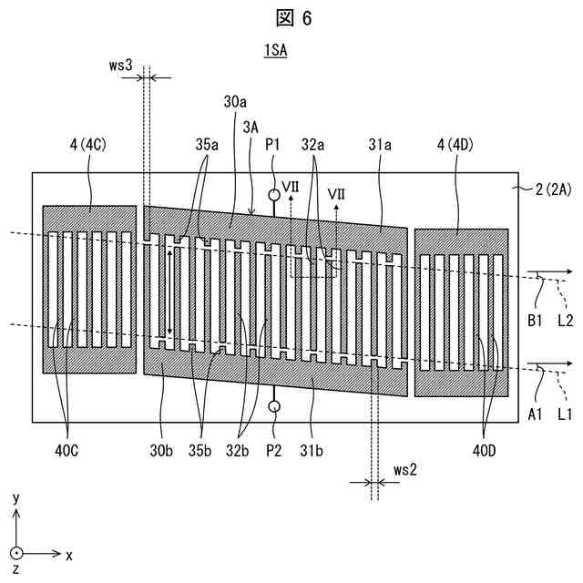
本開示の実施形態1における弾性波装置が有する直列共振子の一構成例を示す平面図である。
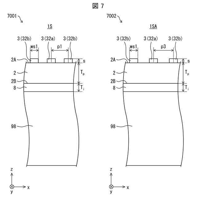
本開示の実施形態1における一構成例の弾性波装置が有する複数の直列共振子の断面図である。
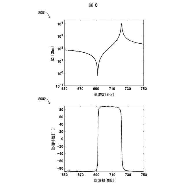
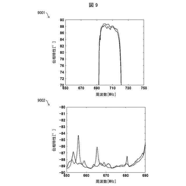
直列共振子の周波数特性の一例を示すグラフである。
図8に示す周波数と位相特性との関係を示すグラフを部分拡大したグラフである。
弾性波装置を送信フィルタとして用いた場合の周波数特性の一例を示すグラフである。
弾性波装置を送信フィルタとして用いた場合の周波数特性の一例を示すグラフである。
実施形態2における分波器の一構成例を示す図である。
実施形態3における通信装置の概略的な構成を例示する図である。
【発明を実施するための形態】
【0008】
〔実施形態1〕
以下、本開示の一例である実施形態の弾性波装置(弾性波フィルタ・弾性波フィルタ装置)について、図面を参照して詳細に説明する。但し、以下の記載は発明の趣旨をより良く理解させるためのものであり、特に指定のない限り、本開示を限定するものではない。以下の説明において参照する各図は、説明の便宜上、実施形態を説明する上で必要な主要部材のみを簡略化して示したものであり、公知の技術的事項については、簡潔化のために説明を適宜省略する。
【0009】
(弾性波装置)
図1は、実施形態1の弾性波装置の一構成例を模式的に示す図である。図2は、実施形態1の弾性波装置が有する直列共振子の一構成例を示す平面図である。図3は、図2のIII-III線の断面図である。図4は、実施形態1の弾性波装置が有する並列共振子の一構成例を示す平面図である。図5は、図4のV-V線の断面図である。
【0010】
図1~5に示すように、本実施形態の弾性波装置100は、圧電体2と、支持基板98と、圧電体2と支持基板98との間に位置する低音速層8と、圧電体2上に位置する第1IDT電極3を有する直列共振子1Sと、圧電体2上に位置する第2IDT電極5を有する並列共振子1Pと、を備えている。
(【0011】以降は省略されています)
この特許をJ-PlatPat(特許庁公式サイト)で参照する
関連特許
京セラ株式会社
光学系
1か月前
京セラ株式会社
配線基板
1か月前
京セラ株式会社
蓄電装置
2か月前
京セラ株式会社
配線基板
1か月前
京セラ株式会社
アイソレータ
10日前
京セラ株式会社
振動検出方法
11日前
京セラ株式会社
静圧気体軸受装置
1か月前
京セラ株式会社
光センサモジュール
26日前
京セラ株式会社
光センサモジュール
26日前
京セラ株式会社
走査装置及び制御装置
1か月前
京セラ株式会社
印刷装置及び印刷方法
1か月前
京セラ株式会社
走査装置及び制御装置
1か月前
京セラ株式会社
予測装置及び予測方法
1か月前
京セラ株式会社
積層セラミック電子部品
1か月前
京セラ株式会社
太陽電池付きカーポート
1か月前
京セラ株式会社
太陽電池付きカーポート
1か月前
京セラ株式会社
弾性波装置および通信装置
3日前
京セラ株式会社
差動信号フィルタデバイス
18日前
京セラ株式会社
差動信号フィルタデバイス
18日前
京セラ株式会社
電磁波検出装置及び制御装置
1か月前
京セラ株式会社
端子、端子部材および電気機器
24日前
京セラ株式会社
光集積回路及び光トランシーバ
1か月前
京セラ株式会社
端子、端子部材および電気機器
26日前
京セラ株式会社
配線基板及びLEDモジュール
1か月前
京セラ株式会社
電子デバイス及び電子モジュール
1か月前
京セラ株式会社
光センサおよび光センサの製造方法
1か月前
京セラ株式会社
積層セラミック電子部品の製造方法
10日前
京セラ株式会社
電子機器、制御方法、及びプログラム
11日前
京セラ株式会社
分析システム、分析装置、及び分析方法
1か月前
京セラ株式会社
光センサおよびこれを備えた画像形成装置
26日前
京セラ株式会社
揺動装置、電磁波照射装置、及び制御装置
1か月前
京セラ株式会社
ホルダ、切削工具、及び切削加工物の製造方法
2か月前
京セラ株式会社
VMD支援システム、サーバ装置、及び通信方法
1か月前
京セラ株式会社
電子機器、制御方法、プログラム、及びシステム
1か月前
京セラ株式会社
電子機器、制御方法、プログラム、及びシステム
1か月前
京セラ株式会社
太陽光発電システム及び太陽電池付きカーポート
1か月前
続きを見る
他の特許を見る