TOP
|
特許
|
意匠
|
商標
特許ウォッチ
Twitter
他の特許を見る
公開番号
2025179286
公報種別
公開特許公報(A)
公開日
2025-12-10
出願番号
2022178943
出願日
2022-11-08
発明の名称
弾性波共振子および通信装置
出願人
京セラ株式会社
代理人
主分類
H03H
9/145 20060101AFI20251203BHJP(基本電子回路)
要約
【課題】 優れたフィルタ特性をもつ弾性波共振子を提供する。
【解決手段】 弾性波共振子は、圧電性を有し、第1面と第1面とは反対側の第2面を有する圧電体層と、第1面上に位置し、複数の電極指を有する、IDT電極と、第2面側に位置し、圧電体層よりも音響インピーダンスが低い低音響インピーダンス層を含む、音響反射層と、を備え、平面視における複数の電極指の表面の少なくとも一部における算術平均粗さをRa1とし、複数の電極指の厚みをTとすると、 0.14≦(Ra1/T)×100 の関係を満たし、IDT電極によって励振され、圧電体層を伝搬するLamb波を主共振として利用するように構成されている。
【選択図】 図3
特許請求の範囲
【請求項1】
圧電性を有し、第1面と該第1面とは反対側の第2面を有する圧電体層と、
前記第1面上に位置し、複数の電極指を有する、IDT電極と、
前記第2面側に位置し、前記圧電体層よりも音響インピーダンスが低い低音響インピーダンス層を含む、音響反射層と、
を備え、
平面視における前記複数の電極指の表面の少なくとも一部における算術平均粗さをRa1とし、前記複数の電極指の厚みをTとすると、
0.14≦(Ra1/T)×100 の関係を満たし、
前記IDT電極によって励振され、前記圧電体層を伝搬するLamb波を主共振として利用するように構成されている、
弾性波共振子。
続きを表示(約 900 文字)
【請求項2】
圧電性を有し、第1面と該第1面とは反対側の第2面を有する圧電体層と、
前記第1面上に位置し、複数の電極指を有する、IDT電極と、
前記第2面側に位置し、前記圧電体層よりも音響インピーダンスが低い低音響インピーダンス層を含む、音響反射層と、
を備え、
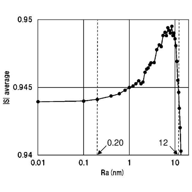
平面視における前記複数の電極指の表面の少なくとも一部における算術平均粗さをRa1とすると、Ra1は0.20nm以上であり、
前記IDT電極によって励振され、前記圧電体層を伝搬するLamb波を主共振として利用するように構成されている、
弾性波共振子。
【請求項3】
前記音響反射層は、前記低音響インピーダンス層よりも音響インピーダンスが高い高音響インピーダンス層をさらに含み、
前記音響反射層は、複数の前記低音響インピーダンス層と複数の前記高音響インピーダンス層が交互に積層されて構成されている、
請求項1または2に記載の弾性波共振子。
【請求項4】
前記低音響インピーダンス層は、気体である、
請求項1または2に記載の弾性波共振子。
【請求項5】
(Ra1/T)×100≦8.6 の関係をさらに満たす、
請求項1または2に記載の弾性波共振子。
【請求項6】
(Ra1/T)×100≦1.4 の関係をさらに満たす、
請求項1または2に記載の弾性波共振子。
【請求項7】
(Ra1/T)×100≦0.93 の関係をさらに満たす、
請求項1または2に記載の弾性波共振子。
【請求項8】
前記Ra1は、12nm以下である、
請求項1または2に記載の弾性波共振子。
【請求項9】
前記Ra1は、2.0nm以下である、
請求項1または2に記載の弾性波共振子。
【請求項10】
前記Ra1は、1.3nm以下である、
請求項1または2に記載の弾性波共振子。
(【請求項11】以降は省略されています)
発明の詳細な説明
【技術分野】
【0001】
本発明は、弾性波を利用する電子部品である弾性波共振子および当該弾性波共振子を含む通信装置に関する。
続きを表示(約 1,400 文字)
【背景技術】
【0002】
支持基板と、支持基板上に形成されている音響反射層と、音響反射層上に形成されている圧電体層と、圧電体層の上面または下面に形成されたIDT電極とを備える弾性波装置が開示されており、音響反射層は、低音響インピーダンス層と、低音響インピーダンス層よりも音響インピーダンスが高い高音響インピーダンス層とを有している。このような構成とすることにより、圧電体層において伝搬する板波が音響反射層により反射され、弾性波エネルギーが圧電体層に閉じ込められることで、板波が圧電体層を高いエネルギー強度を持って伝搬することができる。
【先行技術文献】
【特許文献】
【0003】
特許第5648695号公報
【発明の概要】
【発明が解決しようとする課題】
【0004】
特許文献1に記載の弾性波装置においては、音響反射層によってメインモードの弾性波とともにスプリアスの原因となる不要波も圧電体層に閉じ込められてしまうため、スプリアスの強度が大きくなってしまう。
【課題を解決するための手段】
【0005】
(1)
本発明の一実施形態に係る弾性波共振子は、圧電性を有し、第1面と第1面とは反対側の第2面を有する圧電体層と、第1面上に位置し、複数の電極指を有する、IDT電極と、第2面側に位置し、圧電体層よりも音響インピーダンスが低い低音響インピーダンス層を含む、音響反射層と、を備え、平面視における複数の電極指の表面の少なくとも一部における算術平均粗さをRa1とし、複数の電極指の厚みをTとすると、 0.14≦(Ra1/T)×100 の関係を満たし、IDT電極によって励振され、圧電体層を伝搬するLamb波を主共振として利用するように構成されている。
【0006】
(2)
本発明の一実施形態に係る弾性波共振子は、上記(1)に記載する弾性波共振子であって、Ra1は0.20nm以上である。
【0007】
(3)
本発明の一実施形態に係る弾性波共振子は、上記(1)または(2)に記載する弾性波共振子であって、音響反射層は、低音響インピーダンス層よりも音響インピーダンスが高い高音響インピーダンス層をさらに含み、音響反射層は、複数の低音響インピーダンス層と複数の高音響インピーダンス層が交互に積層されて構成されている。
【0008】
(4)
本発明の一実施形態に係る弾性波共振子は、上記(1)乃至(3)のいずれかに記載する弾性波共振子であって、圧電体層の第1面とは反対の面側に位置し、平面視において複数の電極指と重なる位置に圧電体層によって内部空間を空けて覆われた空隙を有する支持
基板をさらに備え、低音響インピーダンス層は、空隙に存在する気体である。
【0009】
(5)
本発明の一実施形態に係る弾性波共振子は、上記(1)乃至(4)のいずれかに記載する弾性波共振子であって、 (Ra1/T)×100≦8.6 の関係をさらに満たす。
【0010】
(6)
本発明の一実施形態に係る弾性波共振子は、上記(1)乃至(5)のいずれかに記載する弾性波共振子であって、 (Ra1/T)×100≦1.4 の関係をさらに満たす。
(【0011】以降は省略されています)
この特許をJ-PlatPat(特許庁公式サイト)で参照する
関連特許
京セラ株式会社
光学系
1か月前
京セラ株式会社
配線基板
1か月前
京セラ株式会社
配線基板
1か月前
京セラ株式会社
蓄電装置
2か月前
京セラ株式会社
アイソレータ
12日前
京セラ株式会社
振動検出方法
13日前
京セラ株式会社
粒子分離装置
2か月前
京セラ株式会社
セラミック焼結体
今日
京セラ株式会社
静圧気体軸受装置
2か月前
京セラ株式会社
光センサモジュール
28日前
京セラ株式会社
光センサモジュール
28日前
京セラ株式会社
印刷装置及び印刷方法
1か月前
京セラ株式会社
走査装置及び制御装置
2か月前
京セラ株式会社
コネクタ及び取付方法
2か月前
京セラ株式会社
予測装置及び予測方法
1か月前
京セラ株式会社
走査装置及び制御装置
2か月前
京セラ株式会社
太陽電池付きカーポート
2か月前
京セラ株式会社
積層セラミック電子部品
1か月前
京セラ株式会社
太陽電池付きカーポート
2か月前
京セラ株式会社
差動信号フィルタデバイス
20日前
京セラ株式会社
差動信号フィルタデバイス
20日前
京セラ株式会社
弾性波装置および通信装置
5日前
京セラ株式会社
弾性波共振子および通信装置
今日
京セラ株式会社
弾性波装置、および通信装置
1日前
京セラ株式会社
電磁波検出装置及び制御装置
1か月前
京セラ株式会社
配線基板及びLEDモジュール
1か月前
京セラ株式会社
端子、端子部材および電気機器
28日前
京セラ株式会社
端子、端子部材および電気機器
26日前
京セラ株式会社
光集積回路及び光トランシーバ
1か月前
京セラ株式会社
電子デバイス及び電子モジュール
1か月前
京セラ株式会社
光センサおよび光センサの製造方法
1か月前
京セラ株式会社
積層セラミック電子部品の製造方法
12日前
京セラ株式会社
電子機器、制御方法、及びプログラム
13日前
京セラ株式会社
分析システム、分析装置、及び分析方法
1か月前
京セラ株式会社
光センサおよびこれを備えた画像形成装置
28日前
京セラ株式会社
揺動装置、電磁波照射装置、及び制御装置
2か月前
続きを見る
他の特許を見る