TOP
|
特許
|
意匠
|
商標
特許ウォッチ
Twitter
他の特許を見る
公開番号
2025167802
公報種別
公開特許公報(A)
公開日
2025-11-07
出願番号
2024072726
出願日
2024-04-26
発明の名称
配線基板及びLEDモジュール
出願人
京セラ株式会社
代理人
個人
,
個人
主分類
H10H
20/856 20250101AFI20251030BHJP()
要約
【課題】外部へ照射される光量をより増大できる配線基板及びLEDモジュールを提供する。
【解決手段】配線基板は、第1面と第1面の反対側に位置する第2面とを有する基板と、第1面よりも上方に位置するアルミニウム膜と、アルミニウム膜よりも上方に位置する1つ又は複数の第1金属膜と、を備え、第1金属膜は、発光素子が搭載される電極膜を含む。
【選択図】図1
特許請求の範囲
【請求項1】
第1面と前記第1面の反対側に位置する第2面とを有する基板と、
前記第1面よりも上方に位置するアルミニウム膜と、
前記アルミニウム膜よりも上方に位置する1つ又は複数の第1金属膜と、
を備え、
前記第1金属膜は、発光素子が搭載される電極膜を含む、
配線基板。
続きを表示(約 720 文字)
【請求項2】
前記第1金属膜は、前記電極膜と、前記電極膜と電気的に接続された導体膜とを含み、
前記アルミニウム膜の上側で前記電極膜及び前記導体膜が位置しない領域に位置する酸化アルミニウム膜を、更に有する、
請求項1記載の配線基板。
【請求項3】
前記第1金属膜は、
前記電極膜と前記アルミニウム膜との間に位置する第1チタン(Ti)膜を含む、
請求項1記載の配線基板。
【請求項4】
前記アルミニウム膜は、前記第1面上において複数に分断されている、
請求項1記載の配線基板。
【請求項5】
前記基板はセラミックスであり、
前記アルミニウム膜と前記第1面との間に位置する第2チタン(Ti)膜を備える、
請求項1記載の配線基板。
【請求項6】
前記電極膜に搭載される発光素子は、紫外領域の光を主に出力する、
請求項1記載の配線基板。
【請求項7】
前記発光素子は、UV-Cを主に出力する、
請求項6記載の配線基板。
【請求項8】
前記基板はセラミックスであり、
前記基板の主成分が窒化アルミニウムである、
請求項1記載の配線基板。
【請求項9】
前記基板内において前記第1面から前記第2面に渡って位置するビア導体を、
備える、
請求項1記載の配線基板。
【請求項10】
前記第2面よりも下方に位置する第2金属膜を更に備える、
請求項1記載の配線基板。
(【請求項11】以降は省略されています)
発明の詳細な説明
【技術分野】
【0001】
本開示は、配線基板及びLED(Light Emitting Diode)モジュールに関する。
続きを表示(約 1,200 文字)
【背景技術】
【0002】
特許文献1には、LEDモジュールにおいて効果的な放熱と発光量の増大とを図る配線基板について記載されている。
【先行技術文献】
【特許文献】
【0003】
特開2008-177445号公報
【発明の概要】
【発明が解決しようとする課題】
【0004】
LEDモジュールの配線基板は、以前より、光を反射する機能を有することで外部へ照射される光量の増大を図っている。本開示は、外部へ照射する光量をより増大できる配線基板及びLEDモジュールを提供することを目的とする。
【課題を解決するための手段】
【0005】
本開示に係る配線基板は、
第1面と前記第1面の反対側に位置する第2面とを有する基板と、
前記第1面よりも上方に位置するアルミニウム膜と、
前記アルミニウム膜よりも上方に位置する1つ又は複数の金属膜と、
を備え、
前記金属膜は、発光素子が搭載される電極膜を含む。
【0006】
本開示に係るLEDモジュールは、
上記の配線基板と、
前記配線基板に搭載されたLEDと、
を備える。
【発明の効果】
【0007】
本開示によれば、外部へ照射される光量をより増大できる配線基板及びLEDモジュールを提供できるという効果が得られる。
【図面の簡単な説明】
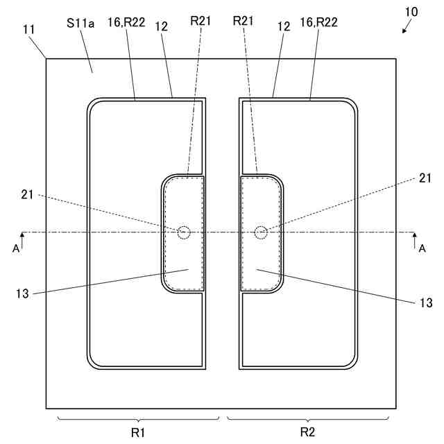
【0008】
本開示の実施形態の配線基板を示す平面図である。
本開示の実施形態のLEDモジュールを示す縦断面図(A)及び部分C1の拡大図(B)である。
光の波長と各種金属膜の反射率との関係を示すグラフである。
【発明を実施するための形態】
【0009】
以下、本開示の実施形態について図面を参照して詳細に説明する。以下では、各部を説明するのに上下の方向を示すことがある。上方とは、基板11の第1面S11aに直交しかつ第2面S11bから第1面S11aの方を向く方向である。当該方向は配線基板10及びLED(Light Emitting Diode)モジュール100の使用時における方向と異なっていてもよい。説明中「『金属名称』+『膜』」の用語は、金属名称の金属が主成分である膜を意味するものとする。主成分とは、質量比で80%以上の成分を意味する。説明中、
平面透視と言ったときには、上方から透視することを意味する。
【0010】
図1は、本開示の実施形態の配線基板10を示す平面図である。図2は、本開示の実施形態のLEDモジュール100を示す縦断面図(A)及び部分C1の拡大図(B)である。図2(A)において配線基板10は、図1のA-A線における縦断面を示す。
(【0011】以降は省略されています)
この特許をJ-PlatPat(特許庁公式サイト)で参照する
関連特許
京セラ株式会社
光学系
1か月前
京セラ株式会社
配線基板
1か月前
京セラ株式会社
配線基板
1か月前
京セラ株式会社
蓄電装置
1か月前
京セラ株式会社
弾性波装置
2か月前
京セラ株式会社
粒子分離装置
1か月前
京セラ株式会社
アイソレータ
2日前
京セラ株式会社
振動検出方法
3日前
京セラ株式会社
センサシステム
1か月前
京セラ株式会社
静圧気体軸受装置
1か月前
京セラ株式会社
光センサモジュール
18日前
京セラ株式会社
光センサモジュール
18日前
京セラ株式会社
配線基板及び電子装置
1か月前
京セラ株式会社
印刷装置及び印刷方法
23日前
京セラ株式会社
配線基板及び電子装置
1か月前
京セラ株式会社
予測装置及び予測方法
26日前
京セラ株式会社
走査装置及び制御装置
1か月前
京セラ株式会社
走査装置及び制御装置
1か月前
京セラ株式会社
コネクタ及び取付方法
1か月前
京セラ株式会社
太陽電池付きカーポート
1か月前
京セラ株式会社
太陽電池付きカーポート
1か月前
京セラ株式会社
積層セラミック電子部品
24日前
京セラ株式会社
流路デバイスの準備方法
1か月前
京セラ株式会社
発光装置および照明装置
2か月前
京セラ株式会社
差動信号フィルタデバイス
10日前
京セラ株式会社
差動信号フィルタデバイス
10日前
京セラ株式会社
受電装置及び光給電システム
1か月前
京セラ株式会社
電磁波検出装置及び制御装置
1か月前
京セラ株式会社
取付部材及びヘッド取付方法
1か月前
京セラ株式会社
端子、端子部材および電気機器
16日前
京セラ株式会社
光集積回路及び光トランシーバ
1か月前
京セラ株式会社
配線基板及びLEDモジュール
23日前
京セラ株式会社
端子、端子部材および電気機器
18日前
京セラ株式会社
フィルタデバイスおよび通信装置
1か月前
京セラ株式会社
電子デバイス及び電子モジュール
23日前
京セラ株式会社
積層セラミック電子部品の製造方法
2日前
続きを見る
他の特許を見る