TOP
|
特許
|
意匠
|
商標
特許ウォッチ
Twitter
他の特許を見る
10個以上の画像は省略されています。
公開番号
2025167987
公報種別
公開特許公報(A)
公開日
2025-11-07
出願番号
2024073058
出願日
2024-04-26
発明の名称
印刷装置及び印刷方法
出願人
京セラ株式会社
代理人
弁理士法人三協国際特許事務所
主分類
B41J
11/06 20060101AFI20251030BHJP(印刷;線画機;タイプライター;スタンプ)
要約
【課題】記録媒体の搬送幅方向の位置決め作業を容易に行うことができる印刷装置及び印刷方法を提供する。
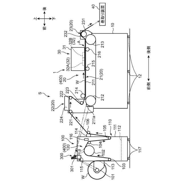
【解決手段】印刷装置Sは、記録媒体Wを所定の搬送方向に沿って搬送する搬送部400と、搬送部400により搬送される記録媒体Wに対して印刷処理を行う印刷部30と、前記搬送部400にライン光を照射することが可能な光照射部301とを備えている。搬送部400は、印刷部300よりも搬送方向の上流側において該搬送方向に互いに間隔を空けて配置され、搬送方向に直交する搬送幅方向に延びる軸線回りに回転することで前記記録媒体を搬送する複数の回転部を含む。光照射部301は、複数の回転部101,211aに跨がるようにライン光を照射し、該複数の回転部101,211aの外周面に、当該ライン光による基準線Kを示す。
【選択図】図2
特許請求の範囲
【請求項1】
記録媒体を搬送方向に搬送する搬送部と、
前記搬送部により搬送される前記記録媒体に対して印刷処理を行う印刷部と、
前記搬送部にライン光を照射することが可能な光照射部と、を備え、
前記搬送部は、前記印刷部よりも前記搬送方向の上流側において該搬送方向に互いに間隔を空けて配置され、前記搬送方向に直交する幅方向に延びる軸線回りに回転することで前記記録媒体を搬送する複数の回転部を含み、
前記光照射部は、前記複数の回転部に跨がるように前記ライン光を照射し、前記複数の回転部の外表面に当該ライン光による基準線を示す、印刷装置。
続きを表示(約 1,200 文字)
【請求項2】
請求項1記載の印刷装置において、
前記搬送部は、前記記録媒体の先端が前記印刷部よりも搬送方向の上流側に位置し且つ前記記録媒体が前記複数の回転部に跨がってセットされた初期セット状態から、前記印刷部による前記記録媒体への印刷処理を開始するべく前記記録媒体の前記搬送方向の下流側への搬送を開始するように構成されている、印刷装置。
【請求項3】
請求項1記載の印刷装置において、
前記ライン光は、光路軸方向の上流側から下流側に向かって当該光路軸方向に直交する方向に広がる偏平な光であり、
前記光照射部は、前記ライン光全体を含む平面が前記幅方向に対して垂直になるように前記ライン光を照射するよう構成されている、印刷装置。
【請求項4】
請求項1記載の印刷装置において、
前記光照射部の前記幅方向の位置を調整可能な位置調整機構をさらに備えている、印刷装置。
【請求項5】
請求項3記載の印刷装置において、
前記光照射部の前記幅方向と平行な軸線回りの角度を調整可能な角度調整機構をさらに備えている、印刷装置。
【請求項6】
請求項5記載の印刷装置において、
前記光照射部の前記幅方向の位置を調整可能な位置調整機構をさらに備え、
前記光照射部と前記角度調整機構と前記位置調整機構とはユニット化されて基準線形成ユニットを構成している、印刷装置。
【請求項7】
請求項6記載の印刷装置において、
前記印刷部を有する印刷装置本体と、
前記印刷装置本体とは分離した別の装置として当該印刷装置本体よりも前記搬送方向の上流側に配置され、前記印刷装置本体に向けて前記記録媒体を供給する記録媒体供給装置とを備え、
前記基準線形成ユニットは、前記記録媒体供給装置に着脱可能に装着されている、印刷装置。
【請求項8】
請求項7記載の印刷装置において、
前記記録媒体供給装置は、前記幅方向に延びる梁を有しており、
前記基準線形成ユニットの両端部に嵌合して該基準線形成ユニットの前記梁に対する位置決めを行う一対の位置決め部材をさらに備えている、印刷装置。
【請求項9】
請求項6記載の印刷装置において、
前記印刷部を有する印刷装置本体と、
前記印刷装置本体とは分離した別の装置として当該印刷装置本体よりも前記搬送方向の上流側に配置され、前記印刷装置本体に向けて前記記録媒体を供給する記録媒体供給装置とを備え、
前記基準線形成ユニットは、前記印刷装置本体に設けられている、印刷装置。
【請求項10】
請求項1記載の印刷装置において、
前記光照射部より出射される前記ライン光は、緑色のレーザー光である、印刷装置。
(【請求項11】以降は省略されています)
発明の詳細な説明
【技術分野】
【0001】
本発明は、印刷装置及び印刷方法に関する。
続きを表示(約 1,700 文字)
【背景技術】
【0002】
従来、記録媒体を所定の搬送方向に搬送する搬送部と、搬送部により搬送される記録媒体に対して印刷処理を行う印刷部とを備えた印刷装置が知られている。
【0003】
特許文献1には、この種の印刷装置の一例として、帯布状の記録媒体に対して印捺による印刷を行う捺染印刷装置が開示されている。この捺染印刷装置では、搬送部は、一対のローラーに巻き回された無端状の搬送ベルトと、搬送ベルトの上流側に配置された複数の搬送ローラーとを有している。複数の搬送ローラーの上流側には、ロール状に巻かれた記録媒体をその軸心回りに回転させることで当該記録媒体の先端部を搬送方向の下流側に送り出す送り装置が配置されている。前記複数の搬送ローラーは、この送り装置から送り出された記録媒体を前記搬送ベルトに向けて搬送する。前記搬送ベルトは、その外周面に記録媒体を粘着保持しながら周回することで当該記録媒体を印刷部に向けて供給する。
【先行技術文献】
【特許文献】
【0004】
特開2022-116603号公報
【発明の概要】
【発明が解決しようとする課題】
【0005】
特許文献1に示す印刷装置において、印刷対象となる記録媒体の幅サイズの変更等により新たな記録媒体に印刷処理を開始する際には、送り装置にセットした新たな記録媒体を引き出してその先端部を搬送ベルトに貼り付けて保持させる初期セット作業を行う。そして、この初期セット作業が完了した後に、前記送り装置、複数の搬送ローラー及び搬送ベルトを駆動して当該記録媒体を前記印刷部へと供給する。
【0006】
このとき、搬送ベルトに対する記録媒体の貼付け位置が所定位置よりも搬送幅方向にずれていると、記録媒体に対する印刷画像の位置がずれたり搬送中の記録媒体が蛇行して皺を生じたりすることで印刷不良が発生するという問題がある。
【0007】
本発明は、上記のような課題を解決するためになされたものであり、記録媒体の搬送幅方向の位置決め作業を容易に行うことができる印刷装置及び印刷方法を提供することを目的とする。
【課題を解決するための手段】
【0008】
本発明の一局面に係る印刷装置は、記録媒体を搬送方向に搬送する搬送部と、前記搬送部により搬送される前記記録媒体に対して印刷処理を行う印刷部と、前記搬送部にライン光を照射することが可能な光照射部と、を備え、前記搬送部は、前記印刷部よりも前記搬送方向の上流側において該搬送方向に互いに間隔を空けて配置され、前記搬送方向に直交する幅方向に延びる軸線回りに回転することで前記記録媒体を搬送する複数の回転部を含み、前記光照射部は、前記複数の回転部に跨がるように前記ライン光を照射し、前記複数の回転部の外表面に当該ライン光による基準線を示す。
【0009】
本発明の他の局面に係る印刷方法は、記録媒体を搬送方向に搬送する搬送部と、前記搬送部により搬送される前記記録媒体に対して印刷処理を行う印刷部と、前記搬送部にライン光を照射することが可能な光照射部とを備えていて、前記搬送部が、前記印刷部よりも前記搬送方向の上流側において該搬送方向に互いに間隔を空けて配置され且つ前記搬送方向に直交する幅方向に延びる軸線回りに回転することで前記記録媒体を搬送する複数の回転部を含んで構成される印刷装置による印刷方法であって、前記光照射部によって、前記複数の回転部に跨がるように前記ライン光を照射し、前記複数の回転部の外表面に当該ライン光による基準線を示す工程と、前記複数の回転部のうち、第1の回転部の外表面に示された前記基準線と、第2の回転部の外表面に示された前記基準線とを基準にして、前記第1の回転部から前記第2の回転部に跨って前記記録媒体の前記幅方向の位置決めを行なう工程と、を備える印刷方法。
【発明の効果】
【0010】
本発明によれば、記録媒体の搬送幅方向の位置決め作業を容易に行うことが可能な印刷装置及び印刷方法が提供される。
【図面の簡単な説明】
(【0011】以降は省略されています)
この特許をJ-PlatPat(特許庁公式サイト)で参照する
関連特許
京セラ株式会社
光学系
1か月前
京セラ株式会社
配線基板
1か月前
京セラ株式会社
蓄電装置
1か月前
京セラ株式会社
配線基板
1か月前
京セラ株式会社
アイソレータ
2日前
京セラ株式会社
振動検出方法
3日前
京セラ株式会社
粒子分離装置
1か月前
京セラ株式会社
静圧気体軸受装置
1か月前
京セラ株式会社
光センサモジュール
18日前
京セラ株式会社
光センサモジュール
18日前
京セラ株式会社
コネクタ及び取付方法
1か月前
京セラ株式会社
走査装置及び制御装置
1か月前
京セラ株式会社
走査装置及び制御装置
1か月前
京セラ株式会社
印刷装置及び印刷方法
23日前
京セラ株式会社
予測装置及び予測方法
26日前
京セラ株式会社
積層セラミック電子部品
24日前
京セラ株式会社
流路デバイスの準備方法
1か月前
京セラ株式会社
太陽電池付きカーポート
1か月前
京セラ株式会社
太陽電池付きカーポート
1か月前
京セラ株式会社
差動信号フィルタデバイス
10日前
京セラ株式会社
差動信号フィルタデバイス
10日前
京セラ株式会社
電磁波検出装置及び制御装置
1か月前
京セラ株式会社
受電装置及び光給電システム
1か月前
京セラ株式会社
光集積回路及び光トランシーバ
1か月前
京セラ株式会社
配線基板及びLEDモジュール
23日前
京セラ株式会社
端子、端子部材および電気機器
18日前
京セラ株式会社
端子、端子部材および電気機器
16日前
京セラ株式会社
電子デバイス及び電子モジュール
23日前
京セラ株式会社
積層セラミック電子部品の製造方法
2日前
京セラ株式会社
光センサおよび光センサの製造方法
1か月前
京セラ株式会社
電子機器、制御方法、及びプログラム
3日前
京セラ株式会社
分析システム、分析装置、及び分析方法
23日前
京セラ株式会社
揺動装置、電磁波照射装置、及び制御装置
1か月前
京セラ株式会社
光センサおよびこれを備えた画像形成装置
18日前
京セラ株式会社
ホルダ、切削工具、及び切削加工物の製造方法
1か月前
京セラ株式会社
太陽光発電システム及び太陽電池付きカーポート
1か月前
続きを見る
他の特許を見る