TOP
|
特許
|
意匠
|
商標
特許ウォッチ
Twitter
他の特許を見る
10個以上の画像は省略されています。
公開番号
2025162908
公報種別
公開特許公報(A)
公開日
2025-10-28
出願番号
2024066410
出願日
2024-04-16
発明の名称
太陽光発電システム及び太陽電池付きカーポート
出願人
京セラ株式会社
代理人
個人
,
個人
,
個人
主分類
E04D
13/18 20180101AFI20251021BHJP(建築物)
要約
【課題】簡素な構成で防火性能を向上させる。
【解決手段】太陽光発電システム10は複数の太陽電池モジュール14と第1の支持部材15とカバー部材16とを有する。太陽電池モジュール14は矩形の板状である。太陽電池モジュール14は第1の方向及び第2の方向に沿って並んで位置する。第1の支持部材15は第1の方向に延在する。第1の支持部材15は太陽電池モジュール14の外縁及び間隙を覆いながら太陽電池モジュール14を支持する。カバー部材16は第2の方向に沿って第1の支持部材15から延在する。カバー部材16は太陽電池モジュール14の外縁及び間隙を受光面lrsの裏側から覆う。
【選択図】図2
特許請求の範囲
【請求項1】
それぞれが矩形の板状であり、第1の方向及び該第1の方向に垂直な第2の方向に沿って並んで位置する複数の太陽電池モジュールと、
前記第1の方向に延在し、前記第2の方向において互いに隣接する2つの前記太陽電池モジュールの互いに対向する外縁及び該外縁に挟まれる間隙を、前記太陽電池モジュールの受光面の裏側から覆いながら、前記複数の太陽電池モジュールの少なくとも一部を支持する第1の支持部材と、
前記第2の方向に沿って前記第1の支持部材から延在し、前記第1の方向において互いに隣接する2つの前記太陽電池モジュールの互いに対向する外縁及び該外縁に挟まれる間隙を、前記受光面の裏側から覆う金属製のカバー部材と、を備える
太陽光発電システム。
続きを表示(約 1,700 文字)
【請求項2】
請求項1に記載の太陽光発電システムにおいて、
前記太陽電池モジュールにおける、前記受光面の裏側の少なくとも一部は、前記カバー部材から露出している
太陽光発電システム。
【請求項3】
請求項1又は2に記載の太陽光発電システムにおいて、
前記太陽電池モジュールは、矩形のパネル部、及び該パネル部の外縁を囲うフレーム部を有し、
前記フレーム部は、前記パネル部の側面を囲う側面部と、前記受光面の裏側において前記側面部から前記パネル部側に鍔状に突出する底面部とを有し、
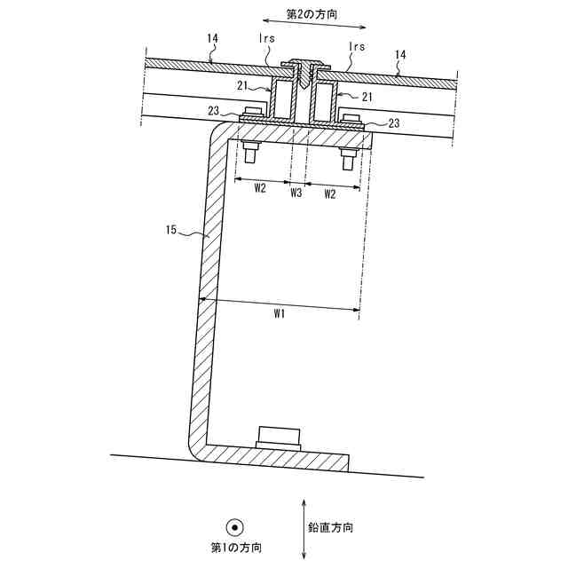
前記第1の方向における前記カバー部材の幅は、該カバー部材が覆う間隙を画定する2つの前記太陽電池モジュールにおいて互いに隣合うそれぞれの前記底面部の前記第1の方向における幅と、当該間隙の前記第1の方向における幅の総和より長い
太陽光発電システム
【請求項4】
請求項3に記載の太陽光発電システムにおいて、
前記カバー部材は、前記底面部に接触している
太陽光発電システム。
【請求項5】
請求項3に記載の太陽光発電システムにおいて、
前記底面部は、前記パネル部の表面との間に間隙を有し、
前記カバー部材は、前記受光面に平行な平板状の第1の部分、及び該第1の部分の前記第1の方向における両側の少なくとも一方の端において前記パネル部側に立設する板状の第2の部分を有し、
前記第2の部分は、前記底面部を超えて、前記パネル部との間に間隙を有するように終端する
太陽光発電システム。
【請求項6】
請求項5に記載の太陽光発電システムにおいて、
前記第2の方向における前記第1の支持部材の幅は、該第1の支持部材が覆う間隙を画定する2つの前記太陽電池モジュールにおいて互いに隣合うそれぞれの前記底面部の前記第2の方向における幅と、該間隙の前記第2の方向における幅との総和より長く、
前記底面部における前記第1の支持部材に沿って延在する部分の前記第1の方向における両端に、切欠きが形成され、
前記カバー部材は、前記第2の方向において前記受光面から見て、前記切欠きの内部で終端する
太陽光発電システム。
【請求項7】
請求項5に記載の太陽光発電システムにおいて、
前記第1の部分は、第2の方向の端部において、前記フレーム部及び前記第1の支持部材の挟持により固定される
太陽光発電システム。
【請求項8】
請求項3に記載の太陽光発電システムにおいて、
前記カバー部材は、前記フレーム部よりも高い融点である重金属を主成分とする金属によりなる
太陽光発電システム。
【請求項9】
請求項3に記載の太陽光発電システムにおいて、
前記フレーム部には、前記パネル部の外縁に沿った筒部が、前記側面部の一部及び底面部の一部を用いて、前記パネル部よりも前記底面部側に形成され、
前記筒部を形成する前記底面部は、第1の孔部を有し、
前記カバー部材は、前記受光面の法線方向から見て、前記第1の孔部と少なくとも一部が重なる第2の孔部を有する
太陽光発電システム。
【請求項10】
請求項1又は2に記載の太陽光発電システムである第1の太陽光発電システム及び第2の太陽光発電システムを、備え、
前記第1の太陽光発電システム及び前記第2の太陽光発電システムの間には、前記太陽電池モジュールの前記第2の方向における長さの2倍未満の間隔が設けられ、
前記第1の太陽光発電システムの発電部は、前記第2の太陽光発電システムから離れるほど水平面との間隔が小さくなるように傾斜し、
前記第2の太陽光発電システムの発電部は、前記第1の太陽光発電システムから離れるほど水平面との間隔が小さくなるように傾斜する
太陽電池付きカーポート。
(【請求項11】以降は省略されています)
発明の詳細な説明
【技術分野】
【0001】
本発明は、太陽光発電システム及び太陽電池付きカーポートに関するものである。
続きを表示(約 2,800 文字)
【背景技術】
【0002】
多様な建造物の屋上に太陽電池を設置することが提案されている。建造物としてカーポートに太陽電池を設置することも検討されている。太陽電池付きカーポートには、例えば、防火地域又は準防火地位置等に設置する場合に、所定の防火性能が求められる。例えば、金属製の折板構造を有する屋根の上に太陽電池モジュールを設置した構成は、当該防火性能を満たせる可能性がある(特許文献1参照)。
【先行技術文献】
【特許文献】
【0003】
特開2013―083076号公報
【発明の概要】
【発明が解決しようとする課題】
【0004】
本開示の目的は、簡素な構造で防火性能を向上させた太陽光発電システム及び太陽電池付きカーポートを提供することである。
【課題を解決するための手段】
【0005】
第1の観点による太陽光発電システムは、
それぞれが矩形の板状であり、第1の方向及び該第1の方向に垂直な第2の方向に沿って並んで位置する複数の太陽電池モジュールと、
前記第1の方向に延在し、前記第2の方向において互いに隣接する2つの前記太陽電池モジュールの互いに対向する外縁及び該外縁に挟まれる間隙を、前記太陽電池モジュールの受光面の裏側から覆いながら、前記複数の太陽電池モジュールの少なくとも一部を支持する第1の支持部材と、
前記第2の方向に沿って前記第1の支持部材から延在し、前記第1の方向において互いに隣接する2つの前記太陽電池モジュールの互いに対向する外縁及び該外縁に挟まれる間隙を、前記受光面の裏側から覆う金属製のカバー部材と、を備える。
【0006】
第2の観点による太陽電池付きカーポートは、
それぞれが矩形の板状であり、第1の方向及び該第1の方向に垂直な第2の方向に沿って並んで位置する複数の太陽電池モジュールと、前記第1の方向に延在し、前記第2の方向において互いに隣接する2つの前記太陽電池モジュールの互いに対向する外縁及び該外縁に挟まれる間隙を、前記太陽電池モジュールの受光面の裏側から覆いながら、前記複数の太陽電池モジュールの少なくとも一部を支持する第1の支持部材と、前記第2の方向に沿って前記第1の支持部材から延在し、前記第1の方向において互いに隣接する2つの前記太陽電池モジュールの互いに対向する外縁及び該外縁に挟まれる間隙を、前記受光面の裏側から覆う金属製のカバー部材と、を有する太陽光発電システムである第1の太陽光発電システム及び第2の太陽光発電システムを、備え、
前記第1の太陽光発電システム及び前記第2の太陽光発電システムの間には、前記太陽電池モジュールの前記第2の方向における長さの2倍未満の間隔が設けられ、
前記第1の太陽光発電システムの発電部は、前記第2の太陽光発電システムから離れるほど水平面との間隔が小さくなるように傾斜し、
前記第2の太陽光発電システムの発電部は、前記第1の太陽光発電システムから離れるほど水平面との間隔が小さくなるように傾斜する
【0007】
第3の観点による太陽光発電システムは、
それぞれが矩形の板状であり、第1の方向及び該第1の方向に垂直な第2の方向に沿って並んで位置する複数の太陽電池モジュールと、
前記第1の方向に延在し、前記第2の方向において互いに隣接する2つの前記太陽電池モジュールの互いに対向する外縁及び該外縁に挟まれる間隙を、前記太陽電池モジュールの受光面の裏側から覆いながら、前記複数の太陽電池モジュールの少なくとも一部を支持する第1の支持部材と、
前記第2の方向に沿って前記第1の支持部材から延在し、前記第1の方向において互いに隣接する2つの前記太陽電池モジュールの互いに対向する外縁及び該外縁に挟まれる間隙を、前記受光面の裏側から覆う金属製のカバー部材と、を備え、
前記太陽電池モジュールは、矩形のパネル部、及び該パネル部の外縁を囲うフレーム部を有し、
前記フレーム部は、前記パネル部の側面を囲う側面部と、前記受光面の裏側において前記側面部から前記パネル部側に鍔状に突出する底面部とを有し、
前記第1の方向における前記カバー部材の幅は、該カバー部材が覆う間隙を画定する2つの前記太陽電池モジュールにおいて互いに隣合うそれぞれの前記底面部の前記第1の方向における幅と、当該間隙の前記第1の方向における幅の総和より長く、
前記カバー部材は、前記底面部に接触し、
前記底面部は、前記パネル部の表面との間に間隙を有し、
前記カバー部材は、前記受光面に平行な平板状の第1の部分、該第1の部分の前記第1の方向における両側の少なくとも一方の端において前記パネル部側に立設する板状の第2の部分を有し、
前記第2の部分は、前記底面部を超えて、前記パネル部との間に間隙を有するように終端し、
前記第1の部分は、第2の方向における端部において、前記フレーム部及び前記第1の支持部材の挟持により固定される。
【発明の効果】
【0008】
本開示によれば、簡素な構造で防火性能が向上する。
【図面の簡単な説明】
【0009】
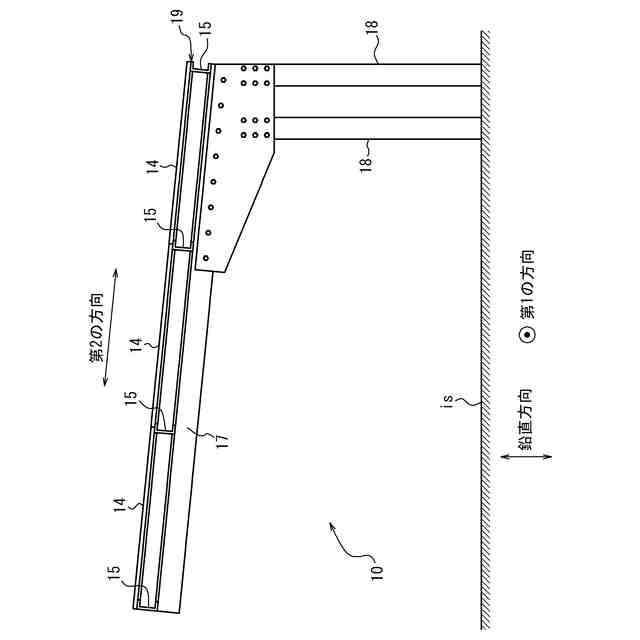
一実施形態に係る太陽光発電システムを含む太陽電池付きカーポートを設置面に設置した状態で第1の方向から見た図である。
図1の太陽光発電システムから第2の支持部材及び柱部材を外して受光面の裏側から見た下面図である。
図1の第1の太陽光発電システム及び第2の太陽光発電システムである太陽光発電システムの第1の方向から見た図である。
図3の発電部を受光面の法線方向から見た図である。
図4の太陽電池モジュールの外観斜視図である。
図5をVI-VI断面で切断した断面図である。
図5の太陽電池モジュールを受光面の裏側から見た図である。
図2の太陽光発電システムを第1の方向に垂直な平面で切断した第1の支持部材近傍の部分断面図である。
図2の太陽光発電システムを第2の方向に垂直な平面で切断したカバー部材近傍の部分断面図である。
図2の太陽光発電システムにおける一部のパネル部を除いた斜視図である。
図1の太陽電池付きカーポートを鉛直上方から見た図である。
【発明を実施するための形態】
【0010】
以下、本開示の実施形態について、図面を参照して説明する。以下の図面に示す構成要素において、同じ構成要素には同じ符号を付す。
(【0011】以降は省略されています)
この特許をJ-PlatPat(特許庁公式サイト)で参照する
関連特許
個人
安心補助てすり
1か月前
個人
免震建築構造
7日前
個人
防災建築物
1か月前
個人
住宅の省エネ方法
3日前
株式会社フジタ
合成床
7日前
株式会社シンケン
住宅
1か月前
三洋工業株式会社
床構造
1か月前
株式会社大林組
接合構造
1か月前
三協立山株式会社
構造体
1か月前
三協立山株式会社
構造体
1か月前
三協立山株式会社
構造体
1か月前
鹿島建設株式会社
接合構造
1か月前
岡部株式会社
柱梁接合構造
22日前
ミサワホーム株式会社
住宅
1か月前
鹿島建設株式会社
補強構造
7日前
ミサワホーム株式会社
玄関
1か月前
株式会社 シコク
手摺り装置
1か月前
株式会社タカショー
塀
1か月前
株式会社オカムラ
移動式什器
1か月前
株式会社タカショー
塀
1か月前
日精株式会社
機械式駐車装置
1か月前
極東開発工業株式会社
駐車装置
1か月前
ミサワホーム株式会社
床パネル
1日前
積水ハウス株式会社
建築物
1か月前
個人
木造建築物の建築方法
28日前
理研軽金属工業株式会社
庇
23日前
積水ハウス株式会社
建築物
23日前
積水ハウス株式会社
建築物
14日前
株式会社オカムラ
パーティション
1か月前
理研軽金属工業株式会社
庇
15日前
株式会社オカムラ
パーティション
1か月前
大和ハウス工業株式会社
木質耐力壁
1日前
株式会社大林組
スロープ構造
1か月前
個人
構造体および構造体の構築方法
7日前
大和ハウス工業株式会社
建物
1日前
ミサワホーム株式会社
耐火外壁構造
1日前
続きを見る
他の特許を見る