TOP
|
特許
|
意匠
|
商標
特許ウォッチ
Twitter
他の特許を見る
公開番号
2025167505
公報種別
公開特許公報(A)
公開日
2025-11-07
出願番号
2024072200
出願日
2024-04-26
発明の名称
塀
出願人
株式会社タカショー
代理人
個人
,
個人
主分類
E04H
17/14 20060101AFI20251030BHJP(建築物)
要約
【課題】軽量で施工性に優れるとともに、意匠性に富んだ塀を提供することを目的としている。
【解決手段】塀本体3を有し、この塀本体3が、骨組み5と、この骨組み5の周囲を囲繞する発泡樹脂層6と、この発泡樹脂層6を外側から保護する保護被覆層7を備え、塀本体3が、少なくとも湾曲構造部11を備え、前記湾曲構造部11の発泡樹脂層6の表面が、湾曲形状をしていて、湾曲構造部11の保護被覆層7がほぼ等厚みで発泡樹脂層6の表面の湾曲形状に沿う湾曲形状をしている。
【選択図】 図2
特許請求の範囲
【請求項1】
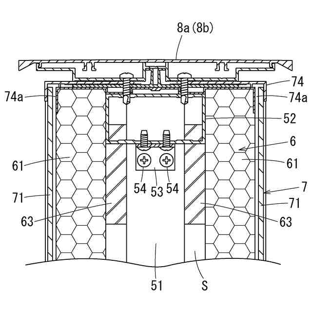
塀本体を有し、この塀本体が、骨組みと、この骨組みの周囲を囲繞する発泡樹脂層と、この発泡樹脂層を外側から保護する保護被覆層を備える塀であって、
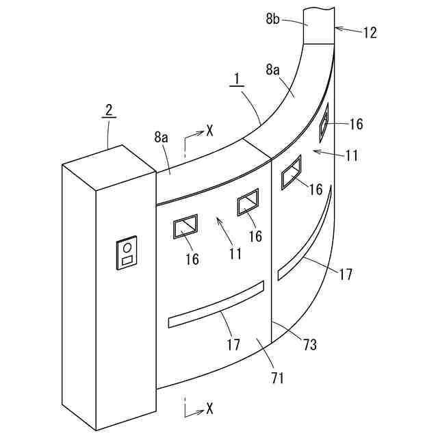
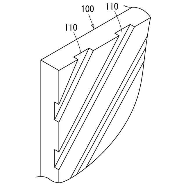
前記塀本体が、少なくとも湾曲構造部あるいは表面凹凸構造部を備え、
前記湾曲構造部あるいは表面凹凸構造部の前記発泡樹脂層の表面が、湾曲形状または凹凸形状をしていて、前記湾曲構造部あるいは表面凹凸構造部の前記保護被覆層がほぼ等厚みで前記発泡樹脂層の表面の湾曲形状または凹凸形状に沿う湾曲形状または凹凸形状をしていることを特徴とする塀。
続きを表示(約 240 文字)
【請求項2】
前記湾曲構造部あるいは表面凹凸構造部の前記保護被覆層が、前記発泡樹脂層の表面形状に沿う形状に変形可能な材料を前記発泡樹脂部に沿って添設されて形成されている請求項1に記載の塀。
【請求項3】
保護被覆層が、プラスチック系薄膜、木質系薄膜、無機材料系薄膜、壁紙材、およびこれらの複合材料のいずれかで形成されている請求項1または請求項2に記載の塀。
【請求項4】
前記保護被覆層表面に化粧層が積層されている請求項1または請求項2に記載の塀。
発明の詳細な説明
【技術分野】
【0001】
本発明は、塀に関する。
続きを表示(約 1,400 文字)
【背景技術】
【0002】
塀としてコンクリートブロック塀(以下、「ブロック塀」とのみ記す)が一般に用いられているが、モルタル等の接着剤で固定しただけでは、地震などにより塀が倒壊しやすく危険であるので、日本においては、JIS規格を満たす鉄筋を横方向および縦方向に所定の間隔で配筋することが義務化されている。
また、塀の高さが高くなると、控え壁などを設ける必要も出てくる。
【0003】
すなわち、コンクリートブロックは、1個につき、10kg以上の重量があり、倒壊により、下敷きになると、死に到るおそれがある。
しかし,老朽化すると、上記基準を満たしたブロック塀であっても鉄筋が錆びて所定の強度が保てなくなったり、ブロック自体に亀裂が入ったりして、地震の発生により倒壊のおそれは十分にある。
【0004】
そこで、樹脂発泡体製のブロックが提案されている(特許文献1)。
樹脂発泡体製のブロックは、軽量であり、積み上げ施工性に優れているとともに、倒壊にして下敷きになっても大きな怪我を招くおそれが少なくなる。
【先行技術文献】
【特許文献】
【0005】
特開2003-34995号公報
【発明の概要】
【発明が解決しようとする課題】
【0006】
しかしながら、上記樹脂発泡体製のブロックの場合、軽量で積み上げやすいが、従来のコンクリートブロックと同様に高所まで配筋し、少なくとも配筋部分にモルタルを充填する必要があり、熟練が必要で施工性の点で問題が残っている。
また、樹脂発泡体製のブロックは異型のため、特殊な金型を必要とする、あるいは、成形後に別途加工を施す必要があるなど、製造コストがかかる。
【0007】
しかも、成形後に加工する場合、コンクリートブロックの厚みにあわせる必要があるため、現場加工しづらいという問題や凹凸形状や湾曲形状にすることも難しく意匠性の点でも問題がある。
【0008】
本発明は、上記事情に鑑みて、軽量で施工性に優れるとともに、意匠性に富んだ塀を提供することを目的としている。
【課題を解決するための手段】
【0009】
上記目的を達成するために、本発明にかかる塀は、塀本体を有し、この塀本体が、骨組みと、この骨組みの周囲を囲繞する発泡樹脂層と、この発泡樹脂層を外側から保護する保護被覆層を備える塀であって、前記塀本体が、少なくとも湾曲構造部あるいは表面凹凸構造部を備え、前記湾曲構造部あるいは表面凹凸構造部の前記発泡樹脂層の表面が、湾曲形状または凹凸形状をしていて、前記湾曲構造部あるいは表面凹凸構造部の前記保護被覆層がほぼ等厚みで前記発泡樹脂層の表面の湾曲形状または凹凸形状に沿う湾曲形状または凹凸形状をしていることを特徴とする。
【0010】
本発明において、ほぼ等厚みとは、概ね同じ厚みであるが、製作誤差程度の厚み誤差を含むことを意味する。
本発明の塀は、湾曲構造部あるいは表面凹凸構造部だけでなく、湾曲構造部と表面凹凸構造部とを並べて配置する、これらに表面が平滑な平面構造部を並べて配置される場合もある。
(【0011】以降は省略されています)
この特許をJ-PlatPat(特許庁公式サイト)で参照する
関連特許
個人
接合構造
2か月前
個人
タッチミー
2か月前
個人
屋台
2か月前
個人
野良猫ハウス
3か月前
個人
安心補助てすり
1か月前
個人
フェンス
3か月前
個人
転落防止用手摺
2か月前
個人
筋交自動設定装置
2か月前
積水樹脂株式会社
柵体
2か月前
個人
居住車両用駐車場
3か月前
個人
ベンリナアングル
2か月前
ニチハ株式会社
建築板
3か月前
個人
熱抵抗多層断熱建材
3か月前
個人
免震建築構造
1日前
個人
補強部材
3か月前
個人
身体用シェルター
2か月前
株式会社フジタ
合成床
1日前
成友建設株式会社
建物
3か月前
株式会社シンケン
住宅
1か月前
個人
防災建築物
1か月前
鹿島建設株式会社
壁体
3か月前
個人
身体用シェルター
2か月前
三洋工業株式会社
床構造
1か月前
個人
可搬型供養墓
2か月前
三協立山株式会社
構造体
29日前
三協立山株式会社
構造体
2か月前
株式会社大林組
接合構造
1か月前
三協立山株式会社
構造体
1か月前
三協立山株式会社
構造体
2か月前
三協立山株式会社
構造体
2か月前
三協立山株式会社
構造体
2か月前
三協立山株式会社
構造体
2か月前
株式会社熊谷組
吊り治具
2か月前
株式会社熊谷組
床構成材
1か月前
株式会社熊谷組
木質材料
2か月前
三協立山株式会社
構造体
24日前
続きを見る
他の特許を見る