TOP
|
特許
|
意匠
|
商標
特許ウォッチ
Twitter
他の特許を見る
公開番号
2025141729
公報種別
公開特許公報(A)
公開日
2025-09-29
出願番号
2024060482
出願日
2024-03-14
発明の名称
筋交自動設定装置
出願人
個人
代理人
主分類
E04H
9/02 20060101AFI20250919BHJP(建築物)
要約
【課題】経費が安価で、簡単に倒壊の補強に最重要既設柱、建物に設備する外付け自動筋交装置を提供する。
【解決手段】自動筋交装置は、揺れ振動による損害の防止に柱・建物に設置し、揺れ振動を感知すると自動筋交装置の開始システムにより、筋交適正角度となる作動定位置に着台する。
【選択図】図5
特許請求の範囲
【請求項1】
本発明の自動筋交装置は、柱・建物に設置し揺れ振動による損害の防止にこれらの建物にセットそれを感知し自動筋交装置の開始システムにより筋交適正角度に作動定位置に着台するものであり他の建物にこの自動筋交装置を適用する。
続きを表示(約 390 文字)
【請求項2】
揺れ振動の感知システム作動は、提示既設柱において設置を示した図であり[符号の説明][図1]より[図6]に提示するが本自動筋交装置の設置には柱と対角対面に設置とする。
【請求項3】
(イ)本自動筋交装置のセンサ―と作動スイッチ3系統で自動筋交装置開始
1,振動揺れ感知球の落下でセンサ―接触通電と落下球重力にてテコ2系統スイッチオン
2,通電スイッチ
3,梃子式ロック鍵解除
(ロ)筋交装置完了後
1,バネの圧縮解除後電磁スイッチへの電流自動止めスイッチ
【請求項4】
自動筋交装置柱の設置は対面以外の筋交機能効果角度。
【請求項5】
自動筋交装置の付帯筋交材は対物建物により木材以外の部材。
【請求項6】
対象建物の形状使用目的で本自動筋交装置に変更する部位。
発明の詳細な説明
【技術分野】
【0001】
本発明は、建物の柱等の補強と建築物の補強に寄与する耐震筋交柱等に設置する自動筋交装置である。
続きを表示(約 2,600 文字)
【背景技術】
【0002】
従来からの軸組建築家屋は、壁面が極端に少くその柱に集中した大重力よりすぐに家屋の倒壊が実証され耐震構造改良が行われているが一方その軸組家屋は非常に多く耐震、制震工事には多額の費用のため躊躇している現状で本発明の筋交自動柱装置柱は簡単に設置でき家屋内の収納物も移動の必要が無く外付既設柱補強利点は突張り筋交的方法では軒下の通路家屋の外観など損なうが平時には既設柱にセットしており地震など振動感知と同時に筋交自動装置が筋交機能を発揮し既設柱の補強で耐震効果得る。
【先行技術文献】
【0003】
【発明の概要】
【発明が解決しようとする課題】
【0004】
これは次のような欠点があった。
(イ)軸組構造建築は室内空間が多く壁面が多くなく柱と梁の接合部へ揺れ振動がこの柱部に集中し強化が最重要であるが現在大規模耐震工事には屋根下の柱間の部位建築物大半の取換になり経費、期間が多額となっている
(ロ)大規模耐震補強が行われても屋根等の重力負担は既設柱に変わらずその対策として経費、工事期間節約で重要柱の補強を先にすることに筋交柱自動装置を開発した。
(ハ)筋交の一般的には、柱に筋交を付ける場合筋交角度の関係で対面既柱の外側になり軒下の通路、家屋の外観を損なうので平時は既設柱とセットにして置き振動揺れを発生の場合即筋交柱は所定の位置に入る。
【問題を解決するための手段】
【0005】
大規模耐震改良工事でも既設柱の補強は基本的には出来ておらず既設柱の補強は振動揺れに既設柱の強度の増加を本発明の筋交自動設定装置で実施する。
【発明の効果】
【0006】
本発明により既設柱の強度増加による揺れ振動の制震強化と本筋交自動設定装置の対面柱に設置すると制震効果は大幅に増加出来る。
【図面の簡単な説明】
【0007】
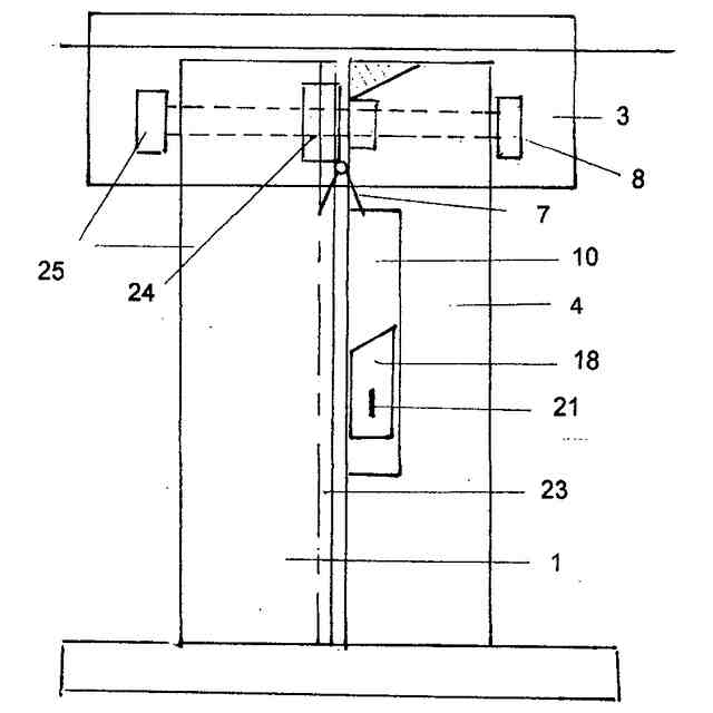
軸組み在来構造家屋柱の外付け補強自動筋交装置のセット横面図
既設柱と本自動筋交柱の正面図
本自動装置を筋交柱の横付け筋交柱作動斜面図
既設柱と本筋交柱の接合と機能斜面図
既設柱と本筋交柱の正面セットに筋交自動装置を付帯横面図
本自動筋交装置正面図
【本発明を実施する形態】
【0008】
以下、発明を実施する形態について説明。
軸組建築家屋での耐震大規模改造には家屋の内部の取換と家屋内設備品などの整理と多大な経費負担につき多くの家は躊躇している現状につき当該家屋の欠点である柱の補強が最重要に付安価、工期、家屋内の取換不要で柱の補強に外付け筋交柱自動装置の開発をした経緯であり既耐震制震工事済でも柱の補強は殆ど無く本発明の外付け筋交自動装置は設置柱の対面対角にする事で家の倒壊防止に補強が発揮でき平時には既設柱にセットされ軒下の空間確保と家屋の景観にも害されないメリットを有する。
【符号の説明】
【0009】
[図1]軸組み在来構造家屋柱の外付け補強自動筋交装置のセット横面図
1,軸組構造従来家屋の既設柱
2梁
3,既設柱に自動筋交柱の上部をセットした鉄製箱
4,既設柱に自動筋交柱をセット
5,既設柱に自動筋交柱装置付き筋交柱
6,自動筋交柱
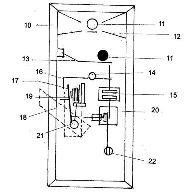
[図2]既設柱と本自動筋交柱の正面図
7,筋柱の接合開閉時の横ブレ防止・筋交柱の角度設定蝶番
8,既設柱と自動筋交柱の結合メインボルト
9,既設柱と筋交柱の開閉ボルトの位置変更に対応蝶番
10,筋交自動セット装置収納箱
11,振動感知球(鉄球)
12,振動感知球セット台・振動感知電極接触バネ
13,振動により球の落下力を伝えるテコ台
14,落下力を同時に図右側電磁スイッチオンと左側テコ板ロック解放
15,電磁スイッチ入りによりテコバネの解放の予備機能
16,テコ板バネロックと解除
17,バネのロック
18,筋交柱を既設柱より筋交角度に上げア―ムテコ
19,筋交柱を筋交角度に設定板バネに電磁スイッチに連結テコ板
20,筋交柱がセット完了と同時電源切スイッチ
21,バネ・ア―ムテコの取付台
22,電磁スイッチ電源用コンセット
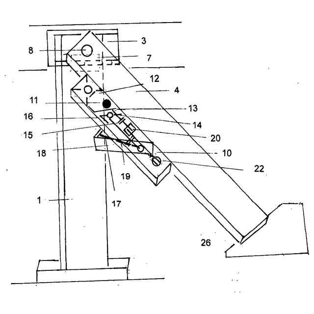
[図3]本筋交自動装置を筋交柱の横付け筋交柱作動斜図
10,筋交柱に自動筋交装置を横付け既設柱にセット
11,感知センサ―球が振動感知により受け台より落下
12,センサ―球が4枚の感知バネに接触電磁スイッチに電流が入る
13,振動により落下球はスイッチ誘導板で2系統スイッチのテコ板に当たる
14,落下力を同時に半回転軸テコ板に落とし左右のテコ板より2系統のスイッチ電磁スイッチオンとテコ鍵を解除
15,電磁スイッチ
16,圧縮バネの開除鍵部
17,圧縮バネの開除位置
18,自動筋交柱か筋交機能角度に上げるテコアーム機
19,板バネ・コイルバネが電磁スイッチに電流止め信号を伝達テコア―ム
20,電磁スイッチオンを圧縮バネ解除時を電流を止める
21バネ・テコアーム設置台
22,電磁スイッチ電源コンセット
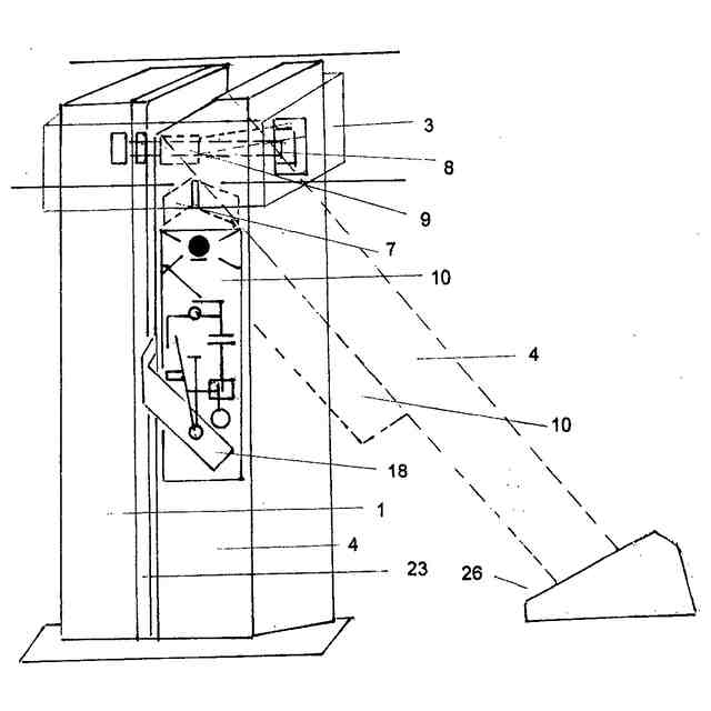
[図4]既柱と本筋交柱の接合と機能
3,既設柱と自動筋交開閉柱の上部収納機軸セット鉄制箱
4,同筋交柱が振動を感知して筋交機能角度に定着
7,同筋交柱が既設柱と対面対角が条件と横ぶれ防止の蝶番
8,既設柱と本筋交柱のセット主ボルト
9,既設柱と本筋交柱にセット主ボルト角度調整智蝶番
10,本筋交自動装置収納箱
23,既設柱に本自動筋交柱装置設置に主ボルト貫通不能時3の収納基軸セット箱に固定
26,本筋交柱の設置台
[図5]既設柱と本筋交柱の正面セットの筋交自動装置を付帯横面図
1,既設柱
3,自動筋交柱上部セット鉄製箱
この特許をJ-PlatPat(特許庁公式サイト)で参照する
関連特許
個人
接合構造
1か月前
個人
タッチミー
1か月前
個人
屋台
2か月前
個人
転落防止用手摺
2か月前
個人
安心補助てすり
27日前
積水樹脂株式会社
柵体
2か月前
個人
ベンリナアングル
1か月前
個人
筋交自動設定装置
1か月前
個人
身体用シェルター
1か月前
個人
防災建築物
1か月前
株式会社シンケン
住宅
28日前
個人
身体用シェルター
1か月前
三協立山株式会社
構造体
1か月前
三洋工業株式会社
床構造
28日前
三協立山株式会社
構造体
7日前
三協立山株式会社
構造体
1か月前
三協立山株式会社
構造体
1か月前
個人
可搬型供養墓
1か月前
三協立山株式会社
構造体
1か月前
三協立山株式会社
構造体
1か月前
三協立山株式会社
構造体
1か月前
株式会社大林組
接合構造
23日前
株式会社熊谷組
木質材料
2か月前
三協立山株式会社
構造体
28日前
三協立山株式会社
構造体
12日前
株式会社熊谷組
吊り治具
1か月前
イワブチ株式会社
組立柱
2か月前
株式会社熊谷組
床構成材
1か月前
ミサワホーム株式会社
住戸
1か月前
株式会社エフコンサルタント
面材
1か月前
ミサワホーム株式会社
建物
1か月前
ミサワホーム株式会社
玄関
12日前
ミサワホーム株式会社
住宅
20日前
鹿島建設株式会社
解体方法
1か月前
鹿島建設株式会社
制震架構
1か月前
鹿島建設株式会社
接合構造
28日前
続きを見る
他の特許を見る