TOP
|
特許
|
意匠
|
商標
特許ウォッチ
Twitter
他の特許を見る
10個以上の画像は省略されています。
公開番号
2025132121
公報種別
公開特許公報(A)
公開日
2025-09-10
出願番号
2024029481
出願日
2024-02-29
発明の名称
組立柱
出願人
イワブチ株式会社
代理人
個人
主分類
E04H
12/00 20060101AFI20250903BHJP(建築物)
要約
【課題】現場における組立作業性を向上させることができる組立柱を提供する。
【解決手段】12個の柱構成体11の内、先頭または後端の雄側の柱構成体11である雄側柱構成体11Mには、第2雄側柱構成体外周面11M2aと面一の外側雄結合部11eと第2雄側柱構成体外周面11M2cと面一の内側雄結合部11fを設ける一方、雌側の柱構成体11である雌側柱構成体11Fには、その第2雄側柱構成体外周面11M2aにおいて雄側柱構成体11Mの外側雄結合部11eが係合する結合用凹部11gとその第2雄側柱構成体外周面11M2cにおいて雄側柱構成体11Mの内側雄結合部11fが係合する結合用凹部11hを設け、雄側柱構成体11Mの外側雄結合部11eおよび内側雄結合部11fを、雌側柱構成体11Fの結合用凹部11gおよび結合用凹部11hに連結することより組立柱中央中空部13を有する柱材を形成する。
【選択図】図1
特許請求の範囲
【請求項1】
折り曲げ可能な可撓連結部を介して列状に連結された複数の中空の柱構成体をそれぞれの前記可撓連結部で折り曲げて連結した組立柱であって、
前記複数の柱構成体は、それぞれ、前記可撓連結部を介して隣接する他の柱構成体に連続する柱構成体外側面と、その柱構成体外側面の左右両側から垂れ下がる一対の柱構成体横側面と、その一対の柱構成体横側面下端から前記柱構成体外側面に対向するように設けられた柱構成体内側面とを有し、
前記複数の柱構成体の前記柱構成体横側面を外側にすると共に、前記柱構成体内側面を内側とし、かつ、隣接する各柱構成体の前記柱構成体横側面同士が密接するように前記可撓連結部にて時計回り方向または反時計回り方向のいずれか一方向に曲げることにより前記複数の柱構成体の前記柱構成体内側面によって囲まれた組立柱中央中空部が形成されることを特徴とする組立柱。
続きを表示(約 1,600 文字)
【請求項2】
請求項1記載の組立柱において、
前記複数の柱構成体の内、先端または後端の連結の際、雄側となる前記柱構成体には、雄結合部が設けられている一方、雌側となる前記柱構成体には、前記雄結合部に結合する雌結合部が設けられ、
前記雄結合部と前記雌結合部とを連結することより、前記複数の柱構成体が前記可撓連結部にて前記一方向に曲げながら前記柱構成体横側面を外側にすると共に、前記柱構成体内側面を内側とし、かつ、隣接する各柱構成体の前記柱構成体横側面同士が密接して前記組立柱中央中空部が形成されることを特徴とする組立柱。
【請求項3】
請求項2記載の組立柱において、
雄側となる前記柱構成体には、その柱構成体外周面と面一で延びる外側雄結合部と、その外側雄結合部から垂直に先太の茸形状に突出する垂直茸状係合突起が設けられている一方、その柱構成体内周面と面一で延びる内側雄結合部と、その内側雄結合部の先端部が三角形状の斜面のように傾斜した釣針形状係合突起が設けられ、
雌側となる前記柱構成体の前記柱構成体外周面には、雄側となる前記柱構成体の前記外側雄結合部の前記垂直茸状係合突起が嵌る垂直茸状係合凹部と、前記外側雄結合部が嵌る結合用凹部が設けられている一方、その前記柱構成体内周面には、雄側となる前記柱構成体の前記内側雄結合部の釣針形状係合突起が嵌る釣針形状係合凹部と、前記内側雄結合部が嵌る結合用凹部が設けられていることを特徴とする組立柱。
【請求項4】
請求項1~請求項3のいずれか一の請求項に記載の組立柱において、
前記複数の柱構成体の一対の柱構成体横側面には、それぞれ、隣接する他の柱構成体の柱構成体横側面に密接した際に互いに嵌合する凸部または凹部が設けられていることを特徴とする組立柱。
【請求項5】
請求項1記載の組立柱において、
前記複数の柱構成体の内、先端および後端の柱構成体は、それぞれ、先端および後端以外の柱構成体よりも高さがα/(α+β)の柱構成体と、β/(α+β)の柱構成体とにより構成されており、
前記複数の柱構成体の前記柱構成体横側面を外側にすると共に、前記柱構成体内側面を内側とし、かつ、隣接する各柱構成体の前記柱構成体横側面同士が密接するように前記可撓連結部にて時計回り方向または反時計回り方向のいずれか一方向に曲げることにより前記複数の柱構成体の前記柱構成体内側面によって囲まれた組立柱構成体中空部を形成した際、高さがα/(α+β)の一方の前記柱構成体と高さがβ/(α+β)の他方の前記柱構成体とは当該組立柱を組立てた際に半径方向に重なることを特徴とする組立柱。
【請求項6】
請求項5記載の組立柱において、
前記複数の柱構成体の内、高さがα/(α+β)の一方の前記柱構成体に前記可撓連結部を介して連結されている柱構成体には、雄結合部が設けられている一方、高さがβ/(α+β)の他方の前記柱構成体には、前記雄結合部に結合する雌結合部が設けられ、
前記雄結合部と前記雌結合部とを連結することより、前記複数の柱構成体が前記可撓連結部にて前記一方向に曲げながら前記柱構成体横側面を外側にすると共に、前記柱構成体内側面を内側とし、かつ、隣接する各柱構成体の前記柱構成体横側面同士が密接して前記組立柱中空部が形成されると共に、高さがα/(α+β)の一方の前記柱構成体と高さがβ/(α+β)の他方の前記柱構成体とは当該組立柱を組立てた際に半径方向に重なることを特徴とする組立柱。
【請求項7】
請求項5または請求項6に記載の組立柱において、
前記複数の柱構成体の一対の柱構成体横側面には、それぞれ、隣接する他の柱構成体の柱構成体横側面に密接した際に互いに嵌合する先太の茸形状の茸形状凸部または底広の茸形状の茸形状凹部が設けられていることを特徴とする組立柱。
発明の詳細な説明
【技術分野】
【0001】
本発明は、中空柱や配管等として使用可能な組立柱に関する。
続きを表示(約 4,000 文字)
【背景技術】
【0002】
各種の建設現場では、電柱、電信柱、さらには交通標識や配管等として、コンクリート製のコンクリート管(ヒューム管)から金属製の鋼管、さらには塩ビ等の樹脂製パイプ等、各種素材から形成した中空の組立柱が利用されているものの運搬や保管時等には柱構成体中空部の分だけ体積が大きくなり、運搬性や保管性が悪いため、運送時や保管時の効率性を向上させるため組立式の柱である組立柱が提案されている(例えば、特許文献1,2参照。)
【先行技術文献】
【特許文献】
【0003】
実公昭53―16821号公報
特公昭58―46994号公報
【発明の概要】
【発明が解決しようとする課題】
【0004】
しかしながら、上述の特許文献1,2の組立柱では、組立柱を構成する複数の縦材(特許文献2では、基材と称している。)が分割、つまり独立しており、それら複数の縦材を現場等で接合するため、現場における組立作業性が悪いという問題点があった。
【0005】
そこで、本発明は以上の問題点に着目してなされたもので、現場における組立作業性を向上させることができる組立柱を提供することを目的とする。
【課題を解決するための手段】
【0006】
上記課題を解決するため、本発明に係る組立柱は、折り曲げ可能な可撓連結部を介して列状に連結された複数の中空の柱構成体をそれぞれの前記可撓連結部で折り曲げて連結した組立柱であって、前記複数の柱構成体は、それぞれ、前記可撓連結部を介して隣接する他の柱構成体に連続する柱構成体外側面と、その柱構成体外側面の左右両側から垂れ下がる一対の柱構成体横側面と、その一対の柱構成体横側面下端から前記柱構成体外側面に対向するように設けられた柱構成体内側面とを有し、前記複数の柱構成体の前記柱構成体横側面を外側にすると共に、前記柱構成体内側面を内側とし、かつ、隣接する各柱構成体の前記柱構成体横側面同士が密接するように前記可撓連結部にて時計回り方向または反時計回り方向のいずれか一方向に曲げることにより前記複数の柱構成体の前記柱構成体内側面によって囲まれた組立柱中央中空部が形成されることを特徴とする。
また、本発明に係る組立柱では、前記複数の柱構成体の内、先端または後端の連結の際、雄側となる前記柱構成体には、雄結合部が設けられている一方、雌側となる前記柱構成体には、前記雄結合部に結合する雌結合部が設けられ、前記雄結合部と前記雌結合部とを連結することより、前記複数の柱構成体が前記可撓連結部にて前記一方向に曲げながら前記柱構成体横側面を外側にすると共に、前記柱構成体内側面を内側とし、かつ、隣接する各柱構成体の前記柱構成体横側面同士が密接して前記組立柱中央中空部が形成されることも特徴とする。
また、本発明に係る組立柱では、雄側となる前記柱構成体には、その柱構成体外周面と面一で延びる外側雄結合部と、その外側雄結合部から垂直に先太の茸形状に突出する垂直茸状係合突起が設けられている一方、その柱構成体内周面と面一で延びる内側雄結合部と、その内側雄結合部の先端部が三角形状の斜面のように傾斜した釣針形状係合突起が設けられ、雌側となる前記柱構成体の前記柱構成体外周面には、雄側となる前記柱構成体の前記外側雄結合部の前記垂直茸状係合突起が嵌る垂直茸状係合凹部と、前記外側雄結合部が嵌る結合用凹部が設けられている一方、その前記柱構成体内周面には、雄側となる前記柱構成体の前記内側雄結合部の釣針形状係合突起が嵌る釣針形状係合凹部と、前記内側雄結合部が嵌る結合用凹部が設けられていることも特徴とする。
また、本発明に係る組立柱では、前記複数の柱構成体の一対の柱構成体横側面には、それぞれ、隣接する他の柱構成体の柱構成体横側面に密接した際に互いに嵌合する凸部または凹部が設けられていることも特徴とする。
また、本発明に係る組立柱では、前記複数の柱構成体の内、先端および後端の柱構成体は、それぞれ、先端および後端以外の柱構成体よりも高さがα/(α+β)の柱構成体と、β/(α+β)の柱構成体とにより構成されており、前記複数の柱構成体の前記柱構成体横側面を外側にすると共に、前記柱構成体内側面を内側とし、かつ、隣接する各柱構成体の前記柱構成体横側面同士が密接するように前記可撓連結部にて時計回り方向または反時計回り方向のいずれか一方向に曲げることにより前記複数の柱構成体の前記柱構成体内側面によって囲まれた組立柱構成体中空部を形成した際、高さがα/(α+β)の一方の前記柱構成体と高さがβ/(α+β)の他方の前記柱構成体とは当該組立柱を組立てた際に半径方向に重なることも特徴とする。
また、本発明に係る組立柱では、前記複数の柱構成体の内、高さがα/(α+β)の一方の前記柱構成体に前記可撓連結部を介して連結されている柱構成体には、雄結合部が設けられている一方、高さがβ/(α+β)の他方の前記柱構成体には、前記雄結合部に結合する雌結合部が設けられ、前記雄結合部と前記雌結合部とを連結することより、前記複数の柱構成体が前記可撓連結部にて前記一方向に曲げながら前記柱構成体横側面を外側にすると共に、前記柱構成体内側面を内側とし、かつ、隣接する各柱構成体の前記柱構成体横側面同士が密接して前記組立柱中空部が形成されると共に、高さがα/(α+β)の一方の前記柱構成体と高さがβ/(α+β)の他方の前記柱構成体とは当該組立柱を組立てた際に半径方向に重なることも特徴とする。尚、上述のαとβは任意の自然数で、同じ自然数でも異なる自然数でもどちらでも良い。
また、本発明に係る組立柱では、前記複数の柱構成体の一対の柱構成体横側面には、それぞれ、隣接する他の柱構成体の柱構成体横側面に密接した際に互いに嵌合する先太の茸形状の茸形状凸部または底広の茸形状の茸形状凹部が設けられていることも特徴とする。
【発明の効果】
【0007】
本発明に係る組立柱は、折り曲げ可能な可撓連結部を介して列状に連結された一体成形の複数の柱構成体を可撓連結部にて時計回り方向または反時計回り方向のいずれか一方向に曲げながら複数の柱構成体の各柱構成体横側面を外側にすると共に、各柱構成体内側面を内側とし、かつ、隣接する各柱構成体の柱構成体横側面同士が密接すると、複数の柱構成体の柱構成体内側面によって囲まれた組立柱中央中空部が形成される。
そのた、現場で組立柱を形成する際は列状に連結された一体成形の複数の柱構成体を一方向に曲げて最後に両端部を留めることで完成するため、現場における組立柱の組立作業性を向上させることができる。
また、組立柱を形成する前は複数の柱構成体が可撓連結部を介して列状に連結された状態にあるため、運搬や保管時等には体積が小さくスペース効率が向上する。
さらに、組立柱を形成すると、複数の柱構成体の柱構成体横側面同士は密接すると共に、複数の柱構成体の柱構成体内側面によって囲まれた組立柱中央中空部が形成されるため、強度を向上させることができると共に、柱強度に関係する断面性能を断面係数で評価できる。
【図面の簡単な説明】
【0008】
本発明に係る実施形態1の組立柱の斜視図である。
本発明に係る実施形態1の組立柱の平面図である。
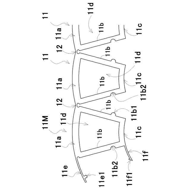
本発明に係る実施形態1の組立柱を展開した状態を示す平面図である。
本発明に係る実施形態1の組立柱の先端側となる雄側柱構成体等拡大して示す要部拡大平面図である。
本発明に係る実施形態1の組立柱の後端側となる雌側柱構成体等拡大して示す要部拡大平面図である。
本発明に係る実施形態1の組立柱の雄側柱構成体と雌側柱構成体とを連結する直前の状態を要部拡大平面図である。
本発明に係る実施形態1の組立柱の雄側柱構成体と雌側柱構成体とを連結した状態を示す要部拡大平面図である。
本発明に係る実施形態2の組立柱の斜視図である。
本発明に係る実施形態2の組立柱の平面図である。
本発明に係る実施形態2の組立柱を展開した状態を示す平面図である。
本発明に係る実施形態2の組立柱の先端側となる雄側柱構成体である第1雄側柱構成体と第2雄側柱構成体とを拡大して示す要部拡大平面図である。
本発明に係る実施形態2の組立柱の後端側となる雌側柱構成体である第1雌側柱構成体と第2雌側柱構成体とを拡大して示す要部拡大平面図である。
本発明に係る実施形態2の組立柱の第1雄側柱構成体と第2雄側柱構成体と第1雌側柱構成体と第2雌側柱構成体とを連結した状態を示す要部拡大平面図である。
【発明を実施するための形態】
【0009】
以下、本発明に係る実施形態1,2の組立柱1,1’について、図面を参照して説明する。なお、下記に説明する実施形態はあくまで本発明の一例であり、本発明は下記の実施形態に限定されるものではなく、本発明の技術思想の範囲内で適宜変更可能である。
【0010】
実施形態1.
<実施形態1の組立柱1の構成>
本発明に係る実施形態1の組立柱1は、図3に示すように折り曲げ可能な可撓連結部12を介して列状に連結された12個の中空の柱構成体11をそれぞれの可撓連結部12で折り曲げて連結することにより図1等に示すように柱状を構成する部材であって、例えば、合成樹脂や金属等によって一体で形成されている。
(【0011】以降は省略されています)
この特許をJ-PlatPat(特許庁公式サイト)で参照する
関連特許
個人
接合構造
2か月前
個人
屋台
2か月前
個人
タッチミー
2か月前
個人
安心補助てすり
1か月前
個人
ベンリナアングル
2か月前
個人
筋交自動設定装置
2か月前
個人
免震建築構造
3日前
個人
身体用シェルター
2か月前
個人
身体用シェルター
2か月前
個人
防災建築物
1か月前
株式会社シンケン
住宅
1か月前
株式会社フジタ
合成床
3日前
個人
可搬型供養墓
2か月前
三協立山株式会社
構造体
2か月前
三協立山株式会社
構造体
1か月前
三協立山株式会社
構造体
2か月前
三協立山株式会社
構造体
2か月前
三協立山株式会社
構造体
2か月前
三協立山株式会社
構造体
2か月前
三協立山株式会社
構造体
2か月前
三協立山株式会社
構造体
26日前
株式会社熊谷組
床構成材
2か月前
株式会社大林組
接合構造
1か月前
三協立山株式会社
構造体
1か月前
三洋工業株式会社
床構造
1か月前
株式会社熊谷組
吊り治具
2か月前
株式会社エフコンサルタント
面材
2か月前
株式会社エフコンサルタント
面材
2か月前
ミサワホーム株式会社
住宅
1か月前
ミサワホーム株式会社
住戸
2か月前
ミサワホーム株式会社
玄関
1か月前
鹿島建設株式会社
解体方法
1か月前
鹿島建設株式会社
接合構造
1か月前
鹿島建設株式会社
補強構造
3日前
岡部株式会社
柱梁接合構造
18日前
アイジー工業株式会社
スターター
2か月前
続きを見る
他の特許を見る