TOP
|
特許
|
意匠
|
商標
特許ウォッチ
Twitter
他の特許を見る
10個以上の画像は省略されています。
公開番号
2025158747
公報種別
公開特許公報(A)
公開日
2025-10-17
出願番号
2024061601
出願日
2024-04-05
発明の名称
防災建築物
出願人
個人
代理人
個人
,
個人
主分類
E04H
9/02 20060101AFI20251009BHJP(建築物)
要約
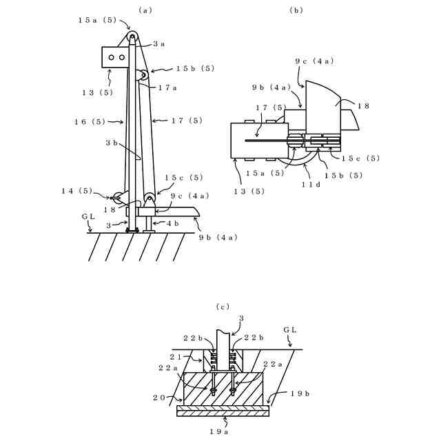
【課題】電力を使用できない場合でも可動土台とともに居住スペースや倉庫などの建物を安全に昇降させることが可能な防災建築物を提供する。
【解決手段】本発明の防災建築物1aは、構造用鋼材からなり、地面GLに立設された4本の角筒状の支柱3と、水平に設置された基礎フレーム4aと、免震ゴムが下端に取り付けられるとともに基礎フレーム4aの下面に設置された複数の支持脚4bからなり、平面視略矩形状をなす可動土台4と、この可動土台4の上面に設置されて可動土台4によって下方から支持されている居住スペース2と、支柱3に設置されて可動土台4を上下方向へ移動させる昇降手段5を備えている。
【選択図】図1
特許請求の範囲
【請求項1】
建物を下方から支持する可動土台と、
鉛直方向と平行をなして前記可動土台を囲むように配置された少なくとも2本の支柱と、
前記支柱に設置されて前記可動土台を上下方向へ移動させる昇降手段と、を備え、
前記昇降手段は、
前記支柱に設置されて入力軸に入力されたトルクを増大して出力軸から出力するギヤボックスと、
前記支柱に設置された第1の定滑車と、
この第1の定滑車の下方において前記支柱に設置された手動ウィンチと、
前記ギヤボックスの前記入力軸に一端が巻き取り可能に、かつ、他端が前記手動ウィンチによって巻き取り可能に設置された第1のワイヤロープと、
前記ギヤボックスの前記出力軸に一端が巻き取り可能に設置されるとともに前記第1の定滑車に掛け渡された第2のワイヤロープと、を備え、
前記第2のワイヤロープの他端が前記可動土台に連結され、又は前記第2のワイヤロープの他端と前記第1の定滑車の間の部分が前記可動土台に連結されていることを特徴とする防災建築物。
続きを表示(約 630 文字)
【請求項2】
前記昇降手段が、前記支柱に設置されて前記第1の定滑車と前記可動土台の間において前記第2のワイヤロープが掛け渡される第2の定滑車を備えていることを特徴とする請求項1に記載の防災建築物。
【請求項3】
前記昇降手段が前記可動土台の上面に設置された動滑車を備え、
前記第2のワイヤロープの他端が前記支柱に対し、前記第2の定滑車の近くに固定されるとともに、前記第1の定滑車と前記第2のワイヤロープの他端の間の部分が前記動滑車に掛け渡されるようにして前記第2のワイヤロープが前記可動土台に連結されていることを特徴とする請求項2に記載の防災建築物。
【請求項4】
前記支柱を囲むように前記可動土台の外側に設置されたガイド部材を備えていることを特徴とする請求項1乃至請求項3のいずれか1項に記載の防災建築物。
【請求項5】
前記ギヤボックスの前記入力軸又は前記出力軸を回転させる電動モータと、
前記入力軸又は前記出力軸に対する前記電動モータの駆動力の伝達状態を切り替える電磁クラッチと、を備え、前記電動モータ及び前記電磁クラッチは前記支柱に設置されていることを特徴とする請求項1乃至請求項3のいずれか1項に記載の防災建築物。
【請求項6】
前記支柱に設置されて前記電動モータ及び前記電磁クラッチに電力を供給する蓄電池を備えていることを特徴とする請求項5に記載の防災建築物。
発明の詳細な説明
【技術分野】
【0001】
本発明は、津波、洪水、地震及び土石流などが発生した場合にそれらの影響を受けないように居住スペースや倉庫などの建物を上方へ移動させるための可動土台を備えた防災建築物に係り、特に、電力を使用できない場合でも可動土台とともに居住スペースや倉庫などの建物を安全に昇降させることが可能な防災建築物に関する。
続きを表示(約 3,000 文字)
【背景技術】
【0002】
地震による建物の倒壊や火事による建物の焼失に対しては、建物の修復や建て直しを行うことによって、比較的短期間で元の生活に戻ることができる。これに対し、津波や河川の氾濫などによって建物が浸水してしまうと、水が引いたとしても内部に入り込んだ泥や粗大ゴミ等を除去しなければならないため、復旧に時間がかかるという課題があった。
【0003】
このような課題に対処するものとして、例えば、特許文献1には「浮上式人工地盤、および浮上式防災住宅」という名称で、通常時は水槽内で浮遊した状態にあり、洪水等によって水位が上昇した場合に、ガイド支柱に沿って浮上する構造の住宅に関する発明が開示されている。
特許文献1の図面に示されている符号を用いて説明すると、特許文献1に記載された浮上式防災住宅1は、水槽30に充填された貯留水Wに浮遊した状態で水面上に浮上する浮遊地盤20と、上方に向かって突設するように水槽20の外部領域に固定された複数のガイド支柱40と、ガイド支柱40がスライド自在に挿入される挿入孔50aを有し、浮遊地盤20に固定されている接続部材50と、接続部材50の挿入孔50aを画定する環状バネ52と、フロー穴22が設けられ、十字に組まれた状態で浮遊地盤20の底面20aに固定されているフラップ部材21を備えた構造となっている。
【0004】
このような構造によれば、貯留水Wに浮遊している状態の浮遊地盤20が環状バネ52を介してガイド支柱4に連結されていることから、地震が発生した場合でも、地震の揺れに伴って浮遊地盤20に加わる衝撃力が緩和されるため、周囲の水位の上昇に伴って浮遊地盤20が円滑に上昇する。これにより、地震や津波などによる被害を回避することができる。
【0005】
また、特許文献2には「リフトアップ装置およびこれを備えた建築物」という名称で、基礎と建物本体の間に介設されて、出水時に建物本体をリフトアップする装置とそれを備えた建築物に関する発明が開示さている。
特許文献2の図面に示されている符号を用いて説明すると、特許文献2に記載された戸建て住宅10は、べた基礎11上に設置された建物本体12と、建物本体12の四隅に配設された4本のガイド支柱と、べた基礎11と建物本体12の間に介設された2台のリフトアップ装置13を備えた構造となっている。
このような構造によれば、リフトアップ装置13によって建物本体12を安定した状態で昇降させることができる。
【0006】
さらに、特許文献3には「防災住宅」という名称で、居住スペースを垂直方向に昇降させて、その高さを調整することが可能な住宅に関する発明が開示されている。
特許文献3の図面に示されている符号を用いて説明すると、特許文献3に開示された発明は、1基のボックスカルパート2と一対のPCスラブ3からなる組立て家屋の構造体であって、ボックスカルパート2の梁上部に取り付けられた昇降機構4及び変換装置5と、可動土台14に接続された土台吊り上げ機具7を備えたことを特徴としている。
このような構造によれば、可動土台14に配置された居住スペースを昇降させて、その高さの調整を行うことが可能である。
【0007】
そして、特許文献4には「居住構造とそれを備えた免震住宅」という名称で、居住スペースの強度が高い居住構造と、この居住構造を備えるとともに、居住スペースを上方へ移動させることが可能な住宅に関する発明が開示されている。
特許文献4の図面に示されている符号を用いて説明すると、特許文献4に開示された発明は、底面が菱形をなすとともに4本の稜線の長さが全て等しい四角錐の各辺を構成するように組み合わされた8本の形鋼5dからなる基礎フレーム19aと、下端が上記菱形の2つの対角線をそれぞれ構成し、かつ、底面に直交するように設置された矩形状の一対の壁板2d、2dからなる居住スペース2を備えている。
【0008】
さらに、居住スペース2を囲むように設置されて鉛直方向と平行をなす4本の支柱3と、この4本の支柱3に対し、それらの長手方向へのみ移動可能に居住スペース2をそれぞれ連結する4つのガイド部材11aと、4本の支柱3を互いに連結するように支柱3の上端に設置された複数本の形鋼5a、5bからなる補強部材5と、形鋼9aからなる連結部材9と、この連結部材9に一部が連結されたワイヤロープ7と、このワイヤロープ7を介して居住スペース2を吊り上げ可能に補強部材5に設置されたウィンチ6と、このウィンチ6を駆動する電動モータを備えており、居住スペース2の底面が水平方向と平行をなすように設置されるとともに、連結部材9の下端が基礎フレーム19aの頭頂点に連結され、居住スペース2を平面視した場合に4本の支柱3と4つのガイド部材11aが、菱形の各頂点にそれぞれ近接して配置された構造となっている。
このような構造によれば、ウィンチ6によって居住スペース2を吊り上げることで津波や洪水等による被害を確実に避けることができる。また、移動時に居住スペース2の姿勢が変化し難いため、居住スペース2を短時間で正確に安全な高さまで移動させることが可能である。
【先行技術文献】
【特許文献】
【0009】
特開2021-080760号公報
特開2022-142279号公報
特開2023-57511号公報
特許第6537218号公報
【発明の概要】
【発明が解決しようとする課題】
【0010】
特許文献1に開示された発明では、浮遊地盤20が水槽30の貯留水Wに浮遊した状態となっているが、河川の氾濫等により水槽30の水嵩が急激に増えた場合には、浮遊地盤20の上昇速度が水槽30の水位が上昇する速度に追い付かず、浮遊地盤20の上昇が円滑に行われないおそれがある。また、水槽30の水が大きく波打っている場合には、浮遊地盤20の傾きが大きくなるため、接続部材50の挿入孔50aの内面がガイド支柱40に接触してしまい、浮遊地盤20の上昇が妨げられる可能性が高い。
特許文献2に開示された発明では、出水時に建物本体12をリフトアップした場合、リフトアップ装置13の通し軸24が水没する構造となっているため、通し軸24の部分にゴミが詰まることにより一対のXリンク機構21が動作不能となり、建物本体12を下降させることができなくなるおそれがある。
特許文献3には、可動土台14の昇降機構4が停電時等に手動操作で対応できる機能を有していることが記載されているものの、特許文献3に開示された発明では、手動ハンドル15がボックスカルパート2の梁上部に設置されており、昇降機構4を手動操作する際に手動ハンドル15の場所まで移動する必要があることから、迅速に対応できないという課題があった。
特許文献4に開示された発明では、電動モータに電力が供給されない場合に、ウィンチ6によって居住スペース2を吊り上げることができないという課題があった。
(【0011】以降は省略されています)
この特許をJ-PlatPat(特許庁公式サイト)で参照する
関連特許
個人
接合構造
2か月前
個人
屋台
2か月前
個人
タッチミー
2か月前
個人
転落防止用手摺
3か月前
個人
安心補助てすり
1か月前
個人
ベンリナアングル
2か月前
積水樹脂株式会社
柵体
2か月前
個人
筋交自動設定装置
2か月前
個人
免震建築構造
3日前
個人
身体用シェルター
2か月前
株式会社フジタ
合成床
3日前
株式会社シンケン
住宅
1か月前
個人
防災建築物
1か月前
個人
身体用シェルター
2か月前
イワブチ株式会社
組立柱
2か月前
三協立山株式会社
構造体
2か月前
株式会社熊谷組
吊り治具
2か月前
三洋工業株式会社
床構造
1か月前
三協立山株式会社
構造体
2か月前
株式会社熊谷組
床構成材
2か月前
三協立山株式会社
構造体
2か月前
三協立山株式会社
構造体
2か月前
三協立山株式会社
構造体
26日前
三協立山株式会社
構造体
2か月前
三協立山株式会社
構造体
2か月前
三協立山株式会社
構造体
1か月前
株式会社熊谷組
木質材料
2か月前
三協立山株式会社
構造体
1か月前
株式会社大林組
接合構造
1か月前
個人
可搬型供養墓
2か月前
株式会社エフコンサルタント
面材
2か月前
ミサワホーム株式会社
住宅
1か月前
鹿島建設株式会社
接合構造
1か月前
ミサワホーム株式会社
建物
2か月前
ミサワホーム株式会社
住戸
2か月前
株式会社エフコンサルタント
面材
2か月前
続きを見る
他の特許を見る