TOP
|
特許
|
意匠
|
商標
特許ウォッチ
Twitter
他の特許を見る
公開番号
2025126580
公報種別
公開特許公報(A)
公開日
2025-08-29
出願番号
2024022885
出願日
2024-02-19
発明の名称
屋根構造
出願人
日鉄建材株式会社
代理人
個人
主分類
E04D
3/35 20060101AFI20250822BHJP(建築物)
要約
【課題】耐火性能を向上できる屋根構造を提供する。
【解決手段】実施形態における屋根構造100は、デッキプレート2を用いた屋根構造100であって、デッキプレート2の上に敷き並べられた野地板31を高さ方向に複数積み重ねた積層部3を備える。積層部3は、高さ方向で隣接する野地板31の突合せ目地32、32同士がずれて配置される。屋根構造100は、積層部3を貫通してデッキプレート2に接合するための接合部材6を更に備えてもよい。屋根構造100は、積層部3の上に設けられる断熱材4を更に備えてもよい。
【選択図】図2
特許請求の範囲
【請求項1】
デッキプレートを用いた屋根構造であって、
デッキプレートの上に敷き並べられた野地板を高さ方向に複数積み重ねた積層部を備え、
前記積層部は、高さ方向で隣接する前記野地板の突合せ目地同士がずれて配置されること
を特徴とする屋根構造。
続きを表示(約 140 文字)
【請求項2】
前記積層部を貫通して前記デッキプレートに接合するための接合部材を更に備えること
を特徴とする請求項1記載の屋根構造。
【請求項3】
前記積層部の上に設けられる断熱材を更に備えること
を特徴とする請求項1又は2記載の屋根構造。
発明の詳細な説明
【技術分野】
【0001】
本発明は、デッキプレートを用いた屋根構造に関する。
続きを表示(約 1,200 文字)
【背景技術】
【0002】
デッキプレートを用いた屋根構造では、耐火性能を確保するために、デッキプレートの上に耐火野地板を設ける場合がある。
【0003】
特許文献1には、梁若しくは母屋上に固定されたデッキプレート上に、野地板、断熱材および防水材が順次積層された屋根構造において、野地板は、硬質木毛セメント板からなり、断熱材は、50mm超の厚さを有する屋根構造が開示される。
【先行技術文献】
【特許文献】
【0004】
特開2016-928号公報
【発明の概要】
【発明が解決しようとする課題】
【0005】
野地板は、縦横の寸法が910mm×1820mm等と予め定められた規格品であることから、野地板をデッキプレートの上に敷き並べる際には、野地板同士を突き合せた目地が生じる。この点、特許文献1の開示技術では、デッキプレートの上に野地板が1層敷き並べられる。このため、火災時に野地板が熱で収縮し、野地板を敷き並べた際の目地が開くおそれがある。野地板の上に断熱材や防水シートなどが設けられていた場合、野地板の隙間から火災による炎や熱が断熱材や防水シートに直撃し、各部材の温度が急上昇するおそれがある。その結果、各部材の破壊に繋がり、期待された耐火性能を発揮できないおそれがある。
【0006】
そこで、本発明は、上述した事情に鑑みて案出されたものであり、その目的とするところは、耐火性能を向上できる屋根構造を提供することにある。
【課題を解決するための手段】
【0007】
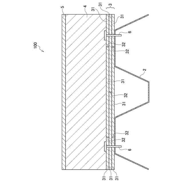
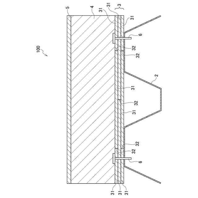
本発明に係る屋根構造は、デッキプレートを用いた屋根構造であって、デッキプレートの上に敷き並べられた野地板を高さ方向に複数積み重ねた積層部を備え、前記積層部は、隣接する前記野地板の突合せ目地同士が高さ方向でずれて配置されることを特徴とする。
【発明の効果】
【0008】
本発明によれば、デッキプレートの上に野地板を高さ方向に複数段に積み重ねた積層部を備え、積層部は、高さ方向で隣接する野地板の突合せ目地同士がずれて配置される。これにより、第1層目の野地板の突合せ目地が開いてしまった場合であっても、第1層目の上側の第2層目の野地板により断熱材に火災による炎や熱が直撃するのを回避できる。このため、耐火性能を向上できる。
【図面の簡単な説明】
【0009】
図1は、実施形態における屋根構造の一例を分解して示す斜視図である。
図2は、実施形態における屋根構造の一例を示す側面図である。
図3は、実施形態における屋根構造の積層部の一例を示す平面図である。
【発明を実施するための形態】
【0010】
以下、本発明を適用した屋根構造を実施するための形態について、図面を参照しながら詳細に説明する。
(【0011】以降は省略されています)
この特許をJ-PlatPat(特許庁公式サイト)で参照する
関連特許
個人
接合構造
1か月前
個人
タッチミー
1か月前
個人
屋台
2か月前
個人
野良猫ハウス
2か月前
個人
転落防止用手摺
2か月前
個人
安心補助てすり
1か月前
積水樹脂株式会社
柵体
2か月前
個人
筋交自動設定装置
1か月前
個人
居住車両用駐車場
2か月前
個人
ベンリナアングル
1か月前
個人
熱抵抗多層断熱建材
2か月前
個人
補強部材
2か月前
成友建設株式会社
建物
2か月前
個人
防災建築物
1か月前
個人
身体用シェルター
1か月前
株式会社シンケン
住宅
1か月前
個人
身体用シェルター
1か月前
三洋工業株式会社
床構造
1か月前
三協立山株式会社
構造体
1か月前
三協立山株式会社
構造体
10日前
株式会社熊谷組
木質材料
2か月前
株式会社大林組
接合構造
26日前
個人
可搬型供養墓
1か月前
イワブチ株式会社
組立柱
2か月前
株式会社熊谷組
吊り治具
1か月前
三協立山株式会社
構造体
15日前
三協立山株式会社
構造体
1か月前
株式会社熊谷組
床構成材
1か月前
三協立山株式会社
構造体
1か月前
三協立山株式会社
構造体
1か月前
三協立山株式会社
構造体
1か月前
三協立山株式会社
構造体
1か月前
三協立山株式会社
構造体
1か月前
株式会社エフコンサルタント
面材
1か月前
日鉄建材株式会社
屋根構造
2か月前
鹿島建設株式会社
接合構造
1か月前
続きを見る
他の特許を見る