TOP
|
特許
|
意匠
|
商標
特許ウォッチ
Twitter
他の特許を見る
10個以上の画像は省略されています。
公開番号
2025168789
公報種別
公開特許公報(A)
公開日
2025-11-12
出願番号
2024073543
出願日
2024-04-30
発明の名称
構造体
出願人
三協立山株式会社
代理人
個人
主分類
E04H
6/02 20060101AFI20251105BHJP(建築物)
要約
【課題】 構造体の使い勝手の向上。
【解決手段】 屋根3と照明具34とを備え、屋根3は、複数の屋根材8,8,…を幅方向の端部を重合させて連結し、重合部29a,29bで上方に突出する突部31を形成したものであり、照明具34は、少なくとも一つの屋根材8に取付けられ、下方を照らすものであり、照明具34を取付けた屋根材8上にカバー41が突部31,31にまたがって取付けてあり、屋根材8とカバー41との間の空間47に照明具34への配線36が通してある。
【選択図】 図6
特許請求の範囲
【請求項1】
屋根と照明具とを備え、屋根は、複数の屋根材を幅方向の端部を重合させて連結し、重合部で上方に突出する突部を形成したものであり、照明具は、少なくとも一つの屋根材に取付けられ、下方を照らすものであり、照明具を取付けた屋根材上にカバーが突部にまたがって取付けてあり、屋根材とカバーとの間の空間に照明具への配線が通してあることを特徴とする構造体。
発明の詳細な説明
【技術分野】
【0001】
本発明は、カーポート等の構造体に関する。
続きを表示(約 2,300 文字)
【背景技術】
【0002】
従来より、住宅の敷地に設置されるカーポート等の構造体が知られている。かかる構造体においては、使い勝手の良いものが求められている。
【発明の概要】
【発明が解決しようとする課題】
【0003】
本発明は以上に述べた実情に鑑み、構造体の使い勝手の向上を目的とする。
【課題を解決するための手段】
【0004】
上記の課題を達成するために請求項1記載の発明による構造体は、屋根と照明具とを備え、屋根は、複数の屋根材を幅方向の端部を重合させて連結し、重合部で上方に突出する突部を形成したものであり、照明具は、少なくとも一つの屋根材に取付けられ、下方を照らすものであり、照明具を取付けた屋根材上にカバーが突部にまたがって取付けてあり、屋根材とカバーとの間の空間に照明具への配線が通してあることを特徴とする。
【発明の効果】
【0005】
請求項1記載の発明による構造体は、屋根と照明具とを備え、屋根は、複数の屋根材を幅方向の端部を重合させて連結し、重合部で上方に突出する突部を形成したものであり、照明具は、少なくとも一つの屋根材に取付けられ、下方を照らすものであり、照明具を取付けた屋根材上にカバーが突部にまたがって取付けてあり、屋根材とカバーとの間の空間に照明具への配線が通してあるので、照明具の光で夜間の車の乗り降り等が容易になり、また、照明具の取付けや配線が容易に行え、施工性が良いため、使い勝手が向上する。
【図面の簡単な説明】
【0006】
本発明の構造体の一実施形態を示す正面図である。
同構造体の平面図である。
同構造体の側面図である。
同構造体の斜め下方から見た斜視図である。
図2のA-A断面図である。
図2のB-B断面図である。
図5のC-C断面図である。
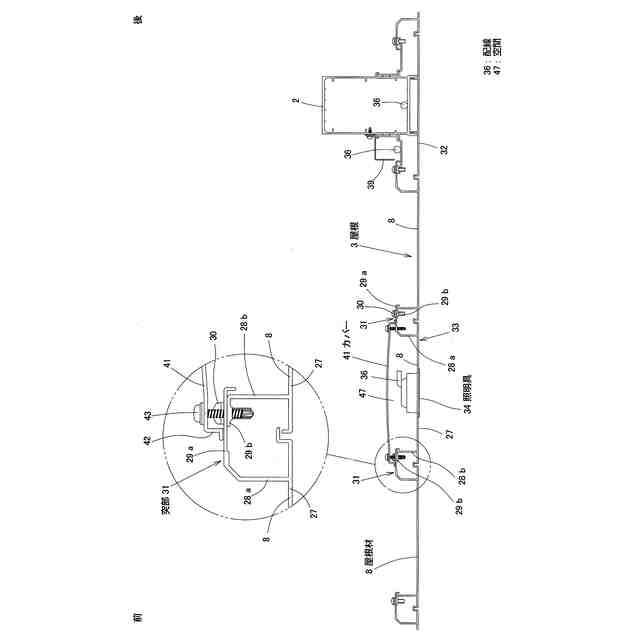
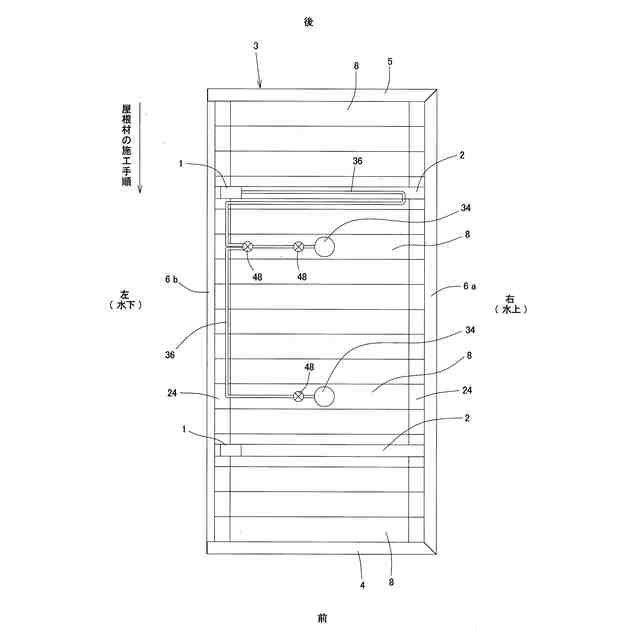
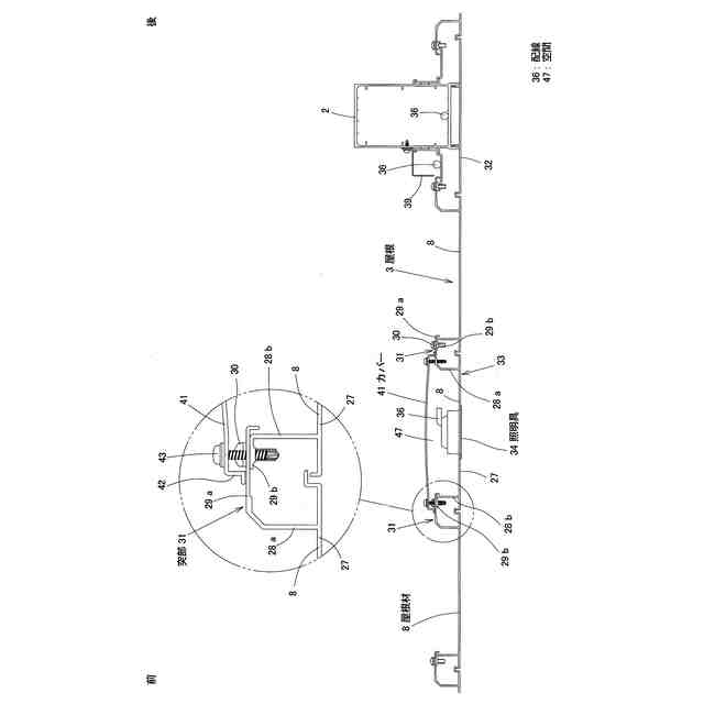
照明具への配線の配置を示す平面図である。
柱及び梁に配線を通した状態を示す斜視図である。
照明具が取付く屋根材を取付けるときの状態を示す斜視図である。
照明具が取付く屋根材の上にカバーを取付けるときの状態を示す斜視図である。
本発明の構造体の他の実施形態を示す縦断面図である。
同構造体の斜視図であって、配線収納部材を取付けるときの状態を示す。
【発明を実施するための形態】
【0007】
以下、本発明の実施の形態を図面に基づいて説明する。図1~11は、本発明の構造体の一実施形態を示している。本構造体は、住宅の敷地に設置される乗用車1台用のカーポートに適用したものである。
本構造体は、図1~4に示すように、正面から見て左側に前後方向に間隔をあけて立設した2本の柱1,1と、各柱1,1の上端部にそれぞれ支持された2本の梁2,2と、梁2,2に支持された屋根3とを備えている。屋根3は、柱1のある左側が低くなるように傾斜している。
本構造体は、図3,4に示すように、屋根3の下面に照明具34が複数取付けてあり、夜間に屋根3の下が照明具34の光で照らされるようになっている。
【0008】
柱1は、アルミニウム合金の押出形材で形成したものであり、図7に示すように、略矩形断面の中空状に形成されている。柱1は、前後の見付面1a,1bが外側(左側)の見込面1cよりも外側に張り出しており、その端縁部間に目板9を嵌合取付けすることで、屋根3の雨水を地上に流すためのたて樋10が柱1と一体で形成されている。
柱1は、図1に示すように、下部を地面に形成した基礎穴11に挿入し、柱1の周りをコンクリート12で固めてある。本構造体を隣地境界13近傍に設置するために、基礎穴11は、隣地境界13のすぐそばに設けられ、柱1は隣地境界13側に偏心して配置されている。柱1と基礎穴11との間には所定寸法A(具体的には80mm程度)間隔を設けてある。
梁2も、図6に示すように、アルミニウム合金の押出形材で略矩形断面の中空状に形成してある。
柱1と梁2は、図5に示すように、柱1と梁2の中空部内にL字形の柱梁連結金具14を挿入してボルト15で固定することで、柱1と梁2が連結されている。梁2は、水下側(左側)端が柱1よりも外側に飛び出している。
【0009】
屋根3は、図2に示すように、前枠4と後枠5と左右の側枠6a,6bとを矩形に枠組みした保持枠7と、保持枠7の内側に左右方向の向きで配置され、前後方向に並べて取付けた複数の屋根材8,8,…とを有している。
水上側に位置する右側の側枠6aは、図5に示すように、前後の梁2の水上側端部にL形の金具16で固定して取付けてある。水上側の側枠6aは、アルミニウム合金の押出形材で形成したものであり、上面が屋根3の外周側に向かって下向きに傾斜した略直角三角形状の断面になっている。水上側の側枠6aは、内周側面の下端部に屋根材8の下面を受ける屋根材受け部23を有し、内周側面の上部に屋根材8の取付金具24が載置・ねじ止めされる取付部25が形成してある。
【0010】
前枠4と後枠5は、水上側の側枠6aとほぼ同じ略直角三角形断面のアルミ形材で形成してある。水上側の側枠6aの長手方向の両端部、前枠4及び後枠5の水上側端部は、図2に示すように、それぞれ斜め45°に切断され、斜めに切断された小口同士を突き合せて連結してある。
(【0011】以降は省略されています)
この特許をJ-PlatPat(特許庁公式サイト)で参照する
関連特許
三協立山株式会社
手摺
2日前
三協立山株式会社
構造体
1か月前
三協立山株式会社
構造体
1か月前
三協立山株式会社
構造体
1か月前
三協立山株式会社
構造体
1か月前
三協立山株式会社
構造体
1か月前
三協立山株式会社
構造体
23日前
三協立山株式会社
構造体
1か月前
三協立山株式会社
構造体
7日前
三協立山株式会社
構造体
2日前
三協立山株式会社
開口部装置
1か月前
三協立山株式会社
上げ下げ窓
10日前
三協立山株式会社
開口部建材
8日前
三協立山株式会社
開口部建材
8日前
三協立山株式会社
開口部装置
1か月前
三協立山株式会社
水耕栽培装置
1か月前
三協立山株式会社
荷物昇降装置
1か月前
三協立山株式会社
サッシの製造方法
2か月前
三協立山株式会社
バッテリーケース
22日前
三協立山株式会社
構造体、構造体の製造方法
1か月前
三協立山株式会社
構造体
2日前
三協立山株式会社
Mg合金、Mg合金の製造方法、及び、Mg合金を用いた土木材料及び生体材料
17日前
個人
接合構造
1か月前
個人
屋台
1か月前
個人
タッチミー
1か月前
個人
野良猫ハウス
2か月前
個人
フェンス
2か月前
個人
転落防止用手摺
2か月前
個人
安心補助てすり
22日前
積水樹脂株式会社
柵体
2か月前
個人
筋交自動設定装置
1か月前
ニチハ株式会社
建築板
2か月前
個人
ベンリナアングル
1か月前
個人
居住車両用駐車場
2か月前
個人
地下型マンション
4か月前
個人
熱抵抗多層断熱建材
2か月前
続きを見る
他の特許を見る