TOP
|
特許
|
意匠
|
商標
特許ウォッチ
Twitter
他の特許を見る
公開番号
2025151593
公報種別
公開特許公報(A)
公開日
2025-10-09
出願番号
2024053103
出願日
2024-03-28
発明の名称
水耕栽培装置
出願人
三協立山株式会社
代理人
弁理士法人スズエ国際特許事務所
主分類
A01G
31/00 20180101AFI20251002BHJP(農業;林業;畜産;狩猟;捕獲;漁業)
要約
【課題】使い勝手が良い水耕栽培装置を提供する。
【解決手段】本発明にかかる水耕栽培装置1は、内側容器15と外側容器17と栽培ポット19と給水器21とを備え、内側容器15は、内側容器本体15aと内側蓋15bを有し、外側容器17内に配置されるものであり、内側蓋15bの上面に給水マット23を有し、内側容器本体15aと給水マット23が柱状の給水フィルター25で繋げてあり、外側容器17は、外側容器本体17aと外側蓋17bを有し、外側蓋17bに設けた孔35から栽培ポット19を給水マット23上に載置できるものであり、給水器21は、外側蓋17及び内側蓋15に設けた孔35、33に差し込まれて外側蓋17bに着脱自在に配置され、内側容器本体15aに培養液Lを供給できるものである。
【選択図】図1
特許請求の範囲
【請求項1】
内側容器と外側容器と栽培ポットと給水器とを備え、
内側容器は、内側容器本体と内側蓋を有し、外側容器内に配置されるものであり、内側蓋の上面に給水マットを有し、内側容器本体と給水マットが柱状の給水フィルターで繋げてあり、
外側容器は、外側容器本体と外側蓋を有し、外側蓋に設けた孔から栽培ポットを給水マット上に載置できるものであり、
給水器は、外側蓋及び内側蓋に設けた孔に差し込まれて外側蓋に着脱自在に配置され、内側容器本体に培養液を供給できるものである
ことを特徴とする水耕栽培装置。
発明の詳細な説明
【技術分野】
【0001】
本発明は、水耕栽培装置に関する。
続きを表示(約 2,700 文字)
【背景技術】
【0002】
使い勝手が良い水耕栽培装置が求められていた。
【発明の概要】
【発明が解決しようとする課題】
【0003】
そこで、本発明は、使い勝手が良い水耕栽培装置の提供を目的とする。
【課題を解決するための手段】
【0004】
請求項1に記載の発明は、内側容器と外側容器と栽培ポットと給水器とを備え、内側容器は、内側容器本体と内側蓋を有し、外側容器内に配置されるものであり、内側蓋の上面に給水マットを有し、内側容器本体と給水マットが柱状の給水フィルターで繋げてあり、外側容器は、外側容器本体と外側蓋を有し、外側蓋に設けた孔から栽培ポットを給水マット上に載置できるものであり、給水器は、外側蓋及び内側蓋に設けた孔に差し込まれて外側蓋に着脱自在に配置され、内側容器本体に培養液を供給できるものであることを特徴とする水耕栽培装置である。
【発明の効果】
【0005】
請求項1に記載の発明によれば、外側容器の内側に内側容器を配置していると共に外側容器と内側容器のそれぞれに蓋が設けてあるから、例えば、外側蓋と内側蓋を外して、内側容器本体を取り出して、簡単に洗浄したり洗浄後の水を捨てることができ、内側容器本体に溜めた培養液の蒸発を防ぐことができるので、使い勝手が良い。
【図面の簡単な説明】
【0006】
本発明の実施形態に係る水耕栽培装置の概略的構成を一部破断して示す斜視図である。
図1に示す水耕栽培装置の縦断面図である。
図4に示すショーケースの上から二段目を示す図であり、(a)は平面図、(b)は(a)に示すA-A断面図、(c)は(a)に示すB-B断面図である。
実施形態に係る水耕栽培装置をショーケースに納めた状態を示す図であり、(a)は正面図、(b)は側面図、(c)は平面図である。
左右の支柱に取り付けた棚板ブラケットに、水耕栽培装置を組み付ける前の状態を示す斜視図である。
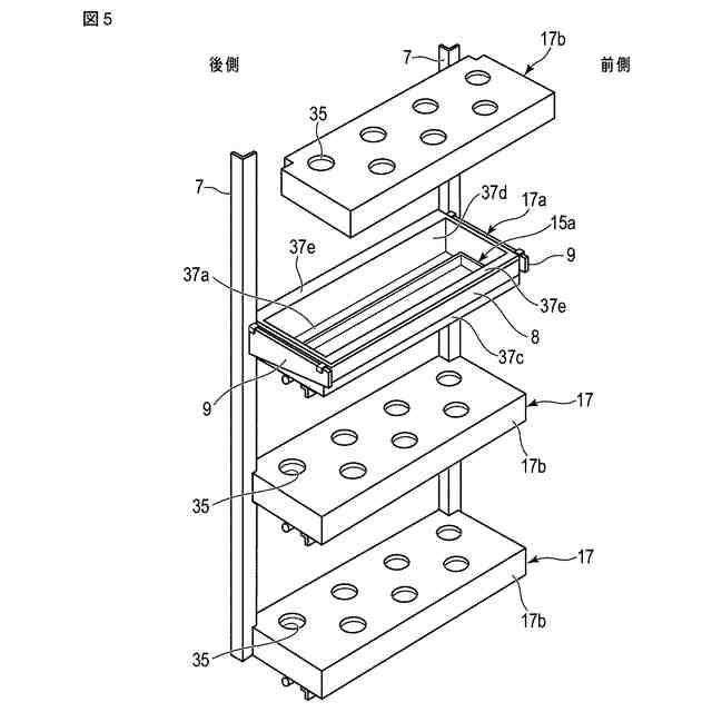
支柱に取り付けた左右の棚板ブラケットに繋ぎ部材を取り付ける前の状態を示す斜視図である。
実施形態に係る水耕栽培装置を他の種類のショーケースに納めた状態を示す図であり、(a)は正面図、(b)は側面図、(c)は平面図である。
【発明を実施するための形態】
【0007】
以下に、添付図面を参照して本発明の実施形態について説明する。
図4に示すように、本実施形態に係る水耕栽培装置1は、ショーケース3に納めた状態で、栽培植物Fを展示している。
水耕栽培装置1の説明の前に、先にショーケース3について説明する。
ショーケース3は前側に2枚の引き戸5が設けてあり、後側には台6に立設された左右の支柱7が設けてあり、左右の支柱7にはそれぞれ棚板ブラケット9が上下に間隔を設けて3つ取り付けてある(図4(b)参照)。左右の棚板ブラケット9、9間にそれぞれ水耕栽培装置1が設置されており、本実施形態では、ショーケース3内に上下3つの段の水耕栽培装置1が設けてある。尚、各引き戸5はガラス戸であり、台6には移動用の車輪6aが設けてある。
図3(a)(b)に示すように、左右の棚板ブラケット9、9には、前側と後側との各々に、左右の棚板ブラケット9、9を繋ぐ繋ぎ部材8、8(図6参照)が取付けられており、左右の棚板ブラケット9、9を繋いでいる。
図4(b)に示すように、ショーケース3の天面3aと、上段及び中段(下から2段目)の水耕栽培装置1の下面には、下の段の栽培植物Fを照らす光源11と、前側から光源11を隠す光源隠し部材13とが設けられている。光源11はLED照明であり、光源隠し部材13はLアングルである。
【0008】
次に、各段の水耕栽培装置1を説明するが、上下3つの段の水耕栽培装置1は、上段と中段の下面に光源11と光源隠し部材13が設けられており、下段の水耕栽培装置1の下面には光源11と光源隠し部材13が無いこと以外は同じ構成であるから、以下には中段に位置する水耕栽培装置1について説明する。
図1及び図2に示すように、水耕栽培装置1は、内側容器15と外側容器17と栽培ポット19と給水器21とを備えている。
【0009】
内側容器15は、内側容器本体15aと内側蓋15bを有し、スペーサ16を介して外側容器17の底壁37a(後述する)に載置されるものであり、内側蓋15bの上面に給水マット23を有し、内側容器本体15aと給水マット23が柱状の給水フィルター25で繋げてある。
内側容器本体15aは、平面視四角形状の底壁27aと底壁27aの四周囲の各辺から立ち上がった側壁27bとで培養液Lを溜める栽培プール27を形成している。栽培プール27は平面視四角形状の凹状である。
内側蓋15bは、平面視四角形状であり、内側容器本体15aの底壁27aに載置したスペーサ29b(図3(c)参照)の上に内側蓋15bを載置することで、栽培プール27内に納められている。スペーサ29bは左右に長い断面四角形状の部材である。
給水マット23は、内側容器15の内側蓋15bの上面に載置してあり、内側蓋15bの面積と略同じ面積を有している。給水マット23は、水を吸い込んで保持すると共に、保持している水は含水量が給水マット23内で同じになるように移動自在である。給水マット23は、例えば不織布で作られている。
【0010】
内側容器15の内側蓋15bには、給水フィルター25を収納する給水フィルター用孔31と給水器21の注入器21cが挿入される給水器用孔33とが形成されている。
図3(a)(b)に示すように、給水フィルター用孔31は前後方向の中間位置で、左右に間隔を空けて一列に複数個形成されている。
給水フィルター25は、下端部が栽培プール27に浸漬されて上端部が給水マット23に接触して設けてあり、栽培プール27の培養液を吸い上げて給水マット23に移動するものであり、例えば、ウレタンフォームや発泡ポリエチレン等のスポンジを円柱形状に形成したものである。
給水フィルター用孔31は、円柱形状の給水フィルター25を挿入する平面視円形の孔である。給水器用孔33は、図1に示すように、平面視円形に形成している。
(【0011】以降は省略されています)
この特許をJ-PlatPat(特許庁公式サイト)で参照する
関連特許
三協立山株式会社
構造体
12日前
三協立山株式会社
開口部装置
27日前
三協立山株式会社
水耕栽培装置
25日前
三協立山株式会社
荷物昇降装置
1か月前
三協立山株式会社
バッテリーケース
11日前
三協立山株式会社
Mg合金、Mg合金の製造方法、及び、Mg合金を用いた土木材料及び生体材料
6日前
個人
草刈り鋏
17日前
個人
蠅捕獲器
13日前
個人
虫捕り器
1か月前
個人
刈込鋏保持具
1か月前
個人
蜜蜂保護装置
4日前
個人
種子の製造方法
10日前
個人
草刈機用回転刃
13日前
個人
飼育容器
1か月前
個人
後付巻降ろし器
1か月前
個人
昆虫捕集器
10日前
個人
イカ釣り用ヤエン
1か月前
株式会社丹勝
緑化工法
1か月前
株式会社シマノ
釣竿
1か月前
井関農機株式会社
作業車両
25日前
井関農機株式会社
作業車両
1か月前
井関農機株式会社
作業車両
1か月前
井関農機株式会社
作業車両
1か月前
井関農機株式会社
作業車両
25日前
個人
水耕栽培システム
1か月前
個人
四足動物用装着具
18日前
大栄工業株式会社
捕獲器
25日前
井関農機株式会社
作業車両
1か月前
井関農機株式会社
作業車両
18日前
井関農機株式会社
作業車両
1か月前
株式会社オーツボ
海苔箱船
17日前
井関農機株式会社
作業車両
13日前
個人
伸縮する草刈り機の可動装置。
1か月前
松山株式会社
農作業機
1か月前
松山株式会社
農作業機
1か月前
松山株式会社
草刈作業機
4日前
続きを見る
他の特許を見る