TOP
|
特許
|
意匠
|
商標
特許ウォッチ
Twitter
他の特許を見る
公開番号
2025172236
公報種別
公開特許公報(A)
公開日
2025-11-20
出願番号
2025157618,2022012491
出願日
2025-09-24,2022-01-31
発明の名称
スクリーン装置
出願人
三協立山株式会社
代理人
個人
主分類
E06B
9/42 20060101AFI20251113BHJP(戸,窓,シャッタまたはローラブラインド一般;はしご)
要約
【課題】 開口部に簡単に防火性能を付与することのできるスクリーン装置の提供。
【解決手段】 ロールスクリーン1と縦枠2,2とを備え、ロールスクリーン1は、巻取り軸3に不燃シート4を巻き付けてあり、不燃シート4の下縁部にボトムバー5が取付けてあり、縦枠2は、縦枠本体7と、縦枠本体7の内周側に設けた内外のガイド部8a,8bを有し、内外のガイド部8a,8bによりボトムバー5を案内する凹部9を形成するとともに、凹部9の底部でスリット10を形成し、スリット10に不燃シート4が通っており、内外のガイド部8a,8bの少なくとも一方が縦枠本体7に着脱自在に形成してある。
【選択図】 図1
特許請求の範囲
【請求項1】
ロールスクリーンと縦枠とを備え、ロールスクリーンは、巻取り軸に不燃シートを巻き付けてあり、不燃シートの下縁部にボトムバーが取付けてあり、縦枠は、縦枠本体と、縦枠本体の内周側に設けた内外のガイド部を有し、内外のガイド部によりボトムバーを案内する凹部を形成するとともに、凹部の底部でスリットを形成し、スリットに不燃シートが通っており、内外のガイド部の少なくとも一方が縦枠本体に着脱自在に形成してあることを特徴とするスクリーン装置。
発明の詳細な説明
【技術分野】
【0001】
本発明は、開口部に防火性能を付与するためのスクリーン装置に関する。
続きを表示(約 2,700 文字)
【背景技術】
【0002】
開口部に簡単に防火性能を付与できるものが求められている。
【発明の概要】
【発明が解決しようとする課題】
【0003】
本発明は以上に述べた実情に鑑み、開口部に簡単に防火性能を付与することのできるスクリーン装置の提供を目的とする。
【課題を解決するための手段】
【0004】
上記の課題を達成するために請求項1記載の発明によるスクリーン装置は、ロールスクリーンと縦枠とを備え、ロールスクリーンは、巻取り軸に不燃シートを巻き付けてあり、不燃シートの下縁部にボトムバーが取付けてあり、縦枠は、縦枠本体と、縦枠本体の内周側に設けた内外のガイド部を有し、内外のガイド部によりボトムバーを案内する凹部を形成するとともに、凹部の底部でスリットを形成し、スリットに不燃シートが通っており、内外のガイド部の少なくとも一方が縦枠本体に着脱自在に形成してあることを特徴とする。
【発明の効果】
【0005】
請求項1記載の発明によるスクリーン装置は、ロールスクリーンと縦枠とを備え、ロールスクリーンは、巻取り軸に不燃シートを巻き付けてあり、不燃シートの下縁部にボトムバーが取付けてあり、縦枠は、縦枠本体と、縦枠本体の内周側に設けた内外のガイド部を有し、内外のガイド部によりボトムバーを案内する凹部を形成するとともに、凹部の底部でスリットを形成し、スリットに不燃シートが通っており、内外のガイド部の少なくとも一方が縦枠本体に着脱自在に形成してあることで、火災時に火炎を遮ることができるので、開口部に簡単に防火性能を付与することができる。
【図面の簡単な説明】
【0006】
本発明のスクリーン装置の一実施形態を示す縦断面図である。
同スクリーン装置の横断面図である。
同スクリーン装置の縦枠部を拡大して示す横断面図である。
(a)はボトムバーに設けられる閉鎖保持具を示す縦断面図であり、(b)は同室内側正面図である。
閉鎖保持具の他の実施形態を示す縦断面図である。
【発明を実施するための形態】
【0007】
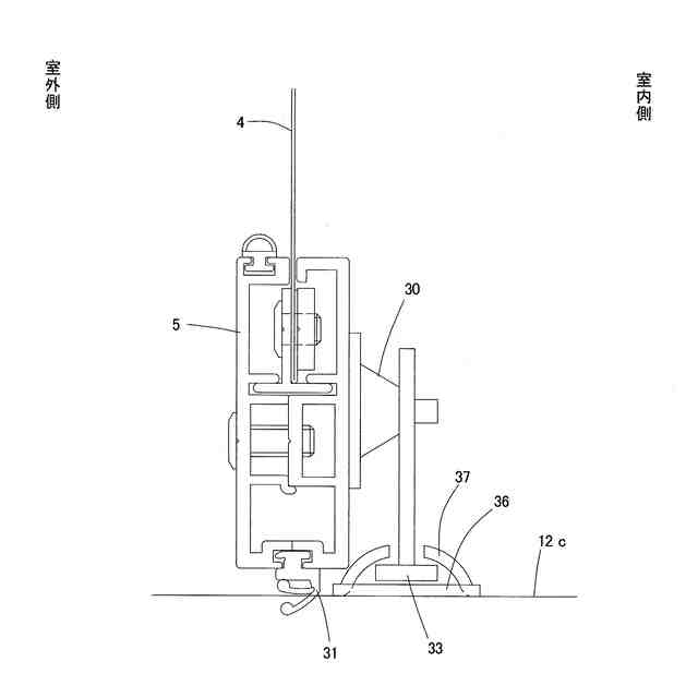
以下、本発明の実施の形態を図面に基づいて説明する。図1~4は、本発明のスクリーン装置の一実施形態を示している。本実施形態は、図1,2に示すように、木造住宅の開口部11に設置した例を示しており、開口部11の上側の内周面12aに取付けたロールスクリーン1と、開口部11の左右両側の内周面12b,12bに取付けた縦枠3,3とを備えている。このスクリーン装置は、例えば屋外に面した開口部11に取付けられる図示しないサッシの室内側に設けられる。
【0008】
ロールスクリーン1は、図1に示すように、巻取り軸3と、巻取り軸3を収納するボックス13を備えている。巻取り軸3には不燃シート4が巻き付けてあり、巻取り軸3が図1の時計方向に回転すると不燃シート4が巻取り軸3に巻き取られ、反時計方向に回転すると不燃シート4が巻取り軸3から繰り出される。
不燃シート4は、例えばガラス繊維から成る布を樹脂でコーティングしたもの等を用いることができる。図2,3に示すように、不燃シート4の左右両側の縁部4a,4aには、抜け止めとなる金属製のハトメ6が上下方向に間隔をおいて設けてある。また、不燃シート4の下縁部には、図1に示すように、ボトムバー5が取付けてある。
【0009】
ボックス13は、アルミニウム合金の押出形材で形成してあり、図1に示すように、不燃シート4より室内側の下面及び室内側が開放した略C字型断面になっており、その開放部は着脱自在なカバー14で塞がれている。ボックス13の内部には、巻取り軸3を囲むようにスチール製の補強材15が設けてある。ボックス13の左右両側の側面には、側板38が取付けてある。
ボックス13は、上面の室外側の位置と室内側の位置の二箇所に鉤状の係止部16a,16bが室外側に向けて形成してあり、この係止部16a,16bを開口部11の上側の内周面12aに取付けられた取付材17の被係止部18a,18bに室内側から係止し、室内側からねじ19で固定することで取付けてある。
取付材17は、アルミニウム合金の押出形材で形成した長尺材であり、開口部11の上側の内周面12aに当接して下方からのねじ20で躯体21に固定されている。取付材17は、上面の室外側の位置と室内側の位置の二箇所に浅い溝が長手方向に沿って形成されており、該溝内に加熱発泡材22がそれぞれ設けてある。
【0010】
縦枠2は、アルミニウム合金の押出形材で形成してあり、図3に示すように、縦枠本体7と、縦枠本体7の内周側に設けた内外のガイド部8a,8bを有しており、内外のガイド部8a,8bによりボトムバー5を案内する凹部9を形成するとともに、凹部9の底部でスリット10を形成し、スリット10に不燃シート4が通っている。スリット10の幅は、ハトメ6が抜けない寸法としてある。内外のガイド部8a,8bは、ボトムバー5の室外側及び室内側の見付面にそれぞれ対向する見付壁23と、ボトムバー5の長手方向端面に対向しスリット10を形成する見込壁24を連続して有している。見込壁24の端縁部は、円弧状に面取りしてある。
内外のガイド部8a,8bのうち外側(室外側)のガイド部8aは、縦枠本体7と別体でクランク状の断面に形成され、縦枠本体7に内周側からのねじ25でねじ止めして着脱自在に形成してある。内側(室内側)のガイド部8bは、縦枠本体7と一体で形成されている。よって、外側のガイド部8aを取り外すことで、不燃シート4の側縁部4aを縦枠2内に容易に抜き差しすることができる。
縦枠2の内部には、縦枠本体7の室外側壁7aと室内側壁7bと外周側壁7cの内面に沿ってスチール製の補強材26が配置されている。縦枠2は、外周側壁7cを補強材26と共に内周側からのねじ27で躯体21にねじ止めして取付けてある。上記のように、外側のガイド部8aは着脱自在なため、該ガイド部8aを取り外した状態で縦枠2のねじ止めが容易に行える。
また縦枠2は、外周側面の室外側の位置と室内側の位置の二箇所に浅い溝が長手方向に沿って形成されており、該溝内に加熱発泡材28がそれぞれ設けてある。
(【0011】以降は省略されています)
この特許をJ-PlatPat(特許庁公式サイト)で参照する
関連特許
三協立山株式会社
手摺
10日前
三協立山株式会社
構造体
10日前
三協立山株式会社
構造体
15日前
三協立山株式会社
構造体
1か月前
三協立山株式会社
開口部建材
16日前
三協立山株式会社
開口部建材
16日前
三協立山株式会社
上げ下げ窓
18日前
三協立山株式会社
開口部装置
1か月前
三協立山株式会社
水耕栽培装置
1か月前
三協立山株式会社
バッテリーケース
1か月前
三協立山株式会社
構造体
10日前
三協立山株式会社
スクリーン装置
2日前
三協立山株式会社
Mg合金、Mg合金の製造方法、及び、Mg合金を用いた土木材料及び生体材料
25日前
中国電力株式会社
脚立
3か月前
株式会社ESP
止水板
3か月前
株式会社ナカオ
作業台
2か月前
株式会社ニチベイ
遮蔽装置
23日前
三協立山株式会社
開口部装置
2か月前
三協立山株式会社
開口部装置
2か月前
三協立山株式会社
開口部装置
2か月前
三協立山株式会社
開口部建材
16日前
三協立山株式会社
開口部装置
2か月前
三協立山株式会社
開口部装置
2か月前
三協立山株式会社
開口部建材
16日前
三協立山株式会社
開口部装置
1か月前
ミサワホーム株式会社
水切り材
2か月前
豊田合成株式会社
調光装置
1か月前
不二サッシ株式会社
引違いサッシ
2か月前
文化シヤッター株式会社
引戸装置
1か月前
文化シヤッター株式会社
止水装置
1か月前
豊田合成株式会社
調光装置
15日前
不二サッシ株式会社
引違いサッシ
1か月前
三協立山株式会社
サッシの製造方法
2か月前
株式会社LIXIL
太陽電池ガラス
1か月前
株式会社LIXIL
建具
2か月前
株式会社LIXIL
建具
2か月前
続きを見る
他の特許を見る