TOP
|
特許
|
意匠
|
商標
特許ウォッチ
Twitter
他の特許を見る
10個以上の画像は省略されています。
公開番号
2025148715
公報種別
公開特許公報(A)
公開日
2025-10-08
出願番号
2024048973
出願日
2024-03-26
発明の名称
止水装置
出願人
文化シヤッター株式会社
代理人
個人
主分類
E06B
5/00 20060101AFI20251001BHJP(戸,窓,シャッタまたはローラブラインド一般;はしご)
要約
【課題】右板の上部側や左板の上部側の撓み変形を抑制できるように構成された止水装置を提供する。
【解決手段】本発明の止水装置は、開口11に設置される止水装置1であって、開口の下面と対向する下端面を形成する下板2dと、開口の左面と対向する左端面を形成する左板2bと、開口の右面と対向する右端面を形成する右板2cと、下板の後端縁と左板の後端縁と右板の後端縁とを繋ぐ壁板2aと、壁板2aの上端縁に沿って設けられた壁板上側補強部2TCと、左板2bの上端縁に沿って設けられた左板上側補強部2TLと、右板2cの上端縁に沿って設けられた右板上側補強部2TRと、下板と左板と右板と壁板と壁板上側補強部と左板上側補強部と右板上側補強部とで囲まれて形成された凹部2Uとを備えたことを特徴とする。
【選択図】図2
特許請求の範囲
【請求項1】
開口に設置される止水装置であって、
開口の下面と対向する下端面を形成する下板と、開口の左面と対向する左端面を形成する左板と、開口の右面と対向する右端面を形成する右板と、下板の後端縁と左板の後端縁と右板の後端縁とを繋ぐ壁板と、壁板の上端縁に沿って設けられた壁板上側補強部と、左板の上端縁に沿って設けられた左板上側補強部と、右板の上端縁に沿って設けられた右板上側補強部と、下板と左板と右板と壁板と壁板上側補強部と左板上側補強部と右板上側補強部とで囲まれて形成された凹部とを備えたことを特徴とする止水装置。
続きを表示(約 780 文字)
【請求項2】
壁板上側補強部は、左板の上端縁と右板の上端縁との間において壁板の上端縁に沿って連続してかつ壁板の上端縁から前方に延長するように設けられ、
左板上側補強部は、壁板上側補強部の左端部より連続して壁板上側補強部よりも前方に延長するように設けられ、
右板上側補強部は、壁板上側補強部の右端部より連続して壁板上側補強部よりも前方に延長するように設けられたことを特徴とする請求項1に記載の止水装置。
【請求項3】
壁板上側補強部と左板上側補強部と右板上側補強部とによって上側補強部が構成され、当該上側補強部は、壁板の上端より延長するように設けられた凹形状平板が前方に折り曲げられて、当該前方に折り曲げられた凹形状平板の凹の底部分を形成する板部が壁板の上端より前方に延長する壁板上側補強部となり、当該凹形状平板の凹の一方の側部と左板の上端縁とが溶接されたことによって当該一方の側部が左板上側補強部となり、当該凹形状平板の凹の他方の側部と右板の上端縁とが溶接されたことによって当該他方の側部が右板上側補強部となるように構成されたことを特徴とする請求項1に記載の止水装置。
【請求項4】
壁板の板面に左右方向に連続するように設けられた壁板補強部を備えたことを特徴とする請求項1乃至請求項3のいずれか一項に記載の止水装置。
【請求項5】
壁板補強部は、壁板の上下方向の高さ寸法をHとした場合、壁板の下端から高さ1/3Hの位置に設けられたことを特徴とする請求項4に記載の止水装置。
【請求項6】
壁板補強部は、左板と右板との間に亘って連続して延在する長さの補強材、又は、左板と右板との間において間欠的に設けられた複数の補強材により構成されたことを特徴とする請求項4に記載の止水装置。
発明の詳細な説明
【技術分野】
【0001】
本発明は、開口を介した水の通過を防止するために用いられる止水装置に関する。
続きを表示(約 4,400 文字)
【背景技術】
【0002】
建築構造物に設けられた扉枠の内側の開口の下部側に設置されて当該開口を介した水の通過を防止するために用いられる止水装置が知られている(特許文献1参照)。
以下、特許文献1に開示された止水部材2に相当する従来の止水装置について、図7乃至図10に基づいて説明する。
尚、上、下、左、右、前、後は、図7乃至図10に示した方向と定義して説明する。即ち、図7乃至図10に示した左右は、図7に示す前側から後側を見た場合の左右である。
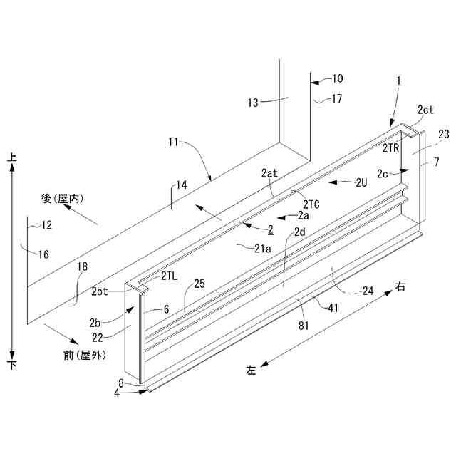
止水装置100は、壁板2aと、左板2bと、右板2cと、下板2dと、上端縁部2Tと、左側係止部6と、右側係止部7と、下側係止部8と、力受部4とを備え、壁板2aと左板2bと右板2cと下板2dと上端縁部2Tとで囲まれて形成された凹部2Uを備えた構成となっている。
上端縁部2Tは、例えば、壁板2aとなる平板部分の上側部分に設けられていた平板部が前方に折り曲げられるとともに、この折り曲げられた平板部の左縁と左板2bの上端縁2btの後端側とが溶接により一体化され、かつ、この折り曲げられた平板部の右縁と右板2cの上端縁2ctの後端側とが溶接により一体化されて構成されている。
また、上端縁部2Tの板面と壁板2aの板面とのなす角度が90°又は略90°となるように構成されている。
例えば、図9(a)に示すように、壁板2aを扉枠10の開口11の後側(屋内側)に位置させて、下側係止部8、左側係止部6、右側係止部7を、それぞれ、扉枠10の戸当りに係合させた状態に設置した後、扉9を閉じることにより、止水装置100が扉枠10の内側の開口11の下部側を塞ぐように設置される。
尚、下板2dと扉枠の内側の開口の下側面との間、左板2bと扉枠の内側の開口の左側面との間、右板2cと扉枠10の内側の開口の右側面との間には、水密維持手段3(図9(a)参照)が設けられて、水密性能が維持されることにより、開口11を介した水の通過を防止できるように構成される。
水密維持手段3としては、例えば、ゴムスポンジ等のゴム製のシール材、水膨潤性能を有したシール材等が用いられる。
図9において、符号20は、戸当たりの前面に設けられたエアタイトゴムである。
尚、図9は断面図であるが、水密維持手段3及びエアタイトゴム20以外の部分のハッチングは省略した。
【先行技術文献】
【特許文献】
【0003】
特開2023-75548号公報
【発明の概要】
【発明が解決しようとする課題】
【0004】
上述した従来の止水装置100では、図7,8に示すように、上端縁部2Tは、壁板2aの上端縁2atに沿って設けられているだけであり、右板2cの上端縁2ctや左板2bの上端縁2btに沿って設けられていない。
従って、止水装置100が扉枠10の開口11の下端側を塞ぐように所定の状態に設置された場合において、図9(b)に示すように、右板2cや左板2bに水圧Fが加わった場合、右板2cの上部側や左板2bの上部側が、撓み易くなり、撓んだ場合、右板2cや左板2bが、扉枠10から外れ易くなるので、止水装置100が所定の状態に維持されずに、止水装置として機能しなくなる可能性がある。
【0005】
本発明は、上記課題を解消すべく、右板の上部側や左板の上部側の撓み変形を抑制できるように構成された止水装置を提供するものである。
【課題を解決するための手段】
【0006】
本発明に係る止水装置は、開口に設置される止水装置であって、開口の下面と対向する下端面を形成する下板と、開口の左面と対向する左端面を形成する左板と、開口の右面と対向する右端面を形成する右板と、下板の後端縁と左板の後端縁と右板の後端縁とを繋ぐ壁板と、壁板の上端縁に沿って設けられた壁板上側補強部と、左板の上端縁に沿って設けられた左板上側補強部と、右板の上端縁に沿って設けられた右板上側補強部と、下板と左板と右板と壁板と壁板上側補強部と左板上側補強部と右板上側補強部とで囲まれて形成された凹部とを備えたことを特徴とする。
また、壁板上側補強部は、左板の上端縁と右板の上端縁との間において壁板の上端縁に沿って連続してかつ壁板の上端縁から前方に延長するように設けられ、左板上側補強部は、壁板上側補強部の左端部より連続して壁板上側補強部よりも前方に延長するように設けられ、右板上側補強部は、壁板上側補強部の右端部より連続して壁板上側補強部よりも前方に延長するように設けられたことを特徴とする。
また、壁板上側補強部と左板上側補強部と右板上側補強部とによって上側補強部が構成され、当該上側補強部は、壁板の上端より延長するように設けられた凹形状平板が前方に折り曲げられて、当該前方に折り曲げられた凹形状平板の凹の底部分を形成する板部が壁板の上端より前方に延長する壁板上側補強部となり、当該凹形状平板の凹の一方の側部と左板の上端縁とが溶接されたことによって当該一方の側部が左板上側補強部となり、当該凹形状平板の凹の他方の側部と右板の上端縁とが溶接されたことによって当該他方の側部が右板上側補強部となるように構成されたことを特徴とする。
本発明に係る止水装置によれば、右板の上部側や左板の上部側の撓み変形を抑制できる止水装置を提供できるようになった。
また、壁板の板面に左右方向に連続するように設けられた壁板補強部を備えたことを特徴とする。
また、壁板補強部は、壁板の上下方向の高さ寸法をHとした場合、壁板の下端から高さ1/3Hの位置に設けられたことを特徴とする。
また、壁板補強部は、左板と右板との間に亘って連続して延在する長さの補強材、又は、左板と右板との間において間欠的に設けられた複数の補強材により構成されたことを特徴とする。
本発明に係る止水装置によれば、上述したような壁板補強部を備えたので、凹部内に貯留された水の量が多くなっても、壁板が撓み難い止水装置を提供できるようになった。
【図面の簡単な説明】
【0007】
止水装置が扉枠の内側の開口の下部側を塞ぐように設置された状態を前側(屋外側)から見た正面図(実施形態1)。
止水装置と扉枠の開口との関係を示す斜視図(実施形態1)。
止水装置を後側から見た斜視図(実施形態1)。
止水装置の平面図(実施形態1)。
止水装置と扉枠及び扉との関係を示す横断面図(実施形態1)。
止水装置と扉枠及び扉との関係を示す縦断面図(実施形態1)。
止水装置を後側から見た斜視図(従来例)。
止水装置の平面図(従来例)。
止水装置と扉枠及び扉との関係を示す横断面図であり、(a)は止水装置が撓んでいない状態を示し、(b)は止水装置が撓んだ状態を示す(従来例)。
止水装置を後側から見た図であり、(a)は止水装置が撓んでいない状態を示し、(b)は止水装置が撓んだ状態を示す(従来例)。
【発明を実施するための形態】
【0008】
実施形態1
以下、図1乃至図6に基づいて、実施形態1に係る止水装置1について説明する。
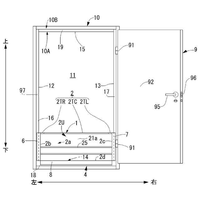
実施形態1に係る止水装置1は、左面と右面と下面とを有した開口を塞いで当該開口を介した水の通過を防止するために用いられる装置であり、例えば図1に示すように、建築構造物に設けられた扉9の扉枠10における内側の開口11の下部側を塞いで当該開口11を介した水の通過を防止するために用いられるものである。
尚、本明細書において、上、下、左、右、前、後は、図1乃至図6の各図に示した方向と定義して説明する。
また、図5の断面図においては、水密維持手段3及びエアタイトゴム20以外の部分のハッチングは省略し、図6の断面図においては、止水装置1及び水密維持手段3以外の部分のハッチングは省略した。
【0009】
「建築構造物」とは、一戸建て、マンション、ビル、倉庫、工場などの所謂建物や、車庫、カーポート、門、塀などの外構、トンネルや地下街などの建造物等をいう。
開口11の前側は「屋内側及び屋外側のうちのいずれか」、開口11の後側は「屋内側及び屋外側のうちのいずれか」であるが、実施形態1においては、開口11の前側が屋外側、開口11の後側が屋内側である場合を例にして説明する。
即ち、図1乃至図6に示した左右は、図2に示す前側(屋外側)から後側(屋内側)を見た場合の左右である。
【0010】
図1に示すように、扉9は例えば開き戸(Swingdoor)形式の玄関扉である。
扉枠10には、扉9がヒンジ91を介して開閉可能に取付けられている。図1では、扉枠10の右側部(右枠)にヒンジ91を介して取付けられて、当該ヒンジ91を回転中心として前側(屋外側)に回動可能に構成された扉9を例示した。
尚、扉枠10の左内面12、右内面13、下内面14、上内面15により、扉枠10における内側の開口11の左面、右面、下面、上面が構成される。
扉枠10の左側の戸当り16は、扉枠10の左内面12の前端縁より左方向に延長する左枠前部分である。
扉枠10の右側の戸当り17は、扉枠10の右内面13の前端縁より右方向に延長する右枠前部分である。
扉枠10の下側の戸当り18は、扉枠10の下内面14の前端縁より下方向に延長する下枠前部分である。
扉枠10の上側の戸当り19は、扉枠10の上内面15の前端縁より上方向に延長する上枠前部分である。
即ち、扉枠10の戸当り16,17,18,19は、閉じられた扉9の後側(屋内側)の扉面92における周縁部が対向する内枠部10Aの前側部分であり、通常、当該戸当り16,17,18,19には、扉9の扉面92における周縁部と扉枠10とを直接接触させないようにして、かつ、扉9の扉面92における周縁部と扉枠10との密着性を確保するために、エアタイトゴム20(図5,図6参照)が設けられている。
また、戸当り16,17,18,19の前方には、内枠部10Aを囲む大きさの外枠部10Bが設けられ、当該外枠部10Bの内側に、閉じられた状態の扉9が収まるように構成されている(図1,図5参照)。
(【0011】以降は省略されています)
この特許をJ-PlatPat(特許庁公式サイト)で参照する
関連特許
文化シヤッター株式会社
シャッター構造
2日前
株式会社ESP
止水板
3か月前
株式会社ナカオ
作業台
2か月前
中国電力株式会社
脚立
3か月前
株式会社ニチベイ
遮蔽装置
1か月前
三協立山株式会社
開口部装置
3か月前
三協立山株式会社
開口部装置
1か月前
三協立山株式会社
開口部装置
3か月前
三協立山株式会社
開口部建材
24日前
三協立山株式会社
開口部建材
24日前
三協立山株式会社
開口部装置
2か月前
三協立山株式会社
開口部装置
2か月前
三協立山株式会社
開口部装置
3か月前
ミサワホーム株式会社
水切り材
3か月前
豊田合成株式会社
調光装置
23日前
文化シヤッター株式会社
引戸装置
1か月前
株式会社ニチベイ
縦型ブラインド
3か月前
豊田合成株式会社
調光装置
1か月前
不二サッシ株式会社
引違いサッシ
1か月前
文化シヤッター株式会社
止水装置
1か月前
不二サッシ株式会社
引違いサッシ
2か月前
三協立山株式会社
サッシの製造方法
2か月前
株式会社LIXIL
太陽電池ガラス
2か月前
株式会社LIXIL
建具
1か月前
株式会社LIXIL
建具
1か月前
三協立山株式会社
エクステリア構成材
3か月前
株式会社LIXIL
建具
1か月前
株式会社LIXIL
建具
1か月前
株式会社LIXIL
建具
3か月前
倉敷紡績株式会社
外構ユニット
1か月前
三和シヤッター工業株式会社
水密構造
3か月前
株式会社LIXIL
建具
1か月前
株式会社LIXIL
建具
1か月前
株式会社LIXIL
建具
3か月前
株式会社LIXIL
建具
3か月前
株式会社LIXIL
建具
3か月前
続きを見る
他の特許を見る