TOP
|
特許
|
意匠
|
商標
特許ウォッチ
Twitter
他の特許を見る
10個以上の画像は省略されています。
公開番号
2025144433
公報種別
公開特許公報(A)
公開日
2025-10-02
出願番号
2024044202
出願日
2024-03-19
発明の名称
建具
出願人
株式会社LIXIL
代理人
個人
,
個人
,
個人
主分類
E06B
5/16 20060101AFI20250925BHJP(戸,窓,シャッタまたはローラブラインド一般;はしご)
要約
【課題】コーナーブロックを有する障子を備え、防火性能を向上させることができる建具具を提供すること。
【解決手段】建具1は、枠体10と、枠体10内に配置され框体200を有する障子20と、を備え、框体200は、一対の縦材23,24と、一対の横材21,22と、縦材23,24と横材21,22との間に設けられるコーナーブロック25,26,27,28と、を有し、コーナーブロック25,26,27,28は、少なくとも樹脂部分251,261を有すると共に、外部に露出して配置される部分を有し、コーナーブロック2,26に取り付けられる加熱発泡材256,266を備える。
【選択図】図13
特許請求の範囲
【請求項1】
枠体と、
前記枠体内に配置され、框体を有する障子と、を備え、
前記框体は、一対の縦材と、一対の横材と、前記縦材と前記横材との間に設けられるコーナーブロックと、を有し、
前記コーナーブロックは、少なくとも樹脂部分を有すると共に、外部に露出して配置される部分を有し、
前記コーナーブロックに取り付けられる加熱発泡材を備える、建具。
続きを表示(約 240 文字)
【請求項2】
前記加熱発泡材は発泡して、前記障子と前記枠体との間を塞ぐ、請求項1に記載の建具。
【請求項3】
前記コーナーブロックは、金属部分を有し、
前記加熱発泡材は、前記金属部分に取り付けられる、請求項1又は2に記載の建具。
【請求項4】
前記コーナーブロックは、金属部分を有し、
前記加熱発泡材は、前記樹脂部分に取り付けられ、
前記金属部分は、前記加熱発泡材よりも下に配置される、請求項1又は2に記載の建具。
発明の詳細な説明
【技術分野】
【0001】
本開示は、建具に関する。
続きを表示(約 2,800 文字)
【背景技術】
【0002】
従来、一対の縦框(縦材)と一対の横框(横材)とが框組みされた框体と、框体内に配置されるガラスと、を備える障子と、を備える建具が知られている(例えば、特許文献1参照)。特許文献1に記載の障子のコーナー部にはコーナーブロックが設けられ、コーナーブロックの中には、加熱発泡材が設けられている。
【先行技術文献】
【特許文献】
【0003】
特開2019-60225号公報
【発明の概要】
【発明が解決しようとする課題】
【0004】
ところで、障子のコーナーブロックが樹脂で形成されている場合には、火災等の際に、樹脂製のコーナーブロックが火炎の熱により溶融して、火炎の熱が障子の室内外方向に貫通してしまう可能性がある。
【0005】
本開示は、コーナーブロックを有する障子を備え、防火性能を向上させることができる建具を提供することを目的とする。
【課題を解決するための手段】
【0006】
本開示は、枠体と、前記枠体内に配置され、框体を有する障子と、を備え、前記框体は、一対の縦材と、一対の横材と、前記縦材と前記横材との間に設けられるコーナーブロックと、を有し、前記コーナーブロックは、少なくとも樹脂部分を有すると共に、外部に露出して配置される部分を有し、前記コーナーブロックに取り付けられる加熱発泡材を備える、建具に関する。
【図面の簡単な説明】
【0007】
第1実施形態の縦辷り出し窓を室内側から見た図である。
図1のA-A線断面図である。
図1のB-B線断面図である。
第1実施形態の縦辷り出し窓の枠体を室内側から見た斜視図である。
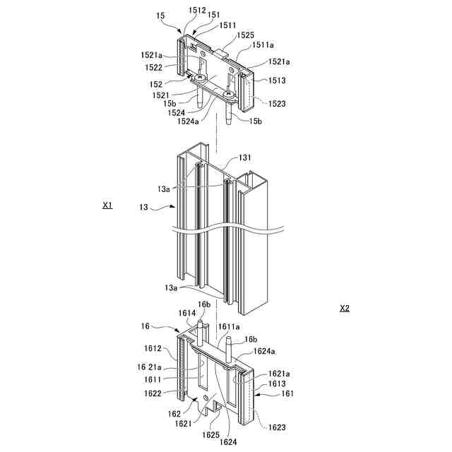
図4の状態から、コーナーブロックを取り付けた一対の縦枠を、上枠及び下枠から取り外した状態を示す斜視図である。
アタッチメント部材を縦枠に取り付ける状態を示す図である。
縦枠からコーナーブロックを取り外した状態を示す斜視図である。
第1実施形態の縦辷り出し窓の障子を室内側から見た斜視図である。
第1実施形態の縦辷り出し窓の障子を室外側から見た斜視図である。
図8の状態から、コーナーブロックを取り付けた一対の縦框を、上框及び下框から取り外した状態を示す斜視図である。
図8のC-C線断面図である。
図8のD-D線断面図である。
縦框からコーナーブロックを取り外した状態を示す斜視図である。
第1実施形態の第1変形例を示す図であって、図13と比べて加熱発泡材を異なる位置に配置した図である。
第1実施形態の第2変形例を示す図であって、図13と比べて加熱発泡材を異なる位置に配置した図である。
第2実施形態の引き違い窓を室内側から見た図である。
図16のE-E線断面図である。
図16のF-F線断面図である。
第2実施形態の内障子を室内側から見た斜視図である。
第2実施形態の内障子を室外側から見た斜視図である。
図19の状態から、コーナーブロックを取り付けた一対の縦框を、上框及び下框から取り外した状態を示す斜視図である。
図19のG-G線断面図である。
図19のH-H線断面図である。
図19のI-I線断面図である。
内障子の召し合わせ縦框からコーナーブロックを取り外した状態を示す斜視図である。
内障子の戸先縦框からコーナーブロックを取り外した状態を示す斜視図である。
第2実施形態の第1変形例を示す図であって、図26の下框とは加熱発泡材を異なる位置に配置した図である。
障子の下框に戸車が取り付けられた状態を示す斜視図である。
図28において、障子の下框にスペーサ部材を介して戸車を取り付ける状態を示す図である。
第2実施形態の第2変形例を示す図であって、内障子の下框に2連の車を有すると戸車が取り付けられた状態を示す斜視図である。
図30において、障子の下框にスペーサ部材を介して2連の戸車を取り付ける状態を示す図である。
第3実施形態の内障子を室内側から見た斜視図である。
第3実施形態の内障子を室外側から見た斜視図である。
図32の状態から、コーナーブロックを取り付けた一対の縦框を、上框及び下框から取り外した状態を示す斜視図である。
図32のJ-J線断面図である。
図32のK-K線断面図である。
図32のL-L線断面図である。
内障子の召し合わせ縦框からコーナーブロックを取り外した状態を示す斜視図である。
内障子の戸先縦框からコーナーブロックを取り外した状態を示す斜視図である。
第4実施形態の連窓を室内側から見た図である。
第4実施形態の連窓を室内側から見た斜視図である。
第4実施形態の連窓を上方側から見た図である。
【発明を実施するための形態】
【0008】
以下、本開示の実施形態について、図面を参照しながら詳しく説明する。なお、本明細書において、「見込み方向」とは、建具における室内外方向に沿う方向である。「見付け方向」とは、建具における面材(ガラス)の面方向に沿う方向であり、見込み方向に対して直交する方向である。「見付け面」は、建具における室外側及び室内側に面するそれぞれの面を意味し、「見込み面」は、建具において室内外方向に延びる面を意味する。図面において、建具の室外側を「室外側X1」とし、建具の室内側を「室内側X2」とする。建具を正面視したときの横方向を「左右」とする。
【0009】
第1実施形態について説明する。第1実施形態は、建具を、縦辷り出し窓1により構成した実施形態である。図1~図3に示すように、縦辷り出し窓1(建具)は、建物躯体100に設けられた開口部110に納められる。縦辷り出し窓1は、枠体10(フレーム体)と、枠体10内に開閉可能に配置される障子20と、を備える。枠体10は、建物躯体100に固定されている。障子20は、戸先側を室外側X1に押出し、吊元側に設けられた図示しない回動軸を中心として回動させることで、開放可能となっている。
【0010】
図2~図5に示すように、枠体10は、上枠11(横枠、横材)、下枠12(横枠、横材)及び左右の縦枠13,14(吊元側縦枠13及び戸先側縦枠14)(枠、縦材)が矩形に枠組みされて構成される。上枠11、下枠12及び左右の縦枠13,14は、アルミニウム材料などの金属材料を押出し成形することで形成される。
(【0011】以降は省略されています)
この特許をJ-PlatPat(特許庁公式サイト)で参照する
関連特許
株式会社LIXIL
建具
3日前
株式会社LIXIL
家具
27日前
株式会社LIXIL
建具
今日
株式会社LIXIL
建具
13日前
株式会社LIXIL
建具
13日前
株式会社LIXIL
建具
13日前
株式会社LIXIL
建具
今日
株式会社LIXIL
建具
今日
株式会社LIXIL
建具
今日
株式会社LIXIL
建具
今日
株式会社LIXIL
建具
今日
株式会社LIXIL
建具
13日前
株式会社LIXIL
建具
3日前
株式会社LIXIL
洗濯室
27日前
株式会社LIXIL
便器装置
1日前
株式会社LIXIL
便器装置
23日前
株式会社LIXIL
宅配ボックス
今日
株式会社LIXIL
日除けシート
3日前
株式会社LIXIL
太陽電池ガラス
3日前
株式会社LIXIL
窓用ステー及び開き窓
今日
株式会社LIXIL
窓用ステー及び開き窓
今日
株式会社LIXIL
建具及び建具の改修方法
14日前
株式会社LIXIL
建具および建具の改装方法
今日
株式会社LIXIL
建具および建具の改装方法
今日
株式会社LIXIL
物干具及び物干具の取付方法
27日前
株式会社LIXIL
改装建具及び建具の防火構造
7日前
株式会社LIXIL
障子、建具、及び障子の施工方法
今日
株式会社LIXIL
床タイル及び床タイルの製造方法
今日
株式会社LIXIL
障子、建具、及び障子の施工方法
今日
株式会社LIXIL
シャワーヘッド装置及び浴室ユニット
1日前
株式会社LIXIL
鏡ユニット及び鏡ユニットの取付方法
27日前
株式会社LIXIL
宅配ボックス及び宅配ボックスの設置方法
今日
株式会社LIXIL
熱処理木材の漂白方法および木材の処理方法
13日前
株式会社LIXIL
カーテンウォールおよび太陽光パネルの点検方法
15日前
株式会社LIXIL
蹴込み構造、蹴込み構造の施工方法及びベース材
22日前
株式会社LIXIL
建具
15日前
続きを見る
他の特許を見る