TOP
|
特許
|
意匠
|
商標
特許ウォッチ
Twitter
他の特許を見る
10個以上の画像は省略されています。
公開番号
2025137353
公報種別
公開特許公報(A)
公開日
2025-09-19
出願番号
2024164285
出願日
2024-09-20
発明の名称
建具
出願人
株式会社LIXIL
代理人
個人
,
個人
,
個人
主分類
E06B
1/04 20060101AFI20250911BHJP(戸,窓,シャッタまたはローラブラインド一般;はしご)
要約
【課題】製作コストを抑えつつ耐風圧性を高めることができる建具を提供する。
【解決手段】枠体2の上枠21は、内障子3の屋外側への移動を規制する中間見付板部215を有し、枠体2の下枠22は、内障子3の屋外側への移動を規制する内障子下レール221を有し、上枠21の中間見付板部215および下枠22の内障子下レール221の少なくとも一方の屋外側には、上枠補強部材25、下枠補強部材26が設けられ、上枠補強部材25および下枠補強部材26は、基部253,261aと、基部253,261aの屋内側に接続された屋内板部254,261bと、を有し、基部253,261aは、上枠21および下枠22のいずれかに固定され、屋内板部254,261bは、中間見付板部215および内障子下レール221のいずれかの屋外側の面に沿って配置される。
【選択図】図2
特許請求の範囲
【請求項1】
躯体の開口部の縁部に設けられた枠体と、
前記枠体に支持される内障子および外障子と、を有し、
前記枠体の上枠および下枠は、それぞれ前記内障子の屋外側への移動を規制するレールを有し、
前記上枠および下枠の少なくとも一方の前記レールの屋外側には、補強部材が設けられ、
前記補強部材は、
基部と、
前記基部の屋内側に接続された屋内板部と、を有し、
前記基部は、前記上枠および下枠のいずれかに固定され、
前記屋内板部は、前記レールの屋外側の面に沿って配置される建具。
続きを表示(約 1,100 文字)
【請求項2】
前記内障子および前記外障子は、それぞれ前記枠体にスライド可能に支持される請求項1に記載の建具。
【請求項3】
前記補強部材は、前記内障子および前記外障子が前記開口部を閉鎖した際に、それぞれの召合框が屋内外方向に重なる召合部の近傍に設けられている請求項2に記載の建具。
【請求項4】
前記補強部材は、前記内障子および前記外障子が前記開口部を閉鎖した際に、前記内障子および前記外障子のいずれかが配置される位置の上方および下方のいずれかに配置される請求項2に記載の建具。
【請求項5】
前記内障子の上框および下框の少なくとも一方における召合框側の端部には、前記屋内板部と対向する位置に、前記レールとの隙間を埋める部品が取り付けられている請求項2に記載の建具。
【請求項6】
前記補強部材は、前記上枠の前記レールの屋外側に設けられる上枠補強部材であり、
前記基部は、前記上枠にねじで固定され、前記ねじを緩めることによって前記上枠に対して幅方向にスライド可能である請求項2に記載の建具。
【請求項7】
前記補強部材は、前記下枠の前記レールの屋外側に設けられる下枠補強部材であり、
前記レールは、
前記内障子の戸車が載置される戸車載置部と、
前記戸車載置部を下側から支持する支持部と、を有し、
前記下枠補強部材の前記屋内板部は、前記支持部の屋外側に沿って設けられ、前記戸車載置部の下側に前記戸車載置部の屋内外方向の寸法の範囲内に設けられている請求項2に記載の建具。
【請求項8】
前記内障子および前記外障子のいずれか一方は、前記枠体にスライド可能に支持される移動障子であり、他方は、前記枠体に対してスライドが拘束された固定障子であり、
前記補強部材は、
前記固定障子のスライドを拘束する障子拘束部と、
前記固定障子を屋内側に引き寄せる障子引寄せ部と、を有する請求項1に記載の建具。
【請求項9】
前記固定障子の召合框と上框との接続部に設けられ、前記召合框に対する前記上框の回転を拘束する回転拘束部材を有する請求項8に記載の建具。
【請求項10】
前記上枠および前記下枠は、それぞれ前記固定障子の上框および下框の屋外側に位置し、前記固定障子の上框および下框と対向する見付板部を有し、
前記固定障子の上框および下框は、それぞれ屋外側に突出する突起部を有する請求項8または9に記載の建具。
発明の詳細な説明
【技術分野】
【0001】
本開示は、建具に関する。
続きを表示(約 2,600 文字)
【背景技術】
【0002】
建物の高層階に設ける建具は、高い耐風圧性が望まれている。特許文献1に開示されているような引き違いサッシの場合、耐風圧性を高めるためには、例えば、枠体や、内障子および外障子の框を肉厚にするなどして強固な構造にしている。
【先行技術文献】
【特許文献】
【0003】
特開2019-163658号公報
【発明の概要】
【発明が解決しようとする課題】
【0004】
建物の高層階に設ける建具の枠体や框の肉厚にする場合、製作コストがかかるという問題がある。また、建物の高層階に設ける建具と、低層階に設ける建具が異なる場合、管理が煩雑になるという問題がある。
【0005】
本開示は、製作コストを抑えつつ耐風圧性を高めることができる建具を提供することを目的とする。
【課題を解決するための手段】
【0006】
上記目的を達成するため、本開示に係る建具は、躯体の開口部の縁部に設けられた枠体と、前記枠体に支持される内障子および外障子と、を有し、前記枠体の上枠および下枠は、それぞれ前記内障子の屋外側への移動を規制するレールを有し、前記上枠および下枠の少なくとも一方の前記レールの屋外側には、補強部材が設けられ、前記補強部材は、基部と、前記基部の屋内側に接続された屋内板部と、を有し、前記基部は、前記上枠および下枠のいずれかに固定され、前記屋内板部は、前記レールの屋外側の面に沿って配置される。
【図面の簡単な説明】
【0007】
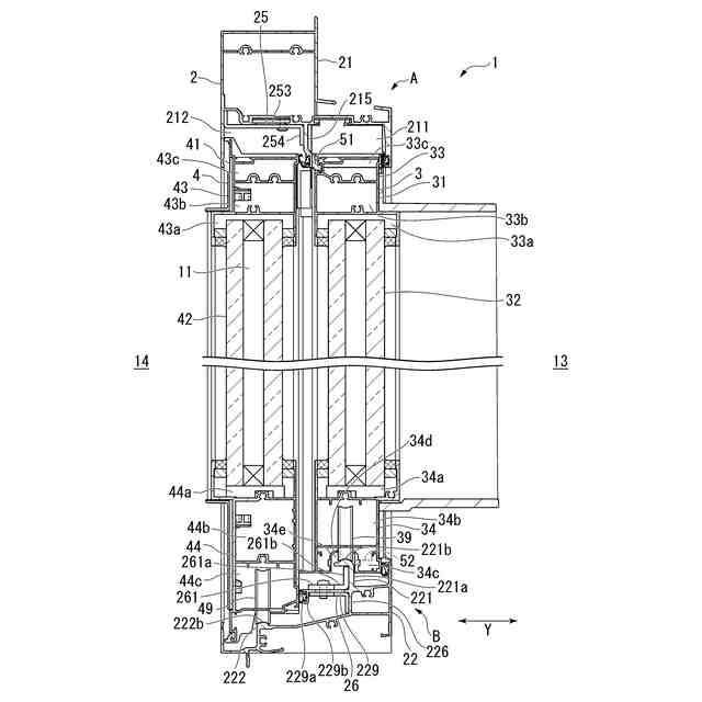
第1実施形態の建具を屋内側から見た正面図である。
第1実施形態の建具の鉛直断面図である。
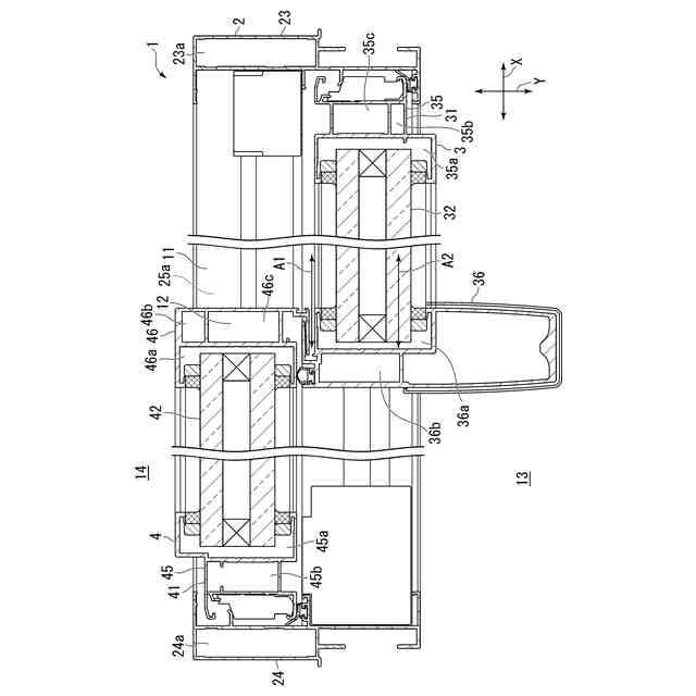
第1実施形態の建具の水平断面図である。
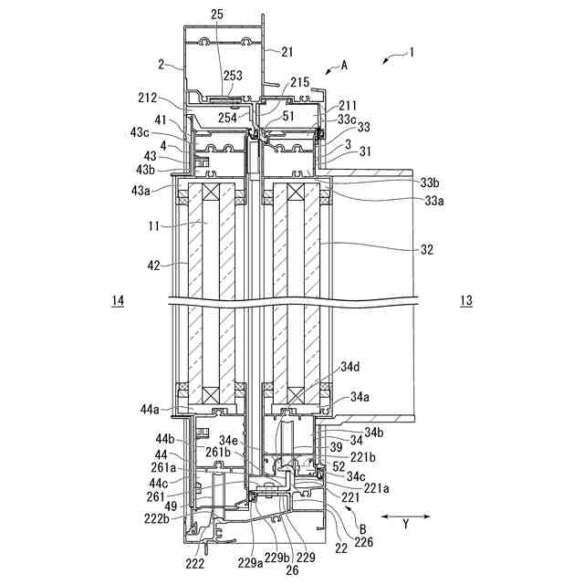
図2のA部分の拡大図である。
上枠および上枠補強部材を下方から見た図である。
補強部の平面図である。
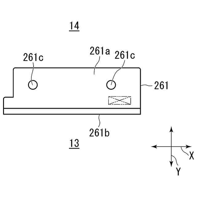
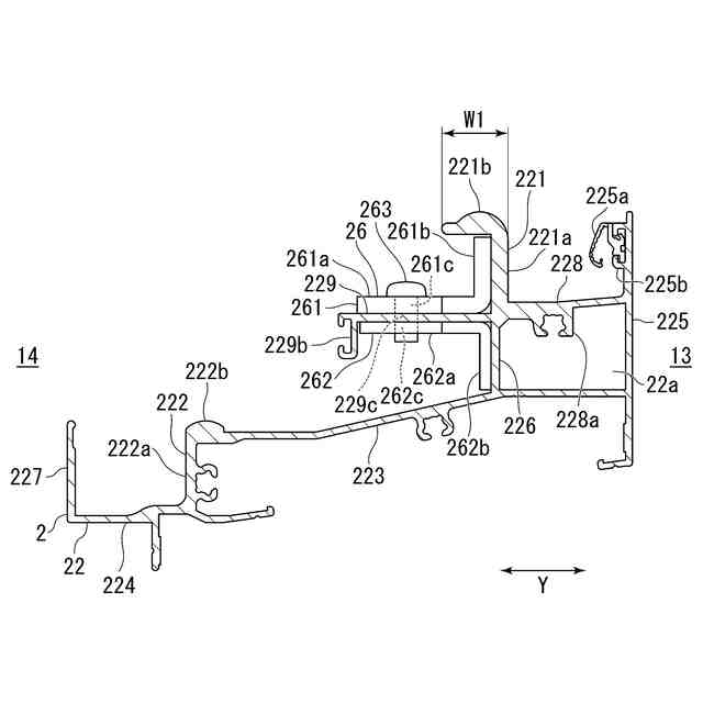
図2のB部分の拡大図で下枠および下枠補強部材を示す鉛直断面図である。
下枠および下枠補強部材を示す平面図である。
上側補強部の平面図である。
下側補強部の平面図である。
建具の下側部分の鉛直断面図である。
内障子の戸先框に取り付けられた把手を示す図である。
実施形態の変形例のアルミ樹脂複合サッシの建具を示す図である。
第2実施形態の建具の鉛直断面図である。
第2実施形態の建具の水平断面図である。
召合部を屋外側、幅方向の一方側かつ下方から見た斜視図である。
召合部を屋内側、幅方向の他方側かつ下方から見た斜視図である。
上枠補強部材の補強部の斜視図である。
上枠補強部材を幅方向の一方側から見た図である。
上枠補強部材の補強部を屋外側から見た図である。
上枠補強部材の補強部を下側から見た図である。
図14の上側部分の拡大図である。
外障子の上側部分の斜視図である。
上枠補強部材と外障子との位置を示す図である。
上枠補強部材と外障子との位置を示す障子引寄せ部を省略した図である。
図14の下側部分の拡大図である。
外障子の下側部分の斜視図である。
外障子の回転拘束部材が設けられている部分を示す斜視図である。
外障子の召合框と上框を示す図である。
回転拘束部材の斜視図である。
回転拘束部材を幅方向の他方側から見た図である。
回転拘束部材を上方から見た図である。
【発明を実施するための形態】
【0008】
(第1実施形態)
図1から図3に示すように、第1実施形態の建具1は、引き違い窓である。建具1は、アルミサッシである。建具1は、枠体2と、内障子3と、外障子4と、を有する。枠体2は、建物の屋内外を仕切る壁部の開口部11の縁部に沿って設けられる。壁部に直交する方向であり、屋内と屋外とを結ぶ方向を屋内外方向と表記する。図面では、屋内外方向を矢印Yで示す。図面では、屋内を符号「13」で示し、屋外を符号「14」で示す。壁部に沿った方向であり、屋内外方向に直交する水平方向を幅方向と表記する。図面では、幅方向を矢印Xで示す。内障子3および外障子4は、幅方向にスライドする。内障子3および外障子4は、枠体2の内側に設けられる。内障子3および外障子4は、枠体2の内側において幅方向にスライド可能である。幅方向のうち、内障子3および外障子4が開口部11を閉鎖した際に内障子3が配置される側を一方側と表記し、外障子4が配置される側を他方側と表記する。各部材の説明は、その部材が定位置に配置されている場合の姿勢であるものとして説明する。
【0009】
枠体2は、四方枠である。枠体2は、上枠21と、下枠22と、一対の縦枠23,24と、上枠補強部材25と、下枠補強部材26と、を有する。上枠21、下枠22および一対の縦枠23,24は、アルミニウムの形材である。上枠21および下枠22は、幅方向に延びている。一対の縦枠23,24は上下方向に延びている。上枠21、下枠22および一対の縦枠23,24は、それぞれ長さ方向全体にわたって略同じ断面形状である。上枠補強部材25は、上枠21に取り付けられる。上枠補強部材25は、上枠21を補強する補強部材である。下枠補強部材26は、下枠22に取り付けられる。下枠補強部材26は、下枠22を補強する補強部材である。
【0010】
内障子3は、框31と、複層ガラス32と、把手8と、を有する。把手8は、図12に示す。框31は、上框33と、下框34と、戸先框35と、召合框36と、を有する。上框33、下框34、戸先框35および召合框36は、アルミの形材である。上框33および下框34は、幅方向に延びている。戸先框35および召合框36は、上下方向に延びている。上框33は、戸先框35の上端部と召合框36の上端部との間に設けられている。
下框34は、戸先框35の下端部と召合框36の下端部との間に設けられている。上框33、下框34、戸先框35および召合框36は、それぞれ長さ方向全体にわたって略同じ断面形状である。把手8は、戸先框35に取り付けられている。
(【0011】以降は省略されています)
この特許をJ-PlatPat(特許庁公式サイト)で参照する
関連特許
株式会社LIXIL
建具
1か月前
株式会社LIXIL
トレーラー
24日前
株式会社LIXIL
シリンダ錠
1か月前
株式会社LIXIL
トイレ装置
1か月前
株式会社LIXIL
シャワー装置
9日前
株式会社LIXIL
湯水混合装置
22日前
株式会社LIXIL
カーテンウォール
1か月前
株式会社LIXIL
カーテンウォール
1か月前
株式会社LIXIL
二重窓の改装方法
15日前
株式会社LIXIL
洗浄水タンク装置
1か月前
株式会社LIXIL
可燃性ガス回収装置
1か月前
株式会社LIXIL
ドア開閉装置及びドア
9日前
株式会社LIXIL
カバー材及び改装建具
1か月前
株式会社LIXIL
カバー材及び改装建具
1か月前
株式会社LIXIL
カバー材及び改装建具
1か月前
株式会社LIXIL
建具及び建具の施工方法
1か月前
株式会社LIXIL
混合装置及び水回り装置
1か月前
株式会社LIXIL
シリンダ錠及び建物設備機器群
1か月前
株式会社LIXIL
ポンプ、及び電気温水器システム
1日前
株式会社LIXIL
ソファベッド、及び、トレーラー
24日前
株式会社LIXIL
支援装置、支援プログラム、及び方法
1か月前
株式会社LIXIL
トイレ装置、トイレシステム及び排卵推測装置
1か月前
株式会社LIXIL
物品収納提案装置、物品収納提案方法、端末装置
1か月前
株式会社LIXIL
床モジュール、床構造体及び床構造体の施工方法
1か月前
株式会社LIXIL
管理装置、管理方法、及びコンピュータプログラム
1か月前
株式会社LIXIL
管理装置、管理方法、及びコンピュータプログラム
1か月前
株式会社LIXIL
管理装置、管理方法、及びコンピュータプログラム
1か月前
株式会社LIXIL
建具
1日前
株式会社LIXIL
液膜装置、液膜形成方法、制御装置、及び水回り装置
24日前
株式会社LIXIL
開き窓
9日前
株式会社LIXIL
便器装置
1日前
株式会社LIXIL
改装サッシ
1か月前
株式会社LIXIL
屋根構造体
1か月前
株式会社LIXIL
表示制御装置、表示制御システム、プログラム及び表示制御方法
1か月前
株式会社LIXIL
制御装置、コンピュータプログラム、調整方法、及び、制御システム
1か月前
株式会社LIXIL
吐水システム、浴室ユニット、コンピュータプログラム及び制御方法
1か月前
続きを見る
他の特許を見る