TOP
|
特許
|
意匠
|
商標
特許ウォッチ
Twitter
他の特許を見る
10個以上の画像は省略されています。
公開番号
2025139924
公報種別
公開特許公報(A)
公開日
2025-09-29
出願番号
2024039015
出願日
2024-03-13
発明の名称
建具
出願人
株式会社LIXIL
代理人
個人
,
個人
,
個人
主分類
E06B
3/26 20060101AFI20250919BHJP(戸,窓,シャッタまたはローラブラインド一般;はしご)
要約
【課題】断熱性能を確保しつつ、ガラス保持部の強度を向上させることができる建具を提供すること。
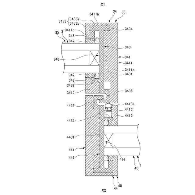
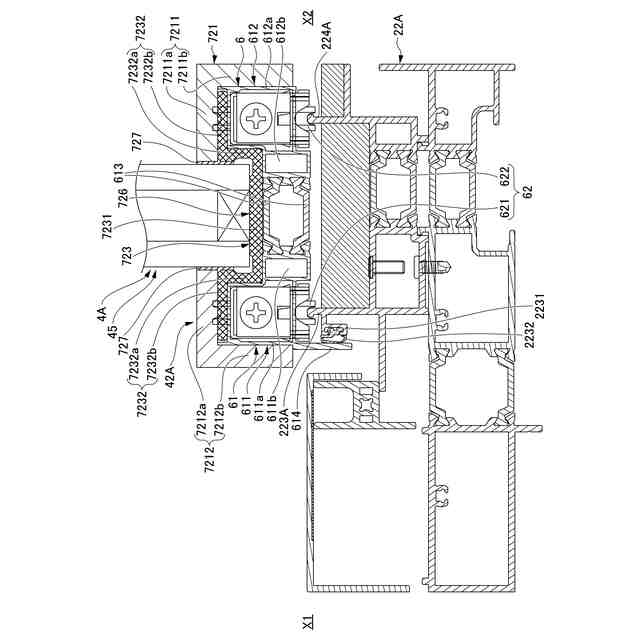
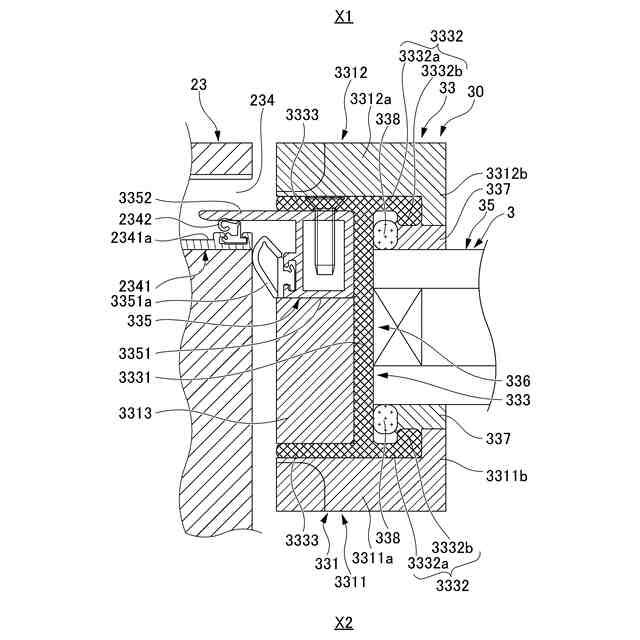
【解決手段】建具1は、見込み方向に厚さを有すると共に見付け方向に延びるガラス35,45と、ガラス35,45の見付け方向の端部を保持するガラス保持部31,32,33,34,41,42,43,44と、を備え、ガラス保持部は、ガラス保持本体部311,321,331,341,411,421,431,441と、ガラス保持本体部311,321,331,341に設けられ繊維強化プラスチックにより構成される繊維強化芯材313,323,333,343,413,423,433,443と、を有し、繊維強化芯材343は、見込み方向に沿って延びる第1部分3431と、第1部分3431から見付け方向に沿って延びる第2部分3432,3433,3433a,3434と、を有する。
【選択図】図7
特許請求の範囲
【請求項1】
見込み方向に厚さを有すると共に見付け方向に延びるガラスと、
前記ガラスの見付け方向の端部を保持するガラス保持部と、を備え、
前記ガラス保持部は、ガラス保持本体部と、前記ガラス保持本体部に設けられ繊維強化プラスチックにより構成される繊維強化芯材と、を有し、
前記繊維強化芯材は、見込み方向に沿って延びる第1部分と、前記第1部分から見付け方向に沿って延びる第2部分と、を有する、建具。
続きを表示(約 740 文字)
【請求項2】
前記第2部分は、前記ガラスの厚さ方向の中心位置に対して見込み方向において異なる距離の位置に複数設けられる、請求項1に記載の建具。
【請求項3】
前記繊維強化芯材は、前記ガラスの見付け方向の端部を覆うように設けられる、請求項1又は2に記載の建具。
【請求項4】
前記繊維強化芯材は、前記第1部分と一対の前記第2部分とによりU字状に形成され前記ガラスの見付け方向の端部を覆うU字部分を有する、請求項3に記載の建具。
【請求項5】
前記繊維強化芯材は、前記ガラスの見付け方向の下端部に沿って配置される前記第1部分と、前記ガラスの厚さ方向において前記ガラスの見付け面よりも外側に延びる外側延出部と、を有する、請求項4に記載の建具。
【請求項6】
前記ガラスの見付け方向の下端部に設けられた前記繊維強化芯材の下方側において見込み方向に延びる補強部を有し、
前記補強部は、室外側補強部と、室内側補強部と、室外側補強部と室内側補強部との間に配置されるブリッジ材と、を有し、
前記ブリッジ材は、前記繊維強化芯材の下方に設けられる、請求項1又は2に記載の建具。
【請求項7】
前記ガラス保持本体部は、木材である、請求項1又は2に記載の建具。
【請求項8】
前記ガラス保持部は、前記ガラス保持本体部に固定される気密材配置部を有し、
前記気密材配置部は、金属製又は樹脂製である、請求項1又は2に記載の建具。
【請求項9】
前記繊維強化芯材は、アタッチメント部材を介して、前記ガラス保持本体部に取り付けられている、請求項1又は2に記載の建具。
発明の詳細な説明
【技術分野】
【0001】
本開示は、建具に関する。
続きを表示(約 2,300 文字)
【背景技術】
【0002】
従来、ガラスと、ガラスの端部を保持するガラス保持部と、を有する建具が知られている(例えば、特許文献1参照)。特許文献1に記載されるガラス保持部を構成する枠材は、枠材本体と、枠材本体の内部に配置される金属製の芯材と、を備えている。
【先行技術文献】
【特許文献】
【0003】
特開2001-241266号公報
【発明の概要】
【発明が解決しようとする課題】
【0004】
特許文献1に記載の建具においては、ガラス保持部を構成する枠材本体の内部に金属製の芯材を配置することで、ガラス保持部の強度を確保している。しかしながら、枠材本体の内部に金属製の芯材を配置しているため、芯材が熱橋となり、断熱性能が低下する可能性がある。
【0005】
本開示は、断熱性能を確保しつつ、ガラス保持部の強度を向上させることができる建具を提供することを目的とする。
【課題を解決するための手段】
【0006】
本開示は、見込み方向に厚さを有すると共に見付け方向に延びるガラスと、前記ガラスの見付け方向の端部を保持するガラス保持部と、を備え、前記ガラス保持部は、ガラス保持本体部と、前記ガラス保持本体部に設けられ繊維強化プラスチックにより構成される繊維強化芯材と、を有し、前記繊維強化芯材は、見込み方向に沿って延びる第1部分と、前記第1部分から見付け方向に沿って延びる第2部分と、を有する、建具に関する。
【図面の簡単な説明】
【0007】
第1実施形態の建具を室外側から見た図である。
図1に示す第1実施形態の建具の横断面図である。
図1に示す第1実施形態の建具のFIX障子側の縦断面図である。
図1に示す第1実施形態の建具のスライド障子側の縦断面図である。
第1実施形態の建具のFIX障子の上部側及び下部側を拡大した縦断面図である。
第1実施形態の建具のFIX障子の枠側縦框の部分を拡大した横断面図である。
第1実施形態の建具のFIX障子の召し合わせ縦框とスライド障子の召し合わせ縦框とを拡大した図である。
第1実施形態の建具のスライド障子の下部側を拡大した縦断面図である。
第2実施形態の建具のスライド障子の下部側を拡大した縦断面図である。
第3実施形態の建具のFIX障子の召し合わせ縦框とスライド障子の召し合わせ縦框との部分を拡大した横断面図である。
第4実施形態の建具のFIX障子の召し合わせ縦框とスライド障子の召し合わせ縦框との部分を拡大した横断面図である。
第5実施形態の建具のFIX障子の召し合わせ縦框とスライド障子の召し合わせ縦框との部分を拡大した横断面図である。
第6実施形態の建具のFIX障子の召し合わせ縦框とスライド障子の召し合わせ縦框との部分を拡大した横断面図である。
第7実施形態の建具のFIX障子の召し合わせ縦框とスライド障子の召し合わせ縦框とを拡大した図である。
第7実施形態の建具のスライド障子の下部側を拡大した縦断面図である。
第8実施形態の建具を室外側から見た図である。
図16に示す第8実施形態の建具の横断面である。
図16に示す第8実施形態の建具の縦断面図である。
【発明を実施するための形態】
【0008】
以下、本開示の実施形態について、図面を参照しながら詳しく説明する。なお、本明細書において、「見込み方向」とは、建具における室内外方向に沿う方向である。「見付け方向」とは、建具におけるガラス(面材)の面方向に沿う方向であり、見込み方向に対して直交する方向である。「見付け面」は、建具における室外側及び室内側に面するそれぞれの面を意味し、「見込み面」は、建具において室内外方向に延びる面を意味する。図面において、建具の室外側を「室外側X1」とし、建具の室内側を「室内側X2」とする。建具を正面視したときの横方向を「左右」とする。
【0009】
第1実施形態に示す建具1は、図1~図4に示すように、建物躯体の開口部11(図1参照)に取り付けられた枠体2と、枠体2内の左右方向の一方側(図1及び図2の左側)において室外側X1に配置されるFIX障子3(障子)と、枠体2内の左右方向の他方側(図1及び図2の右側)において室内側X2に配置されるスライド障子4(障子)との2枚の障子をそれぞれ納めることによって構成される。FIX障子3は、枠体2内の左右方向の一方側(図1及び図2の左側)に固定されており、嵌め殺し障子ともいう。スライド障子4は、閉位置に位置する場合には、枠体2内の左右方向の他方側(図1及び図2の右側)に配置されており、枠体2内を左右方向(横方向)にスライド移動可能である。
【0010】
本実施形態の建具1は、建物躯体の開口部11に配置される建具である。本実施形態においては、開口部11は、大開口に形成されている。例えば、本実施形態においては、開口部11が大開口であるとは、開口の高さHが2500mm以上である場合の開口を想定している。本実施形態の開口部11は、例えば、高さHが3500mm程度で、横幅Wが5000mm程度の開口の大きさで形成されている。スライド障子4は、例えば、高さHが3500mmで、横幅Wが2500mmで構成されている。
(【0011】以降は省略されています)
この特許をJ-PlatPat(特許庁公式サイト)で参照する
関連特許
株式会社LIXIL
トレーラー
16日前
株式会社LIXIL
シャワー装置
1日前
株式会社LIXIL
湯水混合装置
14日前
株式会社LIXIL
カーテンウォール
1か月前
株式会社LIXIL
二重窓の改装方法
7日前
株式会社LIXIL
カーテンウォール
1か月前
株式会社LIXIL
カバー材及び改装建具
22日前
株式会社LIXIL
ドア開閉装置及びドア
1日前
株式会社LIXIL
カバー材及び改装建具
22日前
株式会社LIXIL
カバー材及び改装建具
22日前
株式会社LIXIL
混合装置及び水回り装置
28日前
株式会社LIXIL
ソファベッド、及び、トレーラー
16日前
株式会社LIXIL
床モジュール、床構造体及び床構造体の施工方法
1か月前
株式会社LIXIL
管理装置、管理方法、及びコンピュータプログラム
22日前
株式会社LIXIL
管理装置、管理方法、及びコンピュータプログラム
22日前
株式会社LIXIL
管理装置、管理方法、及びコンピュータプログラム
22日前
株式会社LIXIL
液膜装置、液膜形成方法、制御装置、及び水回り装置
16日前
株式会社LIXIL
開き窓
1日前
株式会社LIXIL
屋根構造体
1か月前
株式会社LIXIL
制御装置、コンピュータプログラム、調整方法、及び、制御システム
28日前
株式会社LIXIL
吐水システム、浴室ユニット、コンピュータプログラム及び制御方法
1か月前
大和ハウス工業株式会社
外壁の断熱改修構造および外壁の断熱改修方法
28日前
株式会社LIXIL
樹脂組成物成形体の製造方法
1日前
株式会社LIXIL
制御装置、混合装置ユニット、水回り装置、コンピュータプログラム、及び制御方法
28日前
株式会社LIXIL
便器装置及び便器装置のカバー構造
14日前
株式会社LIXIL
制御装置、混合装置ユニット、水回り装置、コンピュータプログラム、及び制御方法
28日前
株式会社セブン-イレブン・ジャパン
店舗営業支援システム
9日前
株式会社LIXIL
情報処理装置、サーバ、情報処理システム、情報処理方法および情報処理プログラム
1日前
株式会社LIXIL
ホームシステム、トリガー発生装置、トリガー発生方法およびトリガー発生プログラム
9日前
株式会社ESP
止水板
3か月前
中国電力株式会社
脚立
3か月前
株式会社ナカオ
作業台
2か月前
株式会社ニチベイ
遮蔽装置
22日前
三協立山株式会社
開口部装置
2か月前
三協立山株式会社
開口部装置
2か月前
三協立山株式会社
開口部建材
15日前
続きを見る
他の特許を見る