TOP
|
特許
|
意匠
|
商標
特許ウォッチ
Twitter
他の特許を見る
10個以上の画像は省略されています。
公開番号
2025165609
公報種別
公開特許公報(A)
公開日
2025-11-05
出願番号
2024069756
出願日
2024-04-23
発明の名称
ソファベッド、及び、トレーラー
出願人
株式会社LIXIL
代理人
個人
,
個人
,
個人
主分類
A47C
17/80 20060101AFI20251028BHJP(家具;家庭用品または家庭用設備;コーヒーひき;香辛料ひき;真空掃除機一般)
要約
【課題】室内空間が圧迫されることが抑えられるソファベッド及び当該ソファベッドを備えるトレーラーを提供すること。
【解決手段】第1枠体71と、水平方向に第1枠体71に対して相対的に進退可能な第2枠体72と、を備えるソファベッド70であって、第1枠体71の上面と、第2枠体72の上面と、が同じ高さに維持されたまま進退することにより進退の方向におけるソファベッド幅が可変であるソファベッド70である。第1枠体71、及び、第2枠体72は、それぞれ櫛歯形状を有し、第1枠体71の櫛歯712と第2枠体72の櫛歯722とが、進退の方向に直交する方向に交互に並べられて配置されて、第1枠体71と第2枠体72とは入れ子状に構成され、第2枠体72の櫛歯722は、第1枠体71の櫛歯712に対して、進退の方向に抜き出し/挿入可能に構成される。
【選択図】図4
特許請求の範囲
【請求項1】
第1枠体と、
水平方向に前記第1枠体に対して相対的に進退可能な第2枠体と、を備えるソファベッドであって、
前記第1枠体の上面と、前記第2枠体の上面と、が同じ高さに維持されたまま前記進退することにより前記進退の方向におけるソファベッド幅が可変であるソファベッド。
続きを表示(約 790 文字)
【請求項2】
前記第1枠体、及び、前記第2枠体は、それぞれ櫛歯形状を有し、
前記第1枠体の櫛歯と前記第2枠体の櫛歯とが、前記進退の方向に直交する方向に交互に並べられて配置されて、前記第1枠体と前記第2枠体とは入れ子状に構成され、
前記第2枠体の櫛歯は、前記第1枠体の櫛歯に対して、前記進退の方向に抜き出し/挿入可能に構成される請求項1に記載のソファベッド。
【請求項3】
前記第2枠体の櫛歯が前記第1枠体の櫛歯に対して、前記進退の方向に最も抜き出された状態のときに、前記第1枠体の櫛歯の先端部と、前記第2枠体の櫛歯の先端部とは、前記進退の方向に直交する方向に交互に並べられて配置された状態となって重なりを持っている請求項2に記載のソファベッド。
【請求項4】
前記第2枠体は、側枠と、前記側枠から延びる延出板部と、を有し、
上下方向において、前記側枠の下端部は、前記延出板部の下端部と一致する位置関係にある請求項1に記載のソファベッド。
【請求項5】
前記第1枠体の上面及び前記第2枠体の上面には、第1マット及び第2マットが載置され、
前記第1枠体の上面及び前記第2枠体の上面に、前記第1マット及び前記第2マットが敷かれることによりベッドを構成し、前記第1マットが敷かれ且つ前記第2マットが前記第2枠体に隣接して配置される壁に立て掛けられた状態で載置されることによりソファを構成する請求項1に記載のソファベッド。
【請求項6】
前記第1枠体は、前記第1枠体に対して相対的に進退する前記第2枠体の前記進退の方向に平行の方向へ引き出し/押し入れ可能な引き出しを備える請求項1に記載のソファベッド。
【請求項7】
請求項1に記載のソファベッドを備えるトレーラー。
発明の詳細な説明
【技術分野】
【0001】
本発明は、ソファベッド、及び、トレーラーに関する。
続きを表示(約 2,300 文字)
【背景技術】
【0002】
トレーラーにおいては、ソファベッドが設けられている(例えば、特許文献1参照)。
【先行技術文献】
【特許文献】
【0003】
特許第3778885号公報
【発明の概要】
【発明が解決しようとする課題】
【0004】
ソファベッドは、トレーラーの室内空間において所定の領域を占める。このためソファベッドにより、トレーラーの室内空間は圧迫されるので、トレーラーの室内空間の圧迫が極力少ないことが要求される。本開示は、室内空間が圧迫されることが抑えられるソファベッド及び当該ソファベッドを備えるトレーラーを提供することを目的とする。
【課題を解決するための手段】
【0005】
本開示は、第1枠体と、水平方向に前記第1枠体に対して相対的に進退可能な第2枠体と、を備えるソファベッドであって、前記第1枠体の上面と、前記第2枠体の上面と、が同じ高さに維持されたまま前記進退することにより前記進退の方向におけるソファベッド幅が可変であるソファベッドに関する。
【図面の簡単な説明】
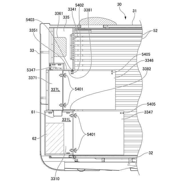
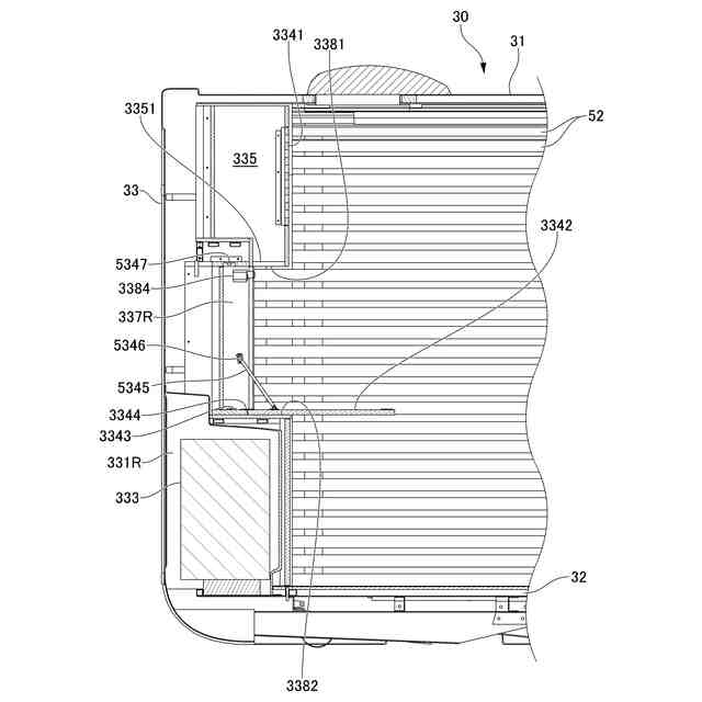
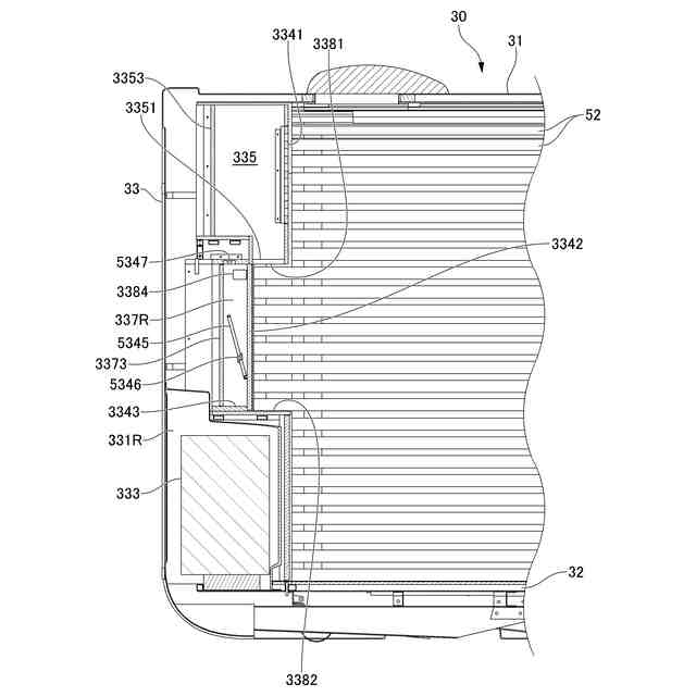
【0006】
一実施形態のトレーラーを示す前側から見た斜視図である。
一実施形態のトレーラーを示す後側から見た斜視図である。
一実施形態のトレーラーの室内空間においてソファベッドがベッドとして用いられている様子を示す斜視図である。
一実施形態のトレーラーの室内空間においてソファベッドがソファとして用いられている様子を示す斜視図である。
一実施形態のトレーラーの室内空間においてライティングデスク及びパーテーションが用いられている様子を示す斜視図である。
一実施形態のトレーラーのフロント部においてライティングデスクが使用されていない状態を示す断面図である。
一実施形態のトレーラーのフロント部においてライティングデスクが使用されている状態を示す断面図である。
一実施形態のトレーラーのフロント部においてパーテーションが使用されていない状態を示す断面図である。
一実施形態のトレーラーのフロント部においてパーテーションが使用されている状態を示す断面図である。
一実施形態のトレーラーのフロント部を示す断面図である。
一実施形態のトレーラーのソファベッドがベッドとして使用されている様子を示す上方斜視図である。
一実施形態のトレーラーのソファベッドがベッドとして使用されている様子を示す下方斜視図である。
一実施形態のトレーラーのソファベッドがベッドとして使用されている状態でマットが取り外された状態を示す上方斜視図である。
一実施形態のトレーラーのソファベッドがソファとして使用されている様子を示す上方斜視図である。
一実施形態のトレーラーのソファベッドがソファとして使用されている様子を示す下方斜視図である。
一実施形態のトレーラーのソファベッドがソファとして使用されている状態で引き出しが引き出された様子を示す上方斜視図である。
一実施形態のトレーラーのソファベッドがソファとして使用されている状態でマットが取り外された状態を示す上方斜視図である。
一実施形態の湾曲部を示す斜視図である。
一実施形態の湾曲部が湾曲壁部に固定された状態を示す背面図である。
一実施形態のトレーラーの天井を示す下方斜視図である。
一実施形態のトレーラーの天井のダクトレールに照明器具を取り付けた様子を示す下方斜視図である。
【発明を実施するための形態】
【0007】
以下、本開示の実施形態について、図面を参照して詳細に説明する。本実施形態における車両を構成するトレーラー1は、小型のキャンピングトレーラに設けられているトイレ室を有していない一部屋の室内空間を有するトレーラーにより構成される。以下、トレーラー1の中心位置から見て、連結部11が設けられている側を前側と定義し、テールゲート34が設けられている側を後側と定義し、天井31が設けられている側を上側と定義し、底壁部32が設けられている側を下側と定義して説明する。
【0008】
トレーラー1は、図1、図2に示すように、前後方向に延びて形成されたシャシ10と、シャシ10上部に着脱可能に取り付けられた、前後方向に長い略直方体形状の荷箱30を有している。トレーラー1は、図示しない車両等によってけん引される。シャシ10は、前端部に連結部11を備えている。連結部11は、図示しない車両に連結可能である。
【0009】
シャシ10の前後中央部には左右1個ずつ計2個の車輪12が回転可能に取り付けられている。これにより、トレーラー1は、前後方向に移動自在であり、トレーラー1を、手動で動かすことが可能である。また、例えば、車輪12は、後述する図示しない電動モータに駆動連結され、電動モータが駆動することにより車輪12が回転して、トレーラー1が移動可能であってもよい。また、例えば、各車輪12は、シャシ10に対して上下方向に移動可能であってもよい。
【0010】
車輪12の下部を除く上部及び中部は、シャシ10に対して着脱可能なカバー13により覆われている。このため、車輪12の下部のみが外部に露出している。
(【0011】以降は省略されています)
この特許をJ-PlatPat(特許庁公式サイト)で参照する
関連特許
株式会社LIXIL
トレーラー
21日前
株式会社LIXIL
シャワー装置
6日前
株式会社LIXIL
湯水混合装置
19日前
株式会社LIXIL
二重窓の改装方法
12日前
株式会社LIXIL
ドア開閉装置及びドア
6日前
株式会社LIXIL
カバー材及び改装建具
27日前
株式会社LIXIL
ソファベッド、及び、トレーラー
21日前
株式会社LIXIL
液膜装置、液膜形成方法、制御装置、及び水回り装置
21日前
株式会社LIXIL
開き窓
6日前
株式会社LIXIL
樹脂組成物成形体の製造方法
6日前
株式会社LIXIL
情報処理装置、サーバ、情報処理システム、情報処理方法および情報処理プログラム
6日前
株式会社セブン-イレブン・ジャパン
店舗営業支援システム
14日前
株式会社LIXIL
便器装置及び便器装置のカバー構造
19日前
株式会社LIXIL
ホームシステム、トリガー発生装置、トリガー発生方法およびトリガー発生プログラム
14日前
個人
箸
1か月前
個人
家具
4か月前
個人
椅子
3か月前
個人
掃除機
9か月前
個人
自助箸
7か月前
個人
枕
8か月前
個人
耳拭き棒
11か月前
個人
ハンガー
7か月前
個人
屋外用箒
7か月前
個人
枕
5か月前
個人
体洗い具
10か月前
個人
多用途紐
1か月前
個人
ソファー
2か月前
個人
掃除用具
4か月前
個人
掃除道具
9か月前
個人
省煙消臭器
9か月前
個人
物品
3か月前
個人
開閉トング
6か月前
個人
組立式棚板
7か月前
個人
掃除シート
9か月前
個人
片手代替具
11か月前
個人
バターナイフ
1か月前
続きを見る
他の特許を見る