TOP
|
特許
|
意匠
|
商標
特許ウォッチ
Twitter
他の特許を見る
公開番号
2025172228
公報種別
公開特許公報(A)
公開日
2025-11-20
出願番号
2025157218,2021013050
出願日
2025-09-22,2021-01-29
発明の名称
開き窓
出願人
株式会社LIXIL
代理人
個人
,
個人
,
個人
主分類
E06B
3/38 20060101AFI20251113BHJP(戸,窓,シャッタまたはローラブラインド一般;はしご)
要約
【課題】部品点数を低減し、生産性を向上させる開き窓を提供すること。
【解決手段】開き窓100は、障子3、3A、3B、3Cの框30、30A、30B、30Cの形状、又は開閉形態が異なる複数の開き窓の中から選択され、障子3、3A、3B、3Cは、框30、30A、30B、30C及び框30、30A、30B、30Cに保持されるガラス341を有し、框30、30A、30B、30Cの四周の少なくとも一辺において、ガラス341の端面と、框30、30A、30B、30Cとの距離を、共通寸法とした。
【選択図】図1
特許請求の範囲
【請求項1】
障子の框の形状、又は開閉形態が異なる複数の開き窓の中から選択される開き窓であって、
前記障子は、框及び前記框に保持されるガラスを有し、前記框の四周の少なくとも一辺において、前記ガラスの端面と、前記框との距離を、共通寸法とした開き窓。
続きを表示(約 200 文字)
【請求項2】
選択された前記開き窓の一方は前記框が金属製であり、他方は前記框が金属及び樹脂で構成される、請求項1に記載の開き窓。
【請求項3】
選択された前記開き窓の一方は縦すべり窓であり、他方は横すべり窓である、請求項1又は2に記載の開き窓。
【請求項4】
前記距離は、前記四周を構成するすべての辺で、前記共通寸法である請求項1~3のいずれか1項に記載の開き窓。
発明の詳細な説明
【技術分野】
【0001】
本開示は、開き窓に関する。
続きを表示(約 1,600 文字)
【背景技術】
【0002】
従来、開き窓として、アルミニウム等の金属のみで枠体や障子が形成されたものや、金属と樹脂の複合材料で構成された複数の種類のものが知られている。開き窓は、開閉形態によっても異なる種類があり、例えば縦すべり窓や横すべり窓等が知られている(例えば、特許文献1参照)。
【先行技術文献】
【特許文献】
【0003】
特開2014-163085号公報
【発明の概要】
【発明が解決しようとする課題】
【0004】
開き窓を構成する材料や開閉形態の種類等によって、それぞれ部品を製造すると、部品の数が膨大となり、製造コストや管理上の負担が増大し、生産性が低下する。
【課題を解決するための手段】
【0005】
本開示は、障子の框の形状、又は開閉形態が異なる複数の開き窓の中から選択される開き窓であって、前記障子は、框及び前記框に保持されるガラスを有し、前記框の四周の少なくとも一辺において、前記ガラスの端面と、前記框との距離を、共通寸法とした開き窓に関する。
【図面の簡単な説明】
【0006】
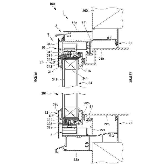
本実施形態の樹脂複合サッシにおける縦すべり窓の縦断面図である。
本実施形態の樹脂複合サッシにおける縦すべり窓の横断面図である。
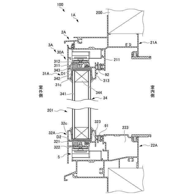
本実施形態のアルミサッシにおける縦すべり窓の縦断面図である。
本実施形態のアルミサッシにおける縦すべり窓の横縦断面図である。
本実施形態の樹脂複合サッシにおける横すべり窓の縦断面図である。
本実施形態の樹脂複合サッシにおける横すべり窓の横断面図である。
本実施形態のアルミサッシにおける横すべり窓の縦断面図である。
本実施形態のアルミサッシにおける横すべり窓の横縦断面図である。
【発明を実施するための形態】
【0007】
以下、本開示の実施形態について図面を参照しながら詳細に説明する。本実施形態の開き窓100は、框30、30Bがアルミニウムと樹脂により構成された樹脂複合サッシの縦すべり窓1、横すべり窓1B、及び、框30A、30Cの全体がアルミニウムで構成された金属製サッシの縦すべり窓1A、横すべり窓1C等、框30A、30B、30Cの形状、又は開閉形態の異なる複数の種類の縦すべり窓1、縦すべり窓1A、横すべり窓1B、横すべり窓1Cを有する。開き窓100は、これら複数の開き窓の中から選択される二以上の開き窓の間で、部材間の距離を共通寸法とすることで構成される。開き窓100は、建物200の開口部201に配置され、室内側と室外側を開閉可能に接続する建具の一つである。図1~図8に示す縦すべり窓1、1A、横すべり窓1B、1Cには、室内側に室内側障子が配置されるが、説明の簡略化のため、図示を省略している。
【0008】
本明細書において、見付方向とは、開き窓100の正面に向き合って見た場合の左右方向を言い、見込方向とは、開き窓100の室内外方向、すなわち奥行方向を言う。上下方向とは、天地方向を言う。
【0009】
図1及び図2に示す縦すべり窓1は、樹脂複合サッシであり、室外側が金属のアルミニウムで構成され、室内側が樹脂で構成される。縦すべり窓1のアルミニウムの部分と樹脂の部分は互いに嵌合等によって接合されている。縦すべり窓1は、枠体2と、障子3と、開閉機構4と、リンク機構5と、を有する。縦すべり窓1は、枠体2及び障子3の縦枠23及び縦框33が見込方向に移動することで開閉される。
【0010】
枠体2は、開き窓100が配置される略矩形状の開口部201の周囲に矩形状に組まれる枠である。枠体2は、それぞれが長尺状の上枠21と、下枠22と、一対の縦枠23(図2参照)とを有する。
(【0011】以降は省略されています)
この特許をJ-PlatPat(特許庁公式サイト)で参照する
関連特許
株式会社LIXIL
トレーラー
17日前
株式会社LIXIL
シャワー装置
2日前
株式会社LIXIL
湯水混合装置
15日前
株式会社LIXIL
二重窓の改装方法
8日前
株式会社LIXIL
ドア開閉装置及びドア
2日前
株式会社LIXIL
カバー材及び改装建具
23日前
株式会社LIXIL
カバー材及び改装建具
23日前
株式会社LIXIL
カバー材及び改装建具
23日前
株式会社LIXIL
ソファベッド、及び、トレーラー
17日前
株式会社LIXIL
液膜装置、液膜形成方法、制御装置、及び水回り装置
17日前
株式会社LIXIL
開き窓
2日前
株式会社LIXIL
樹脂組成物成形体の製造方法
2日前
株式会社LIXIL
情報処理装置、サーバ、情報処理システム、情報処理方法および情報処理プログラム
2日前
株式会社セブン-イレブン・ジャパン
店舗営業支援システム
10日前
株式会社LIXIL
便器装置及び便器装置のカバー構造
15日前
株式会社LIXIL
ホームシステム、トリガー発生装置、トリガー発生方法およびトリガー発生プログラム
10日前
株式会社ナカオ
作業台
2か月前
中国電力株式会社
脚立
3か月前
株式会社ニチベイ
遮蔽装置
23日前
三協立山株式会社
開口部建材
16日前
三協立山株式会社
開口部装置
2か月前
三協立山株式会社
開口部装置
2か月前
三協立山株式会社
開口部装置
2か月前
三協立山株式会社
開口部装置
2か月前
三協立山株式会社
開口部装置
1か月前
三協立山株式会社
開口部装置
2か月前
三協立山株式会社
開口部建材
16日前
ミサワホーム株式会社
水切り材
2か月前
不二サッシ株式会社
引違いサッシ
2か月前
文化シヤッター株式会社
引戸装置
1か月前
文化シヤッター株式会社
止水装置
1か月前
豊田合成株式会社
調光装置
1か月前
不二サッシ株式会社
引違いサッシ
1か月前
豊田合成株式会社
調光装置
15日前
三協立山株式会社
サッシの製造方法
2か月前
株式会社LIXIL
太陽電池ガラス
1か月前
続きを見る
他の特許を見る