TOP
|
特許
|
意匠
|
商標
特許ウォッチ
Twitter
他の特許を見る
公開番号
2025164034
公報種別
公開特許公報(A)
公開日
2025-10-30
出願番号
2024067753
出願日
2024-04-18
発明の名称
カバー材及び改装建具
出願人
株式会社LIXIL
代理人
個人
,
個人
,
個人
主分類
E06B
1/56 20060101AFI20251023BHJP(戸,窓,シャッタまたはローラブラインド一般;はしご)
要約
【課題】方立が室内側に露出せず意匠性の向上が図られるカバー材、及び、当該カバー材を用いた連窓により構成される改装建具を提供すること。
【解決手段】改装建具1である連窓を構成する方立5の室内側X2に対向して配置されて取付けられるカバー材8であって、方立5を含めて連窓を構成する一方側新設枠3Aから他方側新設枠3Bまでを覆うように配置される室内側カバー材本体81と、改装建具1に固定される被固定部83と、を備えるカバー材8である。被固定部83は、一方側新設枠3Aと他方側新設枠3Bといずれか一方に固定される。
【選択図】図3
特許請求の範囲
【請求項1】
改装建具である連窓を構成する方立の室内側に対向して配置されて取付けられるカバー材であって、
前記方立を含めて前記連窓を構成する一方側新設枠から他方側新設枠までを覆うように配置される室内側カバー材本体と、
前記改装建具に固定される被固定部と、を備えるカバー材。
続きを表示(約 370 文字)
【請求項2】
前記被固定部は、前記一方側新設枠と前記他方側新設枠といずれか一方に固定される請求項1に記載のカバー材。
【請求項3】
室内側カバー材本体は、前記一方側新設枠と前記他方側新設枠といずれか他方に係止される請求項2に記載のカバー材。
【請求項4】
室内側カバー材本体は、前記方立に係止される請求項2に記載のカバー材。
【請求項5】
前記室内側カバー材本体は、板状の部材により構成される請求項1に記載のカバー材。
【請求項6】
方立を介して連窓される建具を改装する改装建具であって、
一方側既設枠の内周側に配置される一方側新設枠と、
他方側既設枠の内周側に配置される他方側新設枠と、
請求項1に記載のカバー材と、を備える改装建具。
発明の詳細な説明
【技術分野】
【0001】
本開示は、カバー材及び改装建具に関する。
続きを表示(約 1,500 文字)
【背景技術】
【0002】
既設窓が改装されて改装建具として利用されることが行われている(例えば、特許文献1参照)。改装建具に設けられる改装方立には、新設窓枠の縦枠が固定される。
【先行技術文献】
【特許文献】
【0003】
特開平09-013795号公報
【発明の概要】
【発明が解決しようとする課題】
【0004】
上記特許文献1に記載の改装方立では、方立を方立固定具等に取付けるためのビス等はカバーによって隠されていたが、方立自体は室内側に露出しており、意匠性の向上を図ることが求められていた。
【0005】
本開示は、方立が室内側に露出せず意匠性の向上が図られるカバー材、及び、当該カバー材を用いた連窓により構成される改装建具を提供することを目的とする。
【課題を解決するための手段】
【0006】
本開示は、改装建具である連窓を構成する方立の室内側に対向して配置されて取付けられるカバー材であって、前記方立を含めて前記連窓を構成する一方側新設枠から他方側新設枠までを覆うように配置される室内側カバー材本体と、前記改装建具に固定される被固定部と、を備えるカバー材に関する。
【図面の簡単な説明】
【0007】
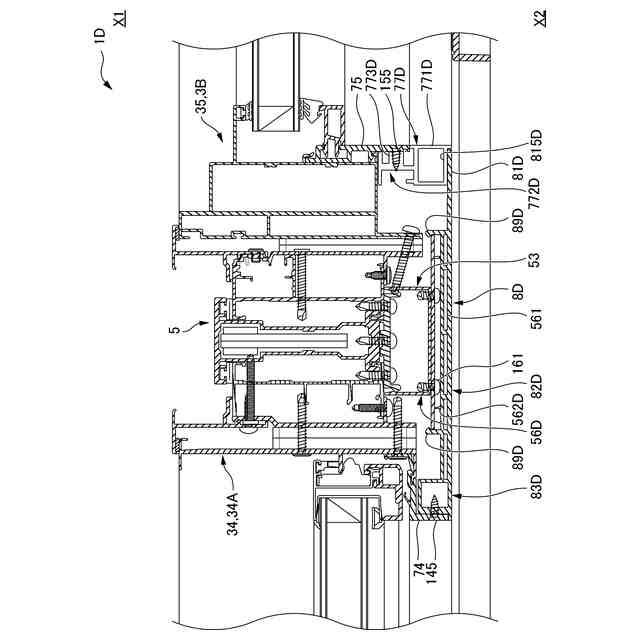
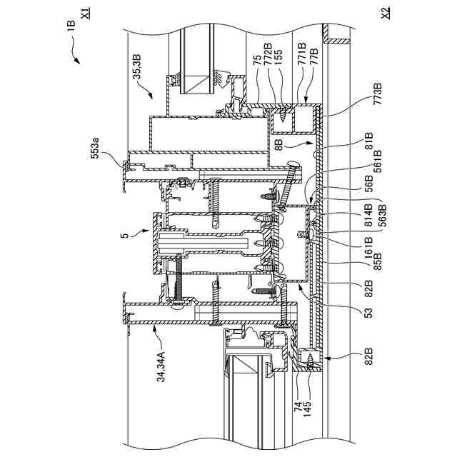
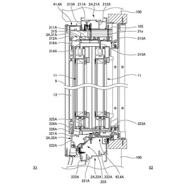
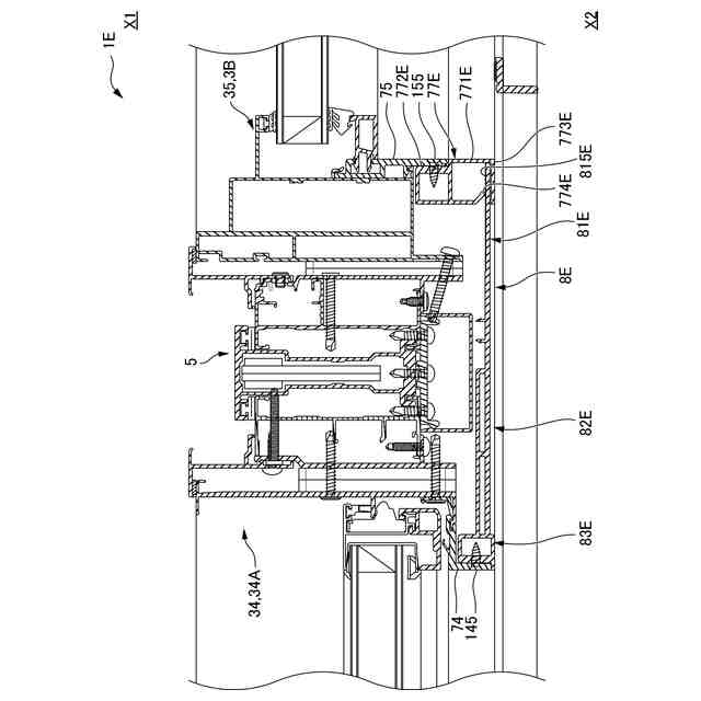
第1実施形態の改装建具の枠体を示す正面図である。
第1実施形態の改装建具を示す縦断面図である。
図1のA-A線断面における第1実施形態の改装建具の方立にカバー材が取り付けられる様子を示す横断面図である。
第2実施形態の改装建具を示す横断面図である。
第3実施形態の改装建具を示す横断面図である。
第4実施形態の改装建具を示す横断面図である。
第5実施形態の改装建具を示す横断面図である。
第6実施形態の改装建具を示す横断面図である。
【発明を実施するための形態】
【0008】
以下、本開示の実施形態について、図面を参照して詳細に説明する。本明細書において、「見付方向」とは、改装建具1における障子11の面材の面方向を意味し、「見込方向」とは、上記面材の厚さ方向(即ち、奥行き方向)を意味する。「見込方向」は室内外方向でもある。「見付面」は、改装建具1における室外側及び室内側に面するそれぞれの面を意味し、「見込面」は、改装建具1において室内外方向に延びる面を意味する。図面において、改装建具1の見込方向の室外側を室外側X1とし、改装建具1の見込方向の室内側を室内側X2とする。改装建具1の見付方向における横方向を左右方向とする。
【0009】
本実施形態の改装建具1は、図1に示すように、方立5(図3参照)を挟んで、左右方向に隣接して配置される2つの窓部10A,10Bを備える連窓により構成される。2つの窓部10A,10Bは、方立5を介して、左右に隣接して配置される。本実施形態においては、例えば、方立5の一方側に配置される窓部10Aは、引き違いタイプの窓部(図1における右側)であり、方立5の他方側に配置される窓部10Bは、FIXタイプの窓部(図1における左側)である。なお、窓部の種類は限定されない。
【0010】
改装建具1は、図1に示すように、左右方向の一方側及び他方側において、連窓の2つの窓部10A,10Bの既設枠2A,2B(一方側既設枠、他方側既設枠)それぞれの内周側に、アタッチメント4A,4B(図3参照)を介して、新設枠3A,3B(一方側枠、他方側枠)(一方側新設枠、他方側新設枠)を取り付けることで構成される。
(【0011】以降は省略されています)
この特許をJ-PlatPat(特許庁公式サイト)で参照する
関連特許
株式会社LIXIL
建具
23日前
株式会社LIXIL
シリンダ錠
26日前
株式会社LIXIL
トイレ装置
23日前
株式会社LIXIL
カーテンウォール
16日前
株式会社LIXIL
カーテンウォール
16日前
株式会社LIXIL
カバー材及び改装建具
3日前
株式会社LIXIL
カバー材及び改装建具
3日前
株式会社LIXIL
カバー材及び改装建具
3日前
株式会社LIXIL
建具及び建具の施工方法
23日前
株式会社LIXIL
混合装置及び水回り装置
9日前
株式会社LIXIL
シリンダ錠及び建物設備機器群
26日前
株式会社LIXIL
支援装置、支援プログラム、及び方法
19日前
株式会社LIXIL
トイレ装置、トイレシステム及び排卵推測装置
1か月前
株式会社LIXIL
物品収納提案装置、物品収納提案方法、端末装置
23日前
株式会社LIXIL
床モジュール、床構造体及び床構造体の施工方法
12日前
株式会社LIXIL
管理装置、管理方法、及びコンピュータプログラム
3日前
株式会社LIXIL
管理装置、管理方法、及びコンピュータプログラム
3日前
株式会社LIXIL
管理装置、管理方法、及びコンピュータプログラム
3日前
株式会社LIXIL
屋根構造体
18日前
株式会社LIXIL
改装サッシ
1か月前
株式会社LIXIL
表示制御装置、表示制御システム、プログラム及び表示制御方法
26日前
株式会社LIXIL
吐水システム、浴室ユニット、コンピュータプログラム及び制御方法
17日前
株式会社LIXIL
制御装置、コンピュータプログラム、調整方法、及び、制御システム
9日前
大和ハウス工業株式会社
外壁の断熱改修構造および外壁の断熱改修方法
9日前
株式会社LIXIL
制御装置、混合装置ユニット、水回り装置、コンピュータプログラム、及び制御方法
9日前
株式会社LIXIL
制御装置、混合装置ユニット、水回り装置、コンピュータプログラム、及び制御方法
9日前
株式会社LIXILトータルサービス
コンピュータープログラム、情報管理装置、端末装置、情報管理システム及び制御方法
23日前
株式会社ESP
止水板
2か月前
中国電力株式会社
脚立
2か月前
株式会社ナカオ
作業台
1か月前
三協立山株式会社
構造体
4か月前
株式会社ニチベイ
遮蔽装置
3日前
三協立山株式会社
開口部装置
1か月前
三協立山株式会社
開口部装置
2か月前
三協立山株式会社
開口部装置
1か月前
三協立山株式会社
開口部装置
2か月前
続きを見る
他の特許を見る