TOP
|
特許
|
意匠
|
商標
特許ウォッチ
Twitter
他の特許を見る
公開番号
2025171436
公報種別
公開特許公報(A)
公開日
2025-11-20
出願番号
2024076784
出願日
2024-05-09
発明の名称
情報処理装置、サーバ、情報処理システム、情報処理方法および情報処理プログラム
出願人
株式会社LIXIL
代理人
個人
,
個人
,
個人
主分類
H04Q
9/00 20060101AFI20251113BHJP(電気通信技術)
要約
【課題】建物内の各複数の空間の危険状態の把握を分かりやすくすることができる情報処理装置等を提供する。
【解決手段】情報処理装置は、表示部と、建物内の複数の空間それぞれの危険状態を示す危険状態画像を第3画像として生成し、前記第3画像を1つの画面内に表示するメイン画面を前記表示部に表示させる制御部と、を備える。
【選択図】図6
特許請求の範囲
【請求項1】
表示部と、
建物内の複数の空間それぞれの危険状態を示す危険状態画像を第3画像として生成し、前記第3画像を1つの画面内に表示するメイン画面を前記表示部に表示させる制御部と、
を備える、
情報処理装置。
続きを表示(約 1,000 文字)
【請求項2】
前記危険状態画像は、前記危険状態の危険レベルごとに異なる、
請求項1に記載の情報処理装置。
【請求項3】
前記危険状態画像は、前記危険レベルを色表示により区別する画像である、
請求項2に記載の情報処理装置。
【請求項4】
前記危険状態画像は、前記危険レベルをアイコン表示により区別する画像である、
請求項2に記載の情報処理装置。
【請求項5】
前記制御部は、前記建物内の複数の空間それぞれの暑さ指数に基づいて前記危険レベルを判断する、
請求項2から請求項4のいずれか一項に記載の情報処理装置。
【請求項6】
前記制御部は、前記建物内の複数の空間それぞれの制御対象機器の状態に基づいて前記危険レベルを判断する、
請求項2に記載の情報処理装置。
【請求項7】
前記制御部は、
気象情報と時刻とに基づく画像を第1画像として生成し、
前記建物内における家族それぞれの在宅状態を第2画像として生成し、
前記第1画像と前記第2画像と前記第3画像とを1つの画面内に表示する前記メイン画面に表示する、
請求項1に記載の情報処理装置。
【請求項8】
建物内の複数の空間それぞれの制御対象機器の状態を取得し、
前記制御対象機器の状態に基づいて、複数の空間それぞれの危険状態を判断する、
サーバ。
【請求項9】
家屋機器と、
前記家屋機器と通信可能なサーバと、
表示部と、制御部と、を有する情報処理装置と、
を備え、
サーバは、前記家屋機器から建物内の複数の空間の危険状態を取得し、
前記情報処理装置の制御部は、
前記サーバから前記危険状態を取得して、
前記危険状態に基づいて、前記建物内の複数の空間それぞれの前記危険状態を示す危険状態画像を第3画像として生成し、
前記第3画像を1つの画面内に表示するメイン画面を前記表示部に表示させる、
情報処理システム。
【請求項10】
コンピュータが、
建物内の複数の空間それぞれの危険状態を示す危険状態画像を第3画像として生成し、
前記第3画像を1つの画面内に表示するメイン画面を表示する、
情報処理方法。
(【請求項11】以降は省略されています)
発明の詳細な説明
【技術分野】
【0001】
本開示は、情報処理装置、サーバ、情報処理システム、情報処理方法および情報処理プログラムに関する。
続きを表示(約 1,100 文字)
【背景技術】
【0002】
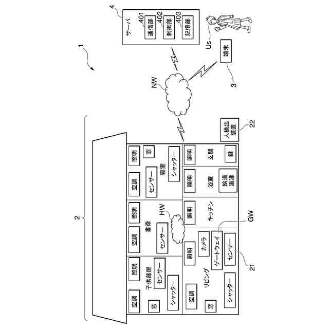
近年、家などに設置されている各種の機器を、自宅内または遠隔制御によって自動的に制御する技術が利用されている。各種の機器は、例えば、照明装置、空調装置、玄関の鍵等である。家に家族が生活している場合は、機器を遠隔操作する利用者は複数であり、機器が設置されている部屋も複数である。
【0003】
このようなシステムでは、利用者が所持するスマートフォン等の画面により利用者が建物内の各複数の空間(部屋、キッチン、浴室等)の状態の把握や設定ができる(例えば特許文献1参照)。空間は、例えば、リビング、台所、寝室、玄関等である。
【先行技術文献】
【特許文献】
【0004】
特開2022-103909号公報
【発明の概要】
【発明が解決しようとする課題】
【0005】
しかしながら、従来技術では、利用者が空間の危険状態の把握が分かりづらいという課題があった。
【0006】
本開示は、上記の問題点に鑑みてなされたものであって、建物内の各複数の空間の危険状態の把握を分かりやすくすることができる情報処理装置、サーバ、情報処理システム、情報処理方法および情報処理プログラムを提供することを目的とする。
【課題を解決するための手段】
【0007】
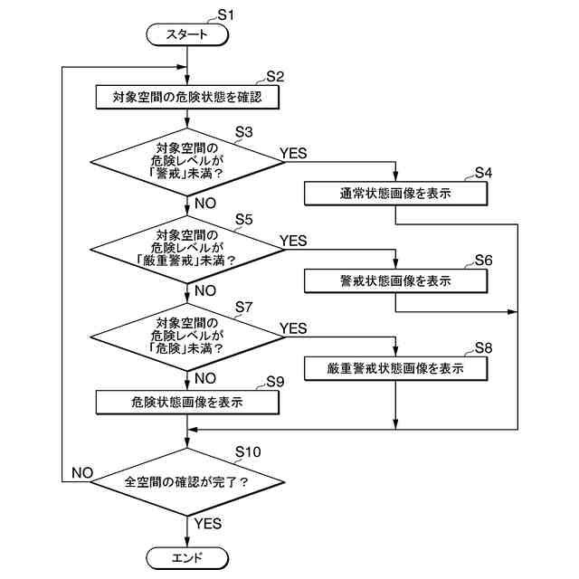
上記目的を達成するため、本開示の第一態様に係る情報処理装置は、表示部と、建物内の複数の空間それぞれの危険状態を示す危険状態画像を第3画像として生成し、前記第3画像を1つの画面内に表示するメイン画面を前記表示部に表示させる制御部と、を備える。
【0008】
本開示の第二態様に係るサーバは、建物内の複数の空間それぞれの制御対象機器の状態を取得し、前記制御対象機器の状態に基づいて、複数の空間それぞれの危険状態を判断する。
【0009】
本開示の第三態様に係る情報処理システムは、家屋機器と、前記家屋機器と通信可能なサーバと、表示部と、制御部と、を有する情報処理装置と、を備え、サーバは、前記家屋機器から建物内の複数の空間の危険状態を取得し、前記情報処理装置の制御部は、前記サーバから前記危険状態を取得して、前記危険状態に基づいて、前記建物内の複数の空間それぞれの前記危険状態を示す危険状態画像を第3画像として生成し、前記第3画像を1つの画面内に表示するメイン画面を前記表示部に表示させる。
【0010】
本開示の第三態様に係る情報処理方法は、コンピュータが、建物内の複数の空間それぞれの危険状態を示す危険状態画像を第3画像として生成し、前記第3画像を1つの画面内に表示するメイン画面を表示する。
(【0011】以降は省略されています)
この特許をJ-PlatPat(特許庁公式サイト)で参照する
関連特許
株式会社LIXIL
シャワー装置
2日前
株式会社LIXIL
二重窓の改装方法
8日前
株式会社LIXIL
ドア開閉装置及びドア
2日前
株式会社LIXIL
開き窓
2日前
株式会社LIXIL
樹脂組成物成形体の製造方法
2日前
株式会社LIXIL
情報処理装置、サーバ、情報処理システム、情報処理方法および情報処理プログラム
2日前
株式会社セブン-イレブン・ジャパン
店舗営業支援システム
10日前
株式会社LIXIL
便器装置及び便器装置のカバー構造
15日前
株式会社LIXIL
ホームシステム、トリガー発生装置、トリガー発生方法およびトリガー発生プログラム
10日前
個人
イヤーピース
15日前
個人
イヤーマフ
29日前
個人
監視カメラシステム
1か月前
個人
スイッチシステム
23日前
キーコム株式会社
光伝送線路
1か月前
サクサ株式会社
中継装置
1か月前
個人
スキャン式車載用撮像装置
1か月前
サクサ株式会社
中継装置
1か月前
WHISMR合同会社
収音装置
2か月前
アイホン株式会社
電気機器
2か月前
キヤノン株式会社
撮像装置
2か月前
サクサ株式会社
無線通信装置
1か月前
株式会社リコー
画像形成装置
2か月前
キヤノン電子株式会社
画像読取装置
15日前
ヤマハ株式会社
放音制御装置
23日前
キヤノン電子株式会社
画像読取装置
23日前
個人
映像表示装置、及びARグラス
24日前
サクサ株式会社
無線システム
1か月前
個人
ワイヤレスイヤホン対応耳掛け
2か月前
株式会社リコー
画像形成装置
1か月前
キヤノン電子株式会社
画像読取装置
1か月前
サクサ株式会社
無線通信装置
1か月前
キヤノン電子株式会社
画像読取装置
2か月前
株式会社リコー
画像形成装置
2か月前
日本電気株式会社
海底分岐装置
1か月前
キヤノン株式会社
情報処理装置
2日前
個人
発信機及び発信方法
1か月前
続きを見る
他の特許を見る