TOP
|
特許
|
意匠
|
商標
特許ウォッチ
Twitter
他の特許を見る
10個以上の画像は省略されています。
公開番号
2025165608
公報種別
公開特許公報(A)
公開日
2025-11-05
出願番号
2024069755
出願日
2024-04-23
発明の名称
トレーラー
出願人
株式会社LIXIL
代理人
個人
,
個人
,
個人
主分類
B60P
3/32 20060101AFI20251028BHJP(車両一般)
要約
【課題】シンクスペースによって室内空間が圧迫されることが抑えられたトレーラーを提供すること。
【解決手段】室内空間を有するトレーラー1であって、室内空間を形成する側壁には、内側蓋部により塞がれる開口を有する室内収納空間が形成され、内側蓋部は、室内収納空間の開口の一部分に対する開口の他の部分を閉塞可能であり、開口の一部分と、開口の一部分に対する開口の他の部分と、を区画するパーテーション用蓋部3346を有し、開口の一部分に対する開口の他の部分を有する室内収納空間の部分には、流し台61が設けられるトレーラー1である。
【選択図】図5
特許請求の範囲
【請求項1】
室内空間を有するトレーラーであって、
前記室内空間を形成する側壁には、内側蓋部により塞がれる開口を有する室内収納空間が形成され、
前記内側蓋部は、前記室内収納空間の前記開口の一部分に対する前記開口の他の部分を閉塞可能であり、前記開口の一部分と、前記開口の一部分に対する前記開口の他の部分と、を区画するパーテーション用蓋部を有し、
前記開口の一部分に対する前記開口の他の部分を有する前記室内収納空間の部分には、流し台が設けられるトレーラー。
続きを表示(約 330 文字)
【請求項2】
前記パーテーション用蓋部は、垂直方向に指向する回転軸心を中心として回転することにより前記開口の他の部分を開閉可能である請求項1に記載のトレーラー。
【請求項3】
前記パーテーション用蓋部の自由な回転を抑えるラッチを備える請求項2に記載のトレーラー。
【請求項4】
前記内側蓋部は、前記室内収納空間の開口の他の部分を閉塞可能であり、物を載置可能であり且つ机として利用可能な台を構成するデスク用蓋部を有する請求項1に記載のレーラー。
【請求項5】
前記デスク用蓋部は、水平方向に指向する回転軸心を中心として回転することにより前記開口の一部分を開閉可能である請求項4に記載のトレーラー。
発明の詳細な説明
【技術分野】
【0001】
本発明は、トレーラーに関する。
続きを表示(約 2,400 文字)
【背景技術】
【0002】
トレーラーにおいては、流し台を備えるシンクスペースが設けられている(例えば、特許文献1参照)。
【先行技術文献】
【特許文献】
【0003】
特許第3778885号公報
【発明の概要】
【発明が解決しようとする課題】
【0004】
シンクスペースは、トレーラーの室内空間において所定の領域を占める。このためシンクスペースにより、トレーラーの室内空間は圧迫されるので、トレーラーの室内空間の圧迫が極力少ないことが要求される。本開示は、シンクスペースによって室内空間が圧迫されることが抑えられたトレーラーを提供することを目的とする。
【課題を解決するための手段】
【0005】
本開示は、室内空間を有するトレーラーであって、前記室内空間を形成する側壁には、内側蓋部により塞がれる開口を有する室内収納空間が形成され、前記内側蓋部は、前記室内収納空間の前記開口の一部分に対する前記開口の他の部分を閉塞可能であり、前記開口の一部分と、前記開口の一部分に対する前記開口の他の部分と、を区画するパーテーション用蓋部を有し、前記開口の一部分に対する前記開口の他の部分を有する前記室内収納空間の部分には、流し台が設けられるトレーラーに関する。
【図面の簡単な説明】
【0006】
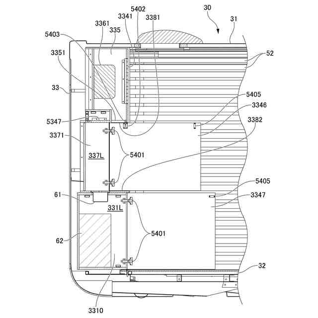
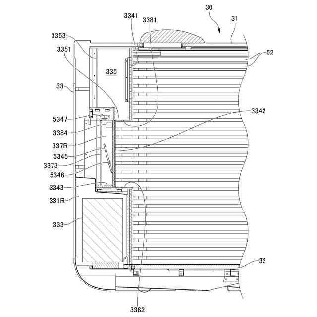
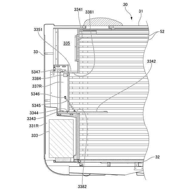
一実施形態のトレーラーを示す前側から見た斜視図である。
一実施形態のトレーラーを示す後側から見た斜視図である。
一実施形態のトレーラーの室内空間においてソファベッドがベッドとして用いられている様子を示す斜視図である。
一実施形態のトレーラーの室内空間においてソファベッドがソファとして用いられている様子を示す斜視図である。
一実施形態のトレーラーの室内空間においてライティングデスク及びパーテーションが用いられている様子を示す斜視図である。
一実施形態のトレーラーのフロント部においてライティングデスクが使用されていない状態を示す断面図である。
一実施形態のトレーラーのフロント部においてライティングデスクが使用されている状態を示す断面図である。
一実施形態のトレーラーのフロント部においてパーテーションが使用されていない状態を示す断面図である。
一実施形態のトレーラーのフロント部においてパーテーションが使用されている状態を示す断面図である。
一実施形態のトレーラーのフロント部を示す断面図である。
一実施形態のトレーラーのソファベッドがベッドとして使用されている様子を示す上方斜視図である。
一実施形態のトレーラーのソファベッドがベッドとして使用されている様子を示す下方斜視図である。
一実施形態のトレーラーのソファベッドがベッドとして使用されている状態でマットが取り外された状態を示す上方斜視図である。
一実施形態のトレーラーのソファベッドがソファとして使用されている様子を示す上方斜視図である。
一実施形態のトレーラーのソファベッドがソファとして使用されている様子を示す下方斜視図である。
一実施形態のトレーラーのソファベッドがソファとして使用されている状態で引き出しが引き出された様子を示す上方斜視図である。
一実施形態のトレーラーのソファベッドがソファとして使用されている状態でマットが取り外された状態を示す上方斜視図である。
一実施形態の湾曲部を示す斜視図である。
一実施形態の湾曲部が湾曲壁部に固定された状態を示す背面図である。
一実施形態のトレーラーの天井を示す下方斜視図である。
一実施形態のトレーラーの天井のダクトレールに照明器具を取り付けた様子を示す下方斜視図である。
【発明を実施するための形態】
【0007】
以下、本開示の実施形態について、図面を参照して詳細に説明する。本実施形態における車両を構成するトレーラー1は、小型のキャンピングトレーラに設けられているトイレ室を有していない一部屋の室内空間を有するトレーラーにより構成される。以下、トレーラー1の中心位置から見て、連結部11が設けられている側を前側と定義し、テールゲート34が設けられている側を後側と定義し、天井31が設けられている側を上側と定義し、底壁部32が設けられている側を下側と定義して説明する。
【0008】
トレーラー1は、図1、図2に示すように、前後方向に延びて形成されたシャシ10と、シャシ10上部に着脱可能に取り付けられた、前後方向に長い略直方体形状の荷箱30を有している。トレーラー1は、図示しない車両等によってけん引される。シャシ10は、前端部に連結部11を備えている。連結部11は、図示しない車両に連結可能である。
【0009】
シャシ10の前後中央部には左右1個ずつ計2個の車輪12が回転可能に取り付けられている。これにより、トレーラー1は、前後方向に移動自在であり、トレーラー1を、手動で動かすことが可能である。また、例えば、車輪12は、後述する図示しない電動モータに駆動連結され、電動モータが駆動することにより車輪12が回転して、トレーラー1が移動可能であってもよい。また、例えば、各車輪12は、シャシ10に対して上下方向に移動可能であってもよい。
【0010】
車輪12の下部を除く上部及び中部は、シャシ10に対して着脱可能なカバー13により覆われている。このため、車輪12の下部のみが外部に露出している。
(【0011】以降は省略されています)
この特許をJ-PlatPat(特許庁公式サイト)で参照する
関連特許
株式会社LIXIL
シャワー装置
6日前
株式会社LIXIL
二重窓の改装方法
12日前
株式会社LIXIL
ドア開閉装置及びドア
6日前
株式会社LIXIL
開き窓
6日前
株式会社LIXIL
樹脂組成物成形体の製造方法
6日前
株式会社LIXIL
情報処理装置、サーバ、情報処理システム、情報処理方法および情報処理プログラム
6日前
株式会社セブン-イレブン・ジャパン
店舗営業支援システム
14日前
株式会社LIXIL
ホームシステム、トリガー発生装置、トリガー発生方法およびトリガー発生プログラム
14日前
個人
空間形成装置
27日前
日本精機株式会社
照明装置
22日前
個人
常設収納型サンバイザー
1か月前
日本精機株式会社
車載表示装置
1か月前
日本精機株式会社
車載表示装置
28日前
日本精機株式会社
車載表示装置
1か月前
株式会社豊田自動織機
産業車両
22日前
個人
回転窓ワイパー装置
27日前
日本精機株式会社
車両用報知装置
1か月前
個人
音による速度計とプログラム
1か月前
株式会社SUBARU
車両
1か月前
日本化薬株式会社
ガス発生器
20日前
日本化薬株式会社
ガス発生器
1か月前
日本化薬株式会社
ガス発生器
今日
株式会社ヨコオ
車載装置
20日前
極東開発工業株式会社
タンク車
1か月前
豊田合成株式会社
乗員保護装置
1か月前
井関農機株式会社
作業車両
1か月前
和光工業株式会社
昇降装置
1か月前
トヨタ自動車株式会社
車両
1か月前
日本精機株式会社
鞍乗型車両用表示装置
19日前
大伸工業株式会社
車載フロアマット
19日前
株式会社アイシン
車両
6日前
林テレンプ株式会社
蓋付器具
1か月前
株式会社SUBARU
車体前部構造
1か月前
株式会社SUBARU
車体前部構造
1か月前
株式会社SUBARU
車体前部構造
1か月前
株式会社クボタ
作業車
12日前
続きを見る
他の特許を見る