TOP
|
特許
|
意匠
|
商標
特許ウォッチ
Twitter
他の特許を見る
10個以上の画像は省略されています。
公開番号
2025158475
公報種別
公開特許公報(A)
公開日
2025-10-17
出願番号
2024061047
出願日
2024-04-04
発明の名称
タンク車
出願人
極東開発工業株式会社
代理人
個人
主分類
B60P
3/22 20060101AFI20251009BHJP(車両一般)
要約
【課題】車両本体にタンクが傾斜姿勢で設置されたタンク車であって、作りやすい構造のものを提案する。
【解決手段】車両本体2と、タンク本体5と、タンク支持部材20を有し、前記タンク本体が一又は複数の前記タンク支持部材を介して前記車両本体に傾斜姿勢で設置されたタンク車であり、タンク支持部材20は、タンク本体側にあってタンク本体5を支持するタンク受け部と、車両本体2側に取り付けられる車両側部と、前記タンク受け部と前記車両側部を繋ぐ縦壁部を有する。タンク支持部材20は、タンク受け部と前記縦壁部の一部又は全部を含む上部側部材30と、車両側部と縦壁部の一部又は全部を含む下部側部材31が接合されたものである。
【選択図】 図2
特許請求の範囲
【請求項1】
車両本体と、タンク本体と、タンク支持部材を有し、前記タンク本体が一又は複数の前記タンク支持部材を介して前記車両本体に傾斜姿勢で設置されたタンク車において、
前記タンク支持部材は、前記タンク本体側にあって前記タンク本体を支持するタンク受け部と、前記車両本体側に取り付けられる車両側部と、前記タンク受け部と前記車両側部を繋ぐ縦壁部を有し、
前記タンク支持部材は、前記タンク受け部と前記縦壁部の一部又は全部を含む上部側部材と、前記車両側部と前記縦壁部の一部又は全部を含む下部側部材が接合されたものであることを特徴するタンク車。
続きを表示(約 1,100 文字)
【請求項2】
前記タンク受け部が前記車両側部に対して傾斜していることを特徴する請求項1に記載のタンク車。
【請求項3】
前記上部側部材と前記下部側部材の少なくともいずれか一方は、設置姿勢を基準として上下に配置される辺が非平行であることを特徴する請求項1に記載のタンク車。
【請求項4】
前記上部側部材と前記下部側部材の一方は、設置姿勢を基準として上下に配置される辺が非平行であり、前記上部側部材と前記下側部材の他方は、設置姿勢を基準として上下に配置される辺が平行であることを特徴する請求項1に記載のタンク車。
【請求項5】
タンク車を構成する部材であって、車両本体とタンク本体の間に介在されるタンク支持部材において、
タンク本体側にあってタンク本体を支持するタンク受け部と、車両本体側に取り付けられる車両側部と、タンク受け部と車両側部を繋ぐ縦壁部を有し、
タンク支持部材は、タンク受け部と縦壁部の一部又は全部を含む上部側部材と、車両側部と縦壁部の一部又は全部を含む下部側部材が接合されたものであり、
タンク受け部は車両側部に対して傾斜していることを特徴とするタンク支持部材。
【請求項6】
前記上部側部材は、タンク受け部と、車両本体側に取り付けられる車両側部と、タンク受け部と車両側部を繋ぐ縦壁部を有する材料フレームから、タンク受け部と縦壁部の一部が切り出されたものであり、
前記下部側部材は、タンク受け部と、車両本体側に取り付けられる車両側部と、タンク受け部と車両側部を繋ぐ縦壁部を有する材料フレームから、車両側部と縦壁部の一部が切り出されたものであることを特徴とする請求項5に記載のタンク支持部材。
【請求項7】
タンク車を構成する部材であって、車両本体とタンク本体の間に介在されるタンク支持部材を製造するタンク支持部材の製造方法において、
タンク本体側にあってタンク本体を支持するタンク受け部と、車両本体側に取り付けられる車両側部と、前記タンク受け部と前記車両側部を繋ぐ縦壁部を有する材料フレームを成形する工程と、
一つの材料フレームからタンク受け部と縦壁部の一部を切り出して上部側フレーム片を成形する工程と、
他の材料フレームから車両側部と縦壁部の一部を切り出して下部側フレーム片を成形する工程と、
前記上部側フレーム片と前記下部側フレーム片を接合する工程を有することを特徴とするタンク支持部材の製造方法。
【請求項8】
前記上部側フレーム片と前記下部側フレーム片の少なくとも一方を、設置姿勢を基準として上下に配置される辺が非平行となるように成型することを特徴とする請求項7に記載のタンク支持部材の製造方法。
発明の詳細な説明
【技術分野】
【0001】
本発明は、タンクローリーや給水車等のタンクを搭載した車両に関するものである。
続きを表示(約 2,100 文字)
【背景技術】
【0002】
液体を輸送する車両としてタンクローリーが知られている。タンクローリーは、車両本体にタンクが搭載されたものである。
タンクローリーに搭載されるタンクは、水平姿勢で車両本体に設置される場合が多いが、内部の液体を排出する際の便宜上、わずかに傾斜した姿勢で車両本体に設置されることもある(特許文献1)。
即ち、タンクローリーのタンクは内部が複数の液室に分割されており、各液室内に液体が収容される。例えばガソリンや軽油等の可燃性の液体は、法律上、ポンプによる強制排出が制限される場合がある。そのため、可燃性の液体については、重力による自然排出を行う必要がある場合がある。
そのため、タンクを運転席側に向かって下り勾配となる様に傾斜させた姿勢で車両本体に設置した構造のタンクローリーがある。また逆に、タンクをテール側に向かって下り勾配となる様に傾斜させた姿勢で車両本体に設置した構造のタンクローリーもある。
【0003】
ところでタンクローリーのタンクは、タンク支持部材を介して車両本体に取り付けられる場合が多い。即ちタンクローリーは、車両本体のシャシーフレームにタンク支持部材を介してタンクが取り付けられる。
車両本体は量産されたものであり、タンクローリー専用のものではないので、シャシーフレームは、一般的に略水平姿勢である。一方底が傾斜したタンクを成型することは困難である。
【0004】
そのため、傾斜辺を有するタンク支持部材を介してタンクを車両本体に取り付けることにより、タンクを傾斜姿勢とする構造が採用されていた。即ち傾斜辺を有するタンク支持部材を成型し、水平姿勢のシャシーフレームに傾斜辺を有するタンク支持部材を設置し、さらにその上にタンクを設置することによってタンクを傾斜させた姿勢で車両本体に設置していた。
【先行技術文献】
【特許文献】
【0005】
特許第4563293号公報
【発明の概要】
【発明が解決しようとする課題】
【0006】
しかしながら、傾斜辺を有するタンク支持部材は作りにくく、当該タンク支持部材についても、成型に相当の手間が必要であった。
本発明は、従来技術の上記した問題に注目し、作りやすい構造の傾斜辺を有するタンク支持部材を提案するものである。即ち本発明は、車両本体にタンクが傾斜姿勢で設置されたタンク車であって、作りやすい構造のものを提案するものである。
【課題を解決するための手段】
【0007】
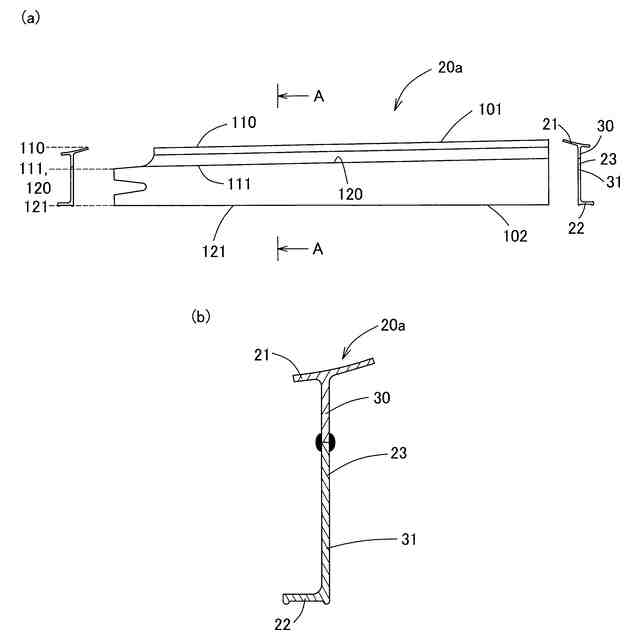
上記した課題を解決するための態様は、車両本体と、タンク本体と、タンク支持部材を有し、前記タンク本体が一又は複数の前記タンク支持部材を介して前記車両本体に傾斜姿勢で設置されたタンク車において、前記タンク支持部材は、前記タンク本体側にあって前記タンク本体を支持するタンク受け部と、前記車両本体側に取り付けられる車両側部と、前記タンク受け部と前記車両側部を繋ぐ縦壁部を有し、前記タンク支持部材は、前記タンク受け部と前記縦壁部の一部又は全部を含む上部側部材と、前記車両側部と前記縦壁部の一部又は全部を含む下部側部材が接合されたものであることを特徴するタンク車である。
【0008】
本態様のタンク車では、タンク本体が一又は複数のタンク支持部材を介して車両本体に傾斜姿勢で設置されている。
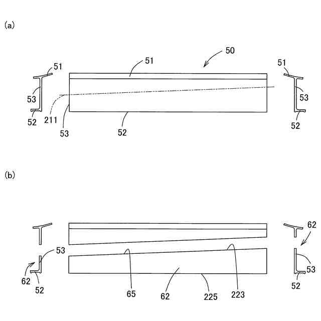
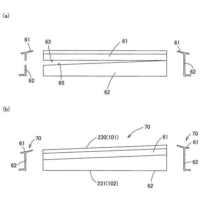
本態様で採用するタンク支持部材は、少なくとも二つの部材が接合されたものである。即ち本態様のタンク車が採用するタンク支持部材は、タンク受け部と縦壁部の一部又は全部を含む上部側部材と、車両側部と縦壁部の一部又は全部を含む下部側部材が接合されたものである。本態様によると、上部側部材の上部側と、下部側を個別に成型することができるので、作りやすい。
なお、「車両本体側に取り付けられる車両側部」の「車両本体側に取り付けられる」は、タンク支持部材が車両本体に固定された際の位置関係を特定したものに過ぎず、タンク支持部材を車両本体に固定する際の溶接個所や、ねじ等の締結位置を車両側部に限定するものではない。即ちタンク支持部材は、溶接やねじ等の締結要素によって車両本体に固定されるが、その際の溶接個所や締結要素の取り付け箇所は、タンク支持部材のいずれの部位であってもよい。
一般的には、タンク支持部材の車両側部を車両本体のシャシーフレームに載置して、車両側部をシャシーフレームにねじ止めしたり、溶接することとなるが、ブラケット等を使用して車両本体のシャシーフレームとタンク支持部材の上部側部材を溶接やねじによって接合してもよい。
【0009】
上記した態様において、前記タンク受け部が前記車両側部に対して傾斜していることが望ましい。
【0010】
本態様によると、タンク本体が車両本体に対して傾斜姿勢となる。
(【0011】以降は省略されています)
この特許をJ-PlatPat(特許庁公式サイト)で参照する
関連特許
極東開発工業株式会社
駐車装置
1か月前
極東開発工業株式会社
連結車両
18日前
極東開発工業株式会社
タンク車
1か月前
極東開発工業株式会社
塵芥収集車
3日前
極東開発工業株式会社
塵芥収集車
10日前
極東開発工業株式会社
塵芥収集車
10日前
極東開発工業株式会社
塵芥収集車
10日前
極東開発工業株式会社
塵芥収集車
10日前
極東開発工業株式会社
被牽引車両
18日前
極東開発工業株式会社
作業車両及びプログラム
1か月前
極東開発工業株式会社
特装車作動油交換時期管理システム
1か月前
極東開発工業株式会社
車両システム、作業車両及びプログラム
1か月前
極東開発工業株式会社
車両システム、荷役車両及びプログラム
1か月前
極東開発工業株式会社
特装車車両データサーバ
24日前
個人
タイヤレバー
4か月前
個人
前輪キャスター
3か月前
個人
上部一体型自動車
2か月前
個人
ルーフ付きトライク
4か月前
個人
空間形成装置
1か月前
個人
タイヤ脱落防止構造
3か月前
日本精機株式会社
照明装置
1か月前
個人
マスタシリンダ
2か月前
日本精機株式会社
表示装置
4か月前
日本精機株式会社
表示装置
3か月前
日本精機株式会社
表示装置
4か月前
日本精機株式会社
表示装置
4か月前
個人
車両通過構造物
4か月前
個人
常設収納型サンバイザー
1か月前
個人
乗合路線バスの客室装置
4か月前
個人
回転窓ワイパー装置
1か月前
株式会社豊田自動織機
産業車両
1か月前
日本精機株式会社
画像投映装置
2か月前
個人
音声ガイド、音声サービス
4か月前
株式会社豊田自動織機
産業車両
4か月前
日本精機株式会社
車載表示装置
1か月前
株式会社ニフコ
照明装置
3か月前
続きを見る
他の特許を見る