TOP
|
特許
|
意匠
|
商標
特許ウォッチ
Twitter
他の特許を見る
10個以上の画像は省略されています。
公開番号
2025176730
公報種別
公開特許公報(A)
公開日
2025-12-05
出願番号
2024082989
出願日
2024-05-22
発明の名称
塵芥収集車
出願人
極東開発工業株式会社
代理人
個人
主分類
B65F
3/00 20060101AFI20251128BHJP(運搬;包装;貯蔵;薄板状または線条材料の取扱い)
要約
【課題】互換性が高く、各種の構造のシャーシフレームを持つ車両に適用することが可能な支持部材を備えた塵芥収集車を提案する
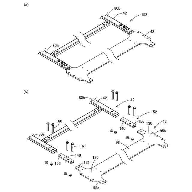
【解決手段】車台を有する車両部と、塵芥を収容する塵芥収容箱と、支持部材を有し、前記支持部材を介して前記塵芥収容箱が前記車台に搭載されている。支持部材26は、前記支持部材の少なくとも一つは、支持部材片40、41、42、43が車台の長手方向に接合されたものであり、少なくとも一つの接合部151、152、153は、複数の部材が重なりあっている。
【選択図】図3
特許請求の範囲
【請求項1】
車台を有する車両部と、塵芥を収容する塵芥収容箱と、一又は複数の支持部材を有し、前記支持部材を介して前記塵芥収容箱が前記車台に搭載されている塵芥収集車において、
前記支持部材の少なくとも一つは、支持部材片が車台の長手方向に接合されたものであり、
少なくとも一つの接合部は、複数の部材が重なりあっていることを特徴とする塵芥収集車。
続きを表示(約 1,000 文字)
【請求項2】
一方の支持部材片の端部近傍と他方の支持部材片の端部近傍の少なくとも一方は、断面形状が溝状又は環状であることを特徴とする請求項1に記載の塵芥収集車。
【請求項3】
少なくとも一つの接合部には接続部材があり、当該接続部材の一部と一方の支持部材片の端部が重なり、当該接続部材の一部と他方の支持部材片の端部が重なりあっていることを特徴とする請求項1に記載の塵芥収集車。
【請求項4】
少なくとも一つの接合部には接続部材があり、当該接続部材は、接続される双方の支持部材片と面接触し、且つ当該接続部材が接続される双方の支持部材片と締結要素で締結されていることを特徴とする請求項1に記載の塵芥収集車。
【請求項5】
一方の支持部材片の端部近傍は断面形状が溝状又は環状であり、他方の支持部材片の端部近傍も断面形状が溝状又は環状であり、接合部には接続部材があり、当該接続部材は、双方の支持部材片と面接触し、且つ接続される双方の支持部材片と締結要素で締結されていることを特徴とする請求項1に記載の塵芥収集車。
【請求項6】
接合されている支持部材片の少なくとも一方は、端部近傍の断面形状が溝状又は環状であり、接合部には接続部材があり、当該接続部材は、前記支持部材片の端部に挿入されていることを特徴とする請求項1に記載の塵芥収集車。
【請求項7】
接合部には接続部材があり、当該接続部材は対向する取り付け片を有し、当該取り付け片が、支持部材片の側面壁と重なっていることを特徴とする請求項1に記載の塵芥収集車。
【請求項8】
接合部には接続部材があり、当該接続部材の一端側には対向する取り付け片があり、当該接続部材の他端側には平板状の取り付け片があり、一端側の取り付け片と他端側の取り付け片は、一方が縦姿勢であり、他方が水平姿勢であることを特徴とする請求項1に記載の塵芥収集車。
【請求項9】
接合部においては、一方の支持部材片の端部近傍と他方の支持部材片の端部近傍が直接的に重なり合っていることを特徴とする請求項1に記載の塵芥収集車。
【請求項10】
一方の支持部材片の端部近傍と他方の支持部材片の端部近傍は、断面形状が溝状であり、一方の支持部材片の端部近傍と他方の支持部材片の端部近傍が重ねられていることを特徴とする請求項1に記載の塵芥収集車。
(【請求項11】以降は省略されています)
発明の詳細な説明
【技術分野】
【0001】
本発明は、塵芥等を収集して運搬する塵芥収集車に関するものである。
続きを表示(約 1,500 文字)
【背景技術】
【0002】
家庭から排出される一般ごみや、飲食店等から排出される生ゴミ等を収集する装置として、塵芥収集車が知られている。
塵芥収集車は、車両の上に塵芥収容箱が設置されたものである。
多くの塵芥収集車は、車両の車台(シャーシフレーム)に、複数の支持部材を介して塵芥収容箱が搭載されている。
例えば、車台に、サブフレームと称される第1支持部材が設置され、さらにその上に第2支持部材があり、当該第2支持部材に塵芥収容箱が搭載されている。
またロードセルが取り付けられた塵芥収集車が特許文献1に開示されている。
特許文献1に開示された塵芥収集車は、ロードセルが設けられているので、塵芥収容箱に収容された塵芥の重量を知ることができる。
【先行技術文献】
【特許文献】
【0003】
特開2012-188238号公報
【発明の概要】
【発明が解決しようとする課題】
【0004】
特許文献1の塵芥収集車では、ロードセルが、左右一対のサブフレーム上にそれぞれ設けられた左右一対のベースプレートを介して、車台(シャーシフレーム)上に固定されている。
特許文献1に開示されたサブフレームは、その全長に亘り延びる長い左右の縦フレームと、その両縦フレーム間を一体に接続する複数のクロスメンバとを有して梯子状に形成され、サブフレーム全体として長尺の大型部品となっている。
【0005】
ところがサブフレームの長さは、これが搭載される車両の全長に応じて変更する必要があり、そのため、車台(シャーシフレーム)の長さが異なる車両に対しては、それに応じて長さの異なる長尺のサブフレームを別々に製造する必要があり、互換性が低い。
【0006】
本発明は、従来技術の上記した問題に注目し、互換性が高く、各種の構造のシャーシフレームを持つ車両に適用することが可能な支持部材を備えた塵芥収集車を提案するものである。
【課題を解決するための手段】
【0007】
上記した課題を解決するための態様は、車台を有する車両部と、塵芥を収容する塵芥収容箱と、一又は複数の支持部材を有し、前記支持部材を介して前記塵芥収容箱が前記車台に搭載されている塵芥収集車において、前記支持部材の少なくとも一つは、支持部材片が車台の長手方向に接合されたものであり、少なくとも一つの接合部は、複数の部材が重なりあっていることを特徴とする塵芥収集車である。
【0008】
本態様の塵芥収集車で採用する支持部材は、支持部材片が車台の長手方向に接合されたものであり、接合する支持部材片を変えることによって支持部材の全長を変えることができる。そのため一つの支持部材片と接合する支持部材片を変えることによって、全長が異なる車台を持つ車両に適用することができ、互換性が高い。
また本態様で採用する支持部材においては、支持部材片の接合部は、複数の部材が重なりあっている。そのため本態様の支持部材は、支持部材片と他の部材との接合強度が高く、実用に耐える。
【0009】
上記した態様において、一方の支持部材片の端部近傍と他方の支持部材片の端部近傍の少なくとも一方は、断面形状が溝状又は環状であることが望ましい。
【0010】
本態様の支持部材片は、端部近傍の断面形状が溝状又は環状であるから、当該端部近傍の剛性が高い。そのため本態様の支持部材は、支持部材片と他の部材との接合強度が高く、実用に耐える。
(【0011】以降は省略されています)
この特許をJ-PlatPat(特許庁公式サイト)で参照する
関連特許
極東開発工業株式会社
連結車両
19日前
極東開発工業株式会社
塵芥収集車
今日
極東開発工業株式会社
塵芥収集車
4日前
極東開発工業株式会社
塵芥収集車
11日前
極東開発工業株式会社
塵芥収集車
11日前
極東開発工業株式会社
塵芥収集車
11日前
極東開発工業株式会社
塵芥収集車
11日前
個人
束ね具
28日前
個人
収容箱
4か月前
個人
コンベア
6か月前
個人
段ボール箱
8か月前
個人
ゴミ収集器
8か月前
個人
容器
10か月前
個人
段ボール箱
8か月前
個人
宅配システム
8か月前
個人
角筒状構造体
7か月前
個人
土嚢運搬器具
9か月前
個人
楽ちんハンド
6か月前
個人
バンド
3か月前
個人
テープ引出機
28日前
個人
包装容器
2か月前
個人
棒状体収容容器
1か月前
個人
廃棄物収容容器
4か月前
個人
お薬の締結装置
7か月前
個人
閉塞装置
11か月前
個人
コード類収納具
9か月前
個人
ゴミ処理機
10か月前
個人
把手付米袋
6か月前
個人
貯蔵サイロ
8か月前
個人
蓋閉止構造
5か月前
株式会社和気
包装用箱
10か月前
株式会社和気
包装用箱
1か月前
株式会社コロナ
梱包材
7か月前
個人
蓋閉止構造
5か月前
個人
積み重ね用補助具
4か月前
株式会社バンダイ
物品
2か月前
続きを見る
他の特許を見る